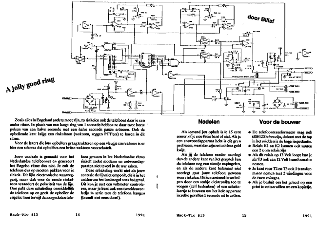
Hack-Tic 13