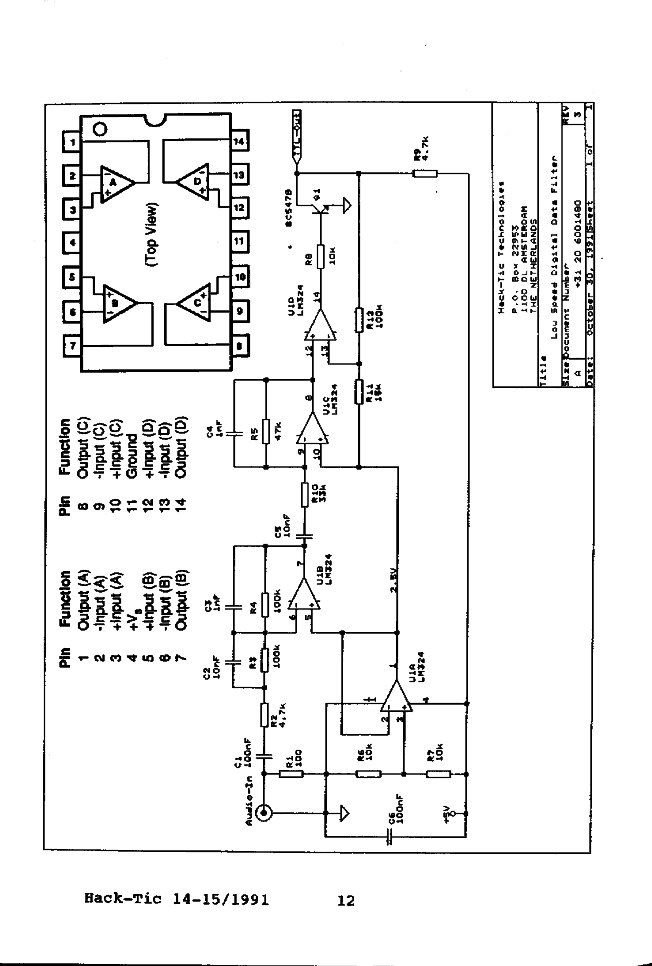
Hack-Tic 14/15