PoE (Power Over Ethernet)

Step By Step Hack Howto


WARNING: Don't try this unless you have some electric clue. 12v isn't going to kill you, but you may cause serious damage to your access point and other equipment. Don't blame me if something goes wrong. I'm not an eletrical engineering major, I'm just a networking guy who wanted cheap PoE modules, and decided to write about how I did it. Also there is no set standard (as of 03/19/02) as to which pairs get the positive power, and which pairs get the negative power. Measure your equipment carefully so you don't damage it.

PoE (Power over Ethernet) Introduction

A number of Access Point manufacturers (Lucent, Symbol) are now offering Power over Ethernet add-on's for their Access Points. A PoE module inserts DC voltage into the unused wires in a standard ethernet cable (pairs 7-8 and 4-5). The idea is to supply the AP's power and UTP ethernet connectivity requirements via a single ethernet cable. This works great in areas where you may not have power and/or ethernet easily accessible, like a roof. This also allows you to more easily place the AP closer to the antenna, thus reducing signal loss over antenna cabling. Ethernet signal travels well over CAT 5 cable; 2.4ghz signal doesn't do as well over antenna cabling. Also ethernet cabling is much cheaper than antenna (LMR-400) cabling. There are currently two types of PoE adapters: a module jack or hub-like device for multiple access points. The following hack creates a simple PoE module pair.


Supplies
Parts $                Tools
2 Port Wall Mount Module 11.00 Multi-meter
1 Port Wall Mount Module 8.00 Wire Cutters or Scissors
DC Male Plug 3.00 Electrical Tape
DC Female Plug 1.50 110 Punch Tool (Nice but not required)
RJ45 Crimpable Plug 0.50 RJ45 Crimping Tool
Short Ethernet Cable Scrap 0.00 Soldering Iron
Total
$24 Solder

The 12 volt Apple Airport and the UGate 3300 use a 2.5mm Inner Diameter and 5.5mm Outer Diameter Coax DC Power Jacks. Other Access Points may use different sizes. (Original Linksys WAP11 [5 Volt, 2 Amp] uses 2.1mm Inner Diameter, New Linksys WAP11 uses a 5.5mm Outer Diameter and 2.5mm Inner Diameter)

By using less expensive Wall Mount Modules (not CAT5 spec), or not using them at all, you can reduce the parts cost of this project.

Step by Step


   
1. Solder wires to the DC Male Power Plug. Solder one pair (2 wires twisted together) to the inner contact connection. This will be the positive power wires. Solder another pair to the outer-contact connection. Notice that on this DC Male Power Plug there are 3 connectors. One is for the center pin, one is for the outer surface, and one goes to the plug housing. You do not need to solder anything to the plug housing connector. This is what it should look liked when finished.
Soldered DC Male Coax Power Plug



New 2 Port Housing Opened

2. Drill a hole in your two-port mount housing. Mount the Male DC plug in the housing.

DC Plug Mounted in 2 Port Housing


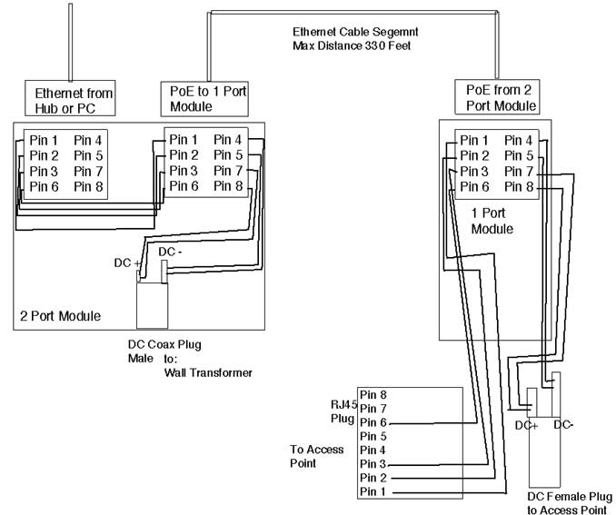
3. Connect the wires in your 2 port jack as follows (also refer to Diagram at bottom of page) [Note: this is the Intel, Symbol, Orinoco Standard, not the Cisco standard for wiring]:
Input Jack      Output Jack                  DC Plug
Pin 1     <->          Pin 1
Pin 2     <->          Pin 2
Pin 3     <->          Pin 3
                            Pin 4       <->        DC Positive Wire 1
                            Pin 5       <->        DC Positive Wire 2
Pin 6     <->          Pin 6
                            Pin 7       <->        DC Negative Wire 1
                            Pin 8       <->        DC Negative Wire 2

Finished 2 Port Wall Mount Jack


4. Wire the one port wall mount jack as follows: (Pictured below: Left DC Female Plug, Center RJ45 Crimpable Plug, Right 1 Port Wall Mount Jack)

Also refer to wiring diagram at bottom of page. [Note this is the Intel, Symbol, Orinoco standard for wiring, not the Cisco standard for wiring]
Output Plug     Input Jack      DC Plug
Pin 1      <->         Pin 1
Pin 2      <->         Pin 2
Pin 3      <->         Pin 3
                             Pin 4     <->          DC Positive Wire 1 -> Center Connector
                             Pin 5     <->          DC Positve Wire 2  -> Center Connector
Pin 6      <->         Pin 6
                             Pin 7     <->          DC Negative Wire 1    -> Outer Connector
                             Pin 8     <->          DC Negative Wire 2 -> Outer Connector
Finished 1 Port Housing Wiring

5. Plug in and Test


Both Jacks Open and Done.


Both Jacks Closed and Done


In Use

UGate 3300 and 250' Feet of Ethernet Cable Using PoE

Apple Airport Guts and 250' Feet of Ethernet Cable Using PoE

Another PoE Module Setup by Mike Cambell.

Using a Lucent 48 vdc phone power supply for the source power. The power supply came as a bundled pack of about 12 that came with the last switch we purchased. It just uses RJ11 to connect to the 4 port doghouse. We use Orinoco AP-1000's for our infrastructure so we buy the units that come with the PoE splitter. Another credit to making this was the fact that at the time, Lucent only offered the 6 and 12 port injectors. I've since noticed that PowerDsine has come up with a single unit. I imagine that Orinoco will be offering those in the future. -- Mike Campbell

Mike Campbell's PoE injector Module

Lucent 48 VDC phone power supply source that was used for the Orinoco AP-100's.


Bruce Kozlik's PoE hub. Uses a Lambda 50 Watt 48VDC supply, Siemon CT coupler and pannel. They were able to supply 4 access points, moint it all in a 1 rack unit.


Wiring Diagram [Note: This diagram reflects the Cisco Wiring model (positive power on pairs 7,8, negative power on pairs 4,5). Intel, Symbol, and Orinoco use the opposite (positive power on pairs 4,5, negative power on pairs 7,8)

If anyone would like to send me a better diagram, please do and I will replace my two-year-old-esque drawing. < terry-poe @ nycwireless dot net >

Testing and Results ( Updated 2001 August 24)

The following setup was tested with a UGate 3300 Access Point (Specs 12.0V/0.8A DC) and an Apple Airport Base Station (Specs 12.0V/1.2A DC). They both use the same DC plug.

Power- After having been contacted by many people, my power testing requirements were inadequate (I tested the voltage on an open circuit). I no longer have the PoE modules to test since they have been in a live installation working for 4 months now.

How you should test it: Measure the voltage across the AP's DC feed while it's operating.

The DC resistance of Cat5 is about three ohms per hundred feet per conductor, so for 250 foot cable had at least seven (7) ohms resistance. Most of the time the APs draw much less than 0.8A, so you were still above 6V at the AP. In fact, the access points are probably just using linear regulators down to 5V on their insides, so as long as you're giving them something better than 6V at the terminals they're likely to work, but at 500 feet they didn't because the voltage drop was too high once they started turning on. -- Scott Carter

Performance- A comparison test was made between using 250' Feet of Cat 5e Ethernet Cable and PoE, and a 3' Foot Cat 5 Ethernet Cable with no PoE. This test was done using both the UGate 3300 and Apple Airport Base Station.

Ping Times - There was no difference in ping times. All were <10ms.

Ping Floods - Ping flooding was done from a Linux host using the 'ping -f' command over a 10/100 switch. The UGate 3300 suffered 8% packet lost under both tests, while the Apple Airport Base Station suffered 1% packet lost under both tests (with and without PoE, and with and without 250' Feet of Cable). The PoE setup did not affect the amount of lost packets under ping flooding.

Conclusion- The maximum segment distance for Ethernet 10BaseT is 330 feet (100 meters) (specified in IEEE 802.3), so this PoE setup should work at the maximum segment distance with the stock voltage outputs of the DC transformers (depending upon your access point and DC transformer).

500 Feet of Cable Testing Addendum (2001 May 05)- This setup was additionally tested with 500 feet of CAT 5 cabling, 170 feet more than is allowed for ethernet specifications. The ethernet signal worked over the 500 feet of cabling at both 10baseT speed (Apple Airport) and 100BaseT (Ugate 3300) with no problems. The DC power however did have problems. Both access points would power up (i.e. the lights would come on), but they would not fully initialize and function. I don't really consider this a problem with this hack since your not supposed to use 500 feet of cabling for ethernet anyway.

Check the packaging, documentation, or the bottom of the device to find out how much current it draws. Usually it'll be between 50 and 90% of what the transformer can supply. (If the device ships with a 1500ma transformer, expect it to draw around 1200 at peak, and normal operating current should be around 1000.) These numbers are based on my experience alone. -- From email from "Myself"

You can fix this by using a higher voltage transformer to overcome the drop. Be careful! This is why I said to find the actual power draw of the device. You want to do all your testing using a large power resistor which draws approximately as much power as the device. When you've found the correct transformer voltage, doublecheck your polarity and try it with the device again. The caveat here is that your new transformer rating assumes the resistance that you tested it with. If you find a transformer that works over 500 feet of cable, and you run it over 100 feet, you've changed the resistance. Current draw (the device) is the same, but resistance has gone down, so voltage drop goes down. Ergo, the actual voltage reaching the device will go UP, and you might cook something. -- From email from "Myself"

Electrical Math (thanks to Ryan Cole for emailing this)

Wire gauge / Ohms per 1000ft
20 / 10
22 / 16
24 / 25
28 / 65

The TIA-568 spec which defines Cat5 (cat 3 as well) specifies that either one shall be no more than 9.38 ohms per 100 meters. Our testing of name brand Cat 5 says more like seven ohms per 100 meters, so 3 ohms per hundred feet is safe and conservative. -- Scott Carter

Ohms Law
E = IR (Volts = Amps x Resistance)

We'll say 22 Guage wire at 250 Ft under a 1 Amp load....
22 Gauge @ 250 Ft = 4 Ohms
E = 1 x 4 or E = 4 Volts
So basically you should expect 4 Volts consumed leaving you 8 volts at the AP end.

Lets do another situation... 28 Gauge over 50 ft at 2 amps....
28 Guage @ 50 ft = 3 Ohms
E = 2 x 3 or E = 6 Volts
So in this case you dissipate half your volts... could be bad, or if I calculate correctly, possibly worse...

6 Volts x 2 Amps = 12 Watts dissipated over the wire
12 Watts / 50 Ft = .24 Watts per foot

I would not expect that to start a fire outright, but you could use it to keep your pipes from freezing in the winter.

Using 2 pairs as you did in the example will halve the voltage drop--good idea.


From Bill Cherry: Vendor/Model Pins4,5 Pins7,8
--------------------------------------------------------------
Intel 2011B + 12/24 VDC - 12/24 VDC *
Symbol 4121 + 12/24 VDC - 12/24 VDC *
Cisco 350 Pwr Injector - 48 VDC + 48 VDC **


* Intel is rebrand of Symbol, these use the Bias T Pwr Injector by Symbol, standard 12 V power supply for up to 100', 24 V power supply for up to 350'
** No Load conditions


Credits



© 2001, 2002 NYCwireless. All rights reserved. NYCwireless™ is a registered trademark of NYCwireless