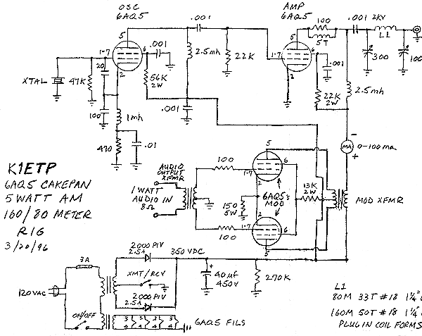
k1etppw.gif (23452 bytes)

k1etppwp.jpg (55805 bytes) Component values are given for the Amateur 160 and 80 Meter bands. This one should be able to hit the Broadcast Band and 40 Meters with some modifications.