CABLE DESCRAMBLER PLANS
BY E-MAIL(c)1997 Info-World
Presents
© 1997 Info-World, All Rights Reserved. This information may not be reproduced in any form without the express written permission of Info-World. Violators will be prosecuted to the fullest extent of the law.
And then struck by lightning L.
---------------------------------------------
"THE GRAND DADDY"
------------------------------------------------------------------
FOR THE GATED SYNC SUPPRESSED SYSTEM
THE CONTENTS OF THIS REPORT ARE FOR INFORMATIONAL AND EDUCATIONAL PURPOSES ONLY.
THE ILLEGAL USE OF THE INFORMATION CONTAINED IS STRICTLY FORBIDDEN BY LAW. I WILL ASSUME NO RESPONSIBILITY FOR THE ILLEGAL USE OF THIS INFORMATION.
THEORY
Before we get into the actual assembly steps, we should review the theory of gated
sync suppression so that you may understand descrambling it better. Any TV signal is a
complex combination of video as well as timing information. Your TV receiver sorts out
this information by sampling the level (in % of modulation) of the complex signal and
displaying a picture on the screen in relation to this signal. Figure 1 shows the scope pattern
for a normal TV signal. The high points of the signal are called sync pulses and represent
100% modulation, the next highest points are blanking pulses (about 75% modulation); the
lowest points represent the video portion of the signal and range from 12.5% to 70%
modulation. The center pattern in Figure 1 illustrates the scrambling wave which gates a variable gain amplifier or attenuator network to reduce the sync and blanking pulses. This reduction causes your scrambled signal because your TV set's timing circuits have no regular pulses to lock onto. Instead it now locks onto random video spikes because these spikes are the highest modulation peaks your set receives. This is illustrated in the bottom pattern of fig. 1. Some scramblers suppress both the horizontal and vertical pulses; others suppress only the horizontal. This descrambler will work on either system.

In order for a descrambler to work, it must receive decoding information. This
information is sent on a scrambling signal which is inverted and amplitude modulated
(AM) on a carrier of a particular frequency. This frequency is generally outside the
frequency band allocated to the cable companies. This scrambling signal is often referred
to as the pilot signal and the frequency it is on is referred to as the pilot frequency.
The standard pilot frequencies are listed in Chart A and are in order of most common at
the top to least common at the bottom. Your descrambler will work on any of these
frequencies but some capacitor values and the number of turns in the coils will vary depending on the frequency you wish to descramble.
DETERMINING YOUR PILOT FREQUENCY
The easiest way to determine your pilot frequency is to ask your local cable company. Unfortunately some cable companies consider this information top secret. Fortunately it is not difficult to determine your pilot frequency once you know what to look for and if you have some additional equipment. Of course you could take a chance and build your descrambler for the most common frequency (50.5 MHz) and hope that it is the one your cable company is using, and It is easy to change from frequency to frequency by changing coils and
several capacitors.
UHF CHANNEL PILOT FREQUENCY RELATION TO CABLE CHANNELS
(using block converter)
42 50.5 MHz This is 3.5 MHz below channel 2
53 114 MHz This is 6 MHz below channel A
49 93 MHz This is 27 MHz below channel A or 11 MHz above channel 6
50 99 MHz This is 21 MHz below channel A or 17 MHz above channel 6
52 110.5 MHz This is 10.5 MHz below channel A
52 108 MHz This is 12 MHz below channel A
CHART A
A better way to determine your pilot frequency is with a piece of equipment called a block converters which several companies offer for sale (list of companies included). These block converters will take the cable TV channels and convert them to the UHF band, They will also convert the pilot frequency to a UHF channel, which makes it easy to determine exactly what frequency it is. While watching the TV screen and tuning through the channels in the UHF band (those listed in chart A especially) you will find one which makes the screen go pure white. This will be your pilot channel (or frequency). Lets take a look at this a little closer. A pilot signal is a series of pulses not unlike a standard TV channel pulse. The difference is that there is zero video level between the pulses. Zero signal level on a TV signal corresponds to white on the TV screen. So this is what you see when you tune to the pilot frequency, a pure white screen. By noting what channel you have the TV set on when you get a pure white screen and by comparing this channel to the ones in Chart A you will know what the pilot frequency is. Once you know the pilot frequency, building your descrambler is a simple job.
DESCRAMBLER THEORY
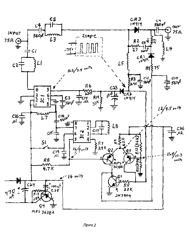
The operation of this descrambler is relatively simple. Refer to the schematic diagram in figure 2. The input signal contains all the cable channels plus the pilot signal and any other signals coming in on the cable. The combination of C5 and L3 is a simple parallel tuned circuit tuned to the pilot frequency. The combination of Cl, L1, and C2 is a notch filter tuned as follows: The combination of L1 and C2 in parallel is tuned from 4 to 6 MHz above the pilot frequency. At the pilot frequency this combination looks like an inductor and the value of C1 is chosen to resonate with this equivalent inductor presenting a low impedance path to the pilot frequency while presenting a high impedance to all other frequencies. As an example Assume the pilot frequency is 114 MHz. At 120 MHz (the carrier of channel A) a 12 pF capacitor has 111 ohms of reactance. We would choose this value for C2. The value of L1 necessary to resonate with C2 at 120 MHz is .147 uH. At 114 MHz this parallel combination has an equivalent inductive reactance of 1075 ohms. The value of C1 necessary to resonate with this inductor at 114 MHz is 1.3 pF, so we would choose a 1.5 pF capacitor for our final design. The pilot frequency then passes through the notch filter and into the input of IC1 which is an RF amp chip with AGC control. The output from IC1 then goes to the input of IC2 through a tuned circuit consisting of L7 and C15. IC2 is a low level video detector chip. IC 2 has an RF stage to which a filter consisting of L8 and C17 is added The resulting demodulated pulse train comes off pin 5 of IC2 and is fed to a differential amp consisting of Q2 and Q3. The output of the video detector is high enough to drive the differential amp from cut off to saturation. The collector of Q2 drives CR1 on and off and Q3 alternately drives CR3 on and off. Q1 prevents any current from flowing through CR1 when Q2 is off (note the low resistance load of Q2). When CR3 is on and CR1 is off, the RF signal passes from the input to the output with very little attenuation. When CR1 is on and CR3 is off, the signal must pass through the "T' attenuator circuit consisting of R1, R2 and R4. For the values of Rl, R2 and R4 used in the circuit, the result is a 6db attenuation. This attenuation occurs during the video interval between pulses and the output signal looks like a normal video signal. Also taken off the collector of Q3 is the AGC voltage for IC1. With the given values for R6, R14, and C23, the pulse level at the anode of CR2 is held at about 7.5 volts.
The builder has two options for the power supply. You can either use a 12 to 14 volt ac supply and diode D1, or you can use a 14 to 18 volt dc power supply in which case D1 may be omitted. Only about 20 ma of current is required by the circuit. Transistor Q4 along with R13 and C25 comprise an active filter which reduces AC ripple to less than 20 uv. The on-off switch S1 switches the B+ pin of IC2. When S1 is off, the output of IC2 (pin 5) is pulled high. Therefore, Q2 is off and CR3 is open and there is only a small (less than 1 dB) insertion loss for the descrambler.
ASSEMBLY
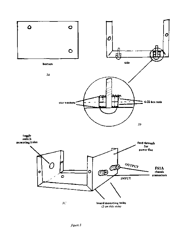
Before purchasing any components we recommend reading the complete assembly procedure and making a list of the components you will need for your pilot frequency. All you will need to construct your descrambler will be standard hand tools such as a drill, pliers, screwdrivers, wirecutters, etc. You will also need some 60/40 rosin core solder and a 25 to 40 watt pencil type soldering iron. Equipment wise, we recommend a high impedance multi-meter (a VTVM or DMM) and an oscilloscope although the device can be constructed and tuned without either piece of equipment. Before placing any parts on the board, prepare the chassis box to mount the circuit into. Figure 3 shows a cabinet made from either a Bud chassis box #CU2106B or an LMB box #136. Figure 3a shows the three bottom mounting holes, the position of these holes may be determined by placing the board on the bottom of the chassis and marking the position of the 3 large mounting holes at the corners of the board (be sure that the copper side of the board will be down when it is mounted in the box). Figure 3b shows the three mounting screws (3/4" x 6-32 round head machine screws). The two hex nuts are used for spacers and the star washers provide a good ground. The board, when finished, will be mounted copper side down on these screws and fastened with hex nuts on each screw. Cautions if your star washers are too large they may short one of the copper runners to ground.
Figure 3 shows the mounting position of the on-off switch S1, and the two F61A coax connectors. Note: the F connectors are on the end of the box with the two board mounting screws, and the switch is on the end with one mounting screw.
ASSEMBLING THE BOARD
Drill all component lead holes with a #60 drill (.040). Figures 4 through 8 show all the component parts and the proper placement on the board. In the figures you are looking at the top, or uncopper clad side. Be sure to place the part leads in the proper holes. For each figure there is a discussion and parts list describing the components for each pilot frequency and alternate components. Read and understand the material before purchasing any components. When inserting components be sure to keep the leads as short as possible and the components as close to the board as possible. For the chart below refer to figure 4.
Component Pilot Value Notes
C1 50.5 MHz 5pf a 4.7 pF is acceptable. solder a 100 ohm 1/4W resistor in series with one lead.
C1 90 to 114 MHzHH 1.5pF a 1.8 pF is acceptable
C2 50.5 MHz 24 pF +/- 10%
C2 90 to 114 MHz 12 pF +/- 10%
C3, C4, C8 ALL 560 pF 100 volt disc
C9, C10, C11 ALL 560 pF 100 volt disc
C5 50.5 MHz 200 pF Ceramic or Dipped Mica
C5 90 to114 MHz 82 pF +/- 15%
NOTE: The operating voltage of these capacitors need be only 25 volts Capacitors with higher operating voltages may be used but check the size and be sure you can fit them an the board. Solder the above components to the board. Be careful not to cover any unused holes. Clip off excess leads.
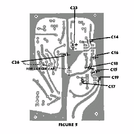
For the following chart refer to figure 5.
Component Pilot Value Notes
C14, C26 ALL .02 uF 25 to 100 disc
C16, C19 ALL .01 uF 25 to 100 disc
C23 ALL 10 uF 25 volt electrolytic, radial leads
C18 ALL 560 pF 100 volt disc
C15 50.5 MHz 56 pF Ceramic or Mica
C15 90 to 144 MHz 12pF +/-10%
C17 50.5 MHz 47 pF Ceramic of Mica
C17 90 to 144 MHz 6pF 6.8 usable with tuning of L8
Electrolytic capacitors are polarized. The polarity is marked on the capacitor with either a plus or minus sign or both. Be sure the polarity is correct as shown in the diagram. Reversing the polarity will not only damage the capacitor but could damage other components as well. Solder the above components being careful not to cover unused holes. Clip off excess leads.
For the following refer to figure 6. In figure 6 the placement of all the resistors is shown. All resistors are 1/4 watt 5% tolerance. The values are shown on the figure next to the component number, most resisters are color coded. If you are unfamiliar with the color code, we urge you to refer to any basic electronics book. The resistor values are the same for all pilot frequencies. Solder the resistors in place being careful not to cover any unused holes. Clip excess leads.
Refer to figure 7 for the following. Figure 7 shows the placement of the coils and diodes. All the coils for this device are air core and wound so that if you look down the axis of the coil and traverse the turns clockwise, the pitch of the coil will be towards you. This is shown in the diagram below. All coils are wound with copper enamel wire. The enamel must be stripped off the leads of the coil in order to solder the coil to the board.

Note also that the coil data states a number of turns plus 1/2. As shown in the drawing, the turn count starts where the coil first bends. The 1/2 turn merely assures that both leads will face the same direction for easy insertion. We recommend winding the coils on the butt end of a drill bit of the proper diameter. All coils are wound close(no spacing between the turns) although if they do expand it is not critical at this time. Also in figure 7 the diodes (D's or CR's) are shown. The drawing below shows the symbol for a diode and a representation of what a real diode looks like. The diode polarity is critical. The bar on the real diode corresponds to the bar on the diode symbol as shown.

Component Pilot Value Characteristics Notes
C24 ALL 470 uF 25v electrolytic Be sure polarity is correct.
C25 ALL 100 uF 25v electrolytic Be sure polarity is correct.
D1 ALL 1N4001 or equivalent
CRl, CR2, CR3 ALL 1N 914 or 1N4148
L4, L5 ALL 32 1/2 turns #24 -
copper enamel wire with 1/8 " inside diameter
Remaining coils are wound with #22 copper enamel wire with a 3/16"diameter unless specified.
L3 50.5 MHz 3-1/2 turns
L3 105 to 114 MHz 1-1/2 turns
L3 90 to 105 MHz 1-1/2 turns, 7/32" inside diameter
L1 50.5 MHz 13-1/2 turns
L1 105 to 114 MHz 6-1/2 turns
L1 90 to 105 MHz 7-1/2 turns
L7 50.5 MHz 8-1/2 turns
L7 105 to 114 MHz 5-1/2 turns
L7 90 to 105 MHz 6-1/2 turns
L8 50.5 MHz 8-1/2 turns
L8 105 to 114 MHz 8-1/2 turns
L8 90 to 105 MHz 9-1/2 turns
Next insert the jumper wire shown in figure 7. This can be a clipped off lead from a previously inserted component, Solder the above components to the board at this time. Clip all excess leads. The input-output and switch wires are now connected. These can also be clipped off leads from other components. Just make sure they will be long enough to reach the coax connectors and switch.
Refer to figure 8 for the following. The transistors and IC's are inserted and soldered in this step. We sincerely recommend using transistor and IC sockets for mounting these components to avoid heat damage from soldering but they may be soldered in place if a heat sink and care in taken. In either case be sure to place the correct leads in the holes to be soldered or in the transistor socket holes. Transistors have three leads labeled E, B and C. These may be written on the transistor itself or on the package the transistor comes in. IC's generally have a circle or notch on one side indicating pin # 1. Be sure the circle or notch is in the position as shown in the diagram.
Component Part Replacement
Ql 2N3904 see any replacement guide
Q2, Q3, Q4 MPS3638A ECG 159
IC1 MC1350P ECG 746 or GEIC 217
IC2 MC1330AIP ECG 747 or GEIC 21 8
The board is now complete and should be inspected carefully. If no mistakes are found. you may proceed with the following steps for mounting the board.
1. Insert the power supply wires through the hole in the cabinet (see figure 3c), pull them through just far enough to reach the circuit board and either knot them at the hole or put a strain relief on at the hole. The ends of the wires can be stripped and inserted in the board as shown in figure 8. Note: there are two connection points on the board depending on whether you have an AC or DC power supply. If you have a DC supply, be certain that the polarity is correct. Do not use voltages in excess of 22 volts DC or 16 volts AC.
2. Put a piece of tape ever the edge of the lower left corner of the board and C24 to prevent a short when the top is put an the box.
3. Mount the board on the mounting screws and secure it with three 6-32 nuts.
4. Solder the switch and input and output leads to their respective terminals. The input and output leads should be an short as possible. Connect them to the center terminals of the F61A connectors.
The unit is complete and ready to tune. Hook the unit up to the cable system as shown below. Be sure to got the cable companies permission before proceeding with this step. Note: the unit precedes the converter or TV set. You will need a jumper cable with F59 connectors on each end. Be sure the input and output is correct.

TUNE UP PROCEDURE
Before tuning you may wish to check your power supply voltage between C24 (+) and the cabinet. This voltage should be a little less than the voltage across the capacitor itself. With the descrambler hooked up and the power supply on and the switch in the on position. you can begin tuning. Any splitters or FM traps on the line should be removed as they attenuate the signal somewhat and make tuning difficult.
CRUDE TUNING METHOD
This tuning method requires no equipment but the resultant picture quality is still good. If the unit is moved to a new location retuning may be required. Tuning consists of simply expanding and contracting the coils of L8, L7, L1 and L3. Use a non magnetic adjusting tool such as a tooth pick or plastic tuning tool. First turn the TV to a channel other than the premium channel. Expand L8, L7 and L1, in that order, while watching the picture. When horizontal bars begin to move across the screen, then you may have locked onto the pilot signal pulses. Turn to the premium channel and see if it locks. If it does, continue tuning until you get a nice clean picture. If it doesn't lock, then you have tuned to a TV channel and the coils will probably have to be compressed. Not all the coils will need as much expanding and It may take several tries to find the pilot. L3 is not tuned with this method as it is too insensitive.
ADVANCED TUNING METHOD
The difference between the advanced and the crude method is one additional piece of equipment, a variable attenuator. The one by Winegard, model VA-87, has been used successfully. It can be purchased from most shops that sell TV antennas. The attenuator is connected in the line ahead of the descrambler and initially tuned to the minimum attenuation position. The descrambler is tuned the same method as described above. The attenuator is then turned to higher attenuation levels until the premium picture stops locking. The descrambler is again retuned to lock the picture. This time L3 may have to be tuned. After a clean picture has again been restored, the attenuator is again turned up and the descrambler tuned again. Continue this process until the descrambler can no longer be tuned any better. With this method, attenuation levels as high as 16 dB can be achieved.
EXPERT TUNING METHOD
The expert method uses both an attenuator and an oscilloscope. The method is the same as the advanced method except instead of watching the picture on the TV set, you watch the actual pulse train on the scope. Connect the scope to the anode of CR2. Tune the descrambler coils until you achieve nice straight clean pulses increasing the attenuation as needed. Attenuation levels as high as 24 dB can be achieved with this method.
Problem Probable Causes
There is voltage across C24, but not across C26 Q4 open
The picture locks, but waves move across the screen. Q4 shorted
Pulse train present at anode of CR2, but no effect on picture. CR3 shorted. Bad soldered bridge in attenuation section.
The picture is dark and doesn't lock well. CR1 open or CR3 leaky, Q1 may be bad or in wrong.
Large number or vertical lines across screen. Bad solder joint in
attenuator network
Box tunes, but one coil must be excessively compressed. Bad solder joint or bad cap in tuned circuit with coil.
Box seems to do nothing, but scope shows pulses at Bad or improperly soldered pin 5, IC2. transistor in differential
amp, or shorted CR3.
Difficult tuning. Unstable picture. Excessive heating of ICl. Bad component in AGC network. Check CR2,
C23, C14 and R14.
Note: The schematic diagram (figure 2) shows S1 off/on voltages at key points. These can be a great help in trouble shooting. The values are based on a 16 volt operating voltage and vary from unit to unit somewhat. When making voltage measurements use only a high impedance meter and be very careful not to short any two points of the circuit together with the meterprobe.







PCB LAYOUT

