8. Evaluation of Chemical Analyses

8.1. Test Sample Taking and Description

As far as I am aware, test samples from buildings at Auschwitz have been analyzed by four persons or groups so far.[499]

  1. Fred A. Leuchter, Consulting Engineers, Boston, MA, on behalf of the defense of E. Zündel, Toronto. F.A. Leuchter marked the locations where he took samples from crematoria in maps of these buildings drawn by himself and reproduced in his expert report. Only Leuchter's samples taken from morgue 1 ('gas chamber') of crematorium II are reproduced in the sketch below (Fig. 67). There is also a video establishing Leuchter's sample taking locations.[500] J.-C. Pressac has subjected the sample taking to criticism.[45] Leuchter failed to indicate a more exact specification of the sample material; the designation is "brick" in all cases. The sample taking was done without regard for depth. From the traces left by Leuchter in the corresponding places in the masonry, one must calculate sample taking depths of up to 3 cm and more.
  2. Prof. Dr. Jan Markiewicz, Jan Sehn Institute for Forensic Research, Toxicology Department, Cracow, on behalf of the Auschwitz State Museum. J. Markiewicz provides more exact data on the sample taking locations, the type of material, and the depth taken in a sample taking records. The control samples were taken from a disinfestation chamber in the Auschwitz main camp, the interior walls of which, according to the report, were painted during the war, so that only a pale blue tint is visible in places. This is not, therefore, unaltered masonry material; thus, in case the samples were taken from the upper layer of the wall only, one has to expect lower results in comparison to an untreated wall.[56],[57]
  3. Dipl.-Chem. Germar Rudolf, Stuttgart, Germany, on behalf of the defense of the late Major General O. E. Remer. The samples were taken in the presence of witnesses by hammer and chisel and immediately sealed in a plastic bag. The subsequent numbering of the bags was recorded by hand, including the measured sample taking location and type of sample. Table 19 shows buildings, sample taking locations and depths, as well as a brief description of the wall material. The exact locations are shown in the sketch of the corresponding buildings in chapter 5 of this book.
  4. John C. Ball, Ball Resource Services Ltd., Delta, BC, Canada. John C. Ball has not given any details about where exactly he took his samples, nor what kind of material it was. According to his own description, at least the samples from the delousing rooms of BW 5a and BW 5b consist of a mixture of material taken at various places of these rooms, both inside and outside. Hence, the same might be true for his other samples. For this reason, we will only briefly list Ball's analyses results here without going into too many details about how they are to be interpreted.

8.2. Analytical Methods

The analyses were performed in each case respectively by:

  1. Prof. Dr. J. Roth, Alpha Analytic Laboratories, Ashland, Massachusetts. For the cyanide analysis, this laboratory used a procedure carried out analogously to the German standard (see 3.).[501] Control analyses were prepared for some test samples near the detectable threshold of 1 mg cyanide per kg test material. The results fluctuated up to 40%.
  2. Jan Sehn Institute for Forensic Research, Toxicology Department, Cracow, Poland, under Jan Markiewicz. The Polish Scientist used the micro-diffusion chamber procedure, which does not permit the detection of Iron Blue.[502] The detection threshold for other cyanides lies at 10 µg per kg sample material.
  3. Fresenius Institute, Taunusstein, Hessen, Germany, with no knowledge of the origins of the samples. Proof of the presence of cyanide was produced in conformity with DIN 38 405, section D 13. The detection threshold lies nominally in the range from 0.5 to 0.1 mg per kg.[503] All values below 0.5 mg per kg are uncertain, and are commonly marked as "not proven". Control analyses were performed by the Institut für Umweltanalytik Stuttgart, IUS (Institute for Environmental Analytics) (Table 20).
  4. Unknown. However, the results indicate that the method used was similar to the one used by Leuchter/Roth and Rudolf/Fresenius.

8.3. Evaluation of Analytical Results

8.3.1. F.A. Leuchter/Alpha Analytic Laboratories

Fig. 67: Sketch of morgue 1 ('gas chamber') of crematorium II in Birkenau with test sample taking locations by F.A. Leuchter:[26]

  • Samples 1,2,3,5 from Masonry;
  • Sample 4 from the ceiling;
  • Sample 6 from the pillars;
  • Sample 7 from the debris on the ground.
  • All of Leuchter's positive findings from the alleged homicidal 'gas chamber' lie in the vicinity of the 'official' detection threshold (1 mg per kg) and must be expected to exhibit very high fluctuations. Control sample no. 32 is from the disinfestation wing of Building 5a (which Leuchter calls "disinfestation chamber 1"). The foundations of crematoria IV and V are alleged to have been rebuilt from the rubble of other buildings (see chapter 5.4.2). Thus, the analyses of samples originating from these walls are nevertheless interesting, due to their positive findings in places.

    That the analytical values of samples from areas protected from environmental influences are just as low as results from exposed locations, or not detectable at all, led Leuchter to the conclusion that the environmental influences could not have considerably reduced the cyanide content of the exposed buildings,[504] which would be in accordance with the findings in chapter 6.6. According to Leuchter, low cyanide traces may have resulted from an isolated fumigation of the morgues for pest control, since interior disinfestations were carried out in many camp buildings at that time. The positive result (1.3 mg per kg) of Sample 28, which Leuchter took from the partition of the former washroom to the dissecting room of crematorium I, a wall which never formed part of the alleged 'gas chamber' and moreover was probably newly erected during the conversion to an air raid shelter, is remarkable. This result, approximately as high as the rest of the samples (including those from the foundation walls of crematorium IV and V, built of unknown material) may largely be explained by three factors:

    1. Cyanide traces of this minimal order of magnitude may be present anywhere, which is, however, improbable.
    2. This air raid shelter, like all rooms in Auschwitz-Birkenau, was occasionally fumigated with Zyklon B for disinfestation purposes.
    3. Analytical values in this order of magnitude (near the detectable threshold) are not reproducible and therefore cannot be interpreted due to the limited efficiency of the method. They are equivalent to zero values. In view of the results to be discussed below, this reason appears the most probable.

    Table 17: Cyanide concentrations in the masonry of 'gas chambers'/disinfestation chambers

    According to F.A. Leuchter/Alpha Analytic Laboratories, Ashland, Massachusetts, USA

    Test sample no.

    Sample taking location

    CN-[mg per kg]

    1-7

    Crematorium II, morgue 1

    0.0

    8

    Crematorium III, morgue 1

    1.9

    9

    Crematorium III, morgue 1

    6.7

    10,11

    Crematorium III, morgue 1

    0.0

    12

    Door sealing

    0.0

    13,14

    Crematorium IV

    0.0

    15

    Crematorium IV

    2.3

    16

    Crematorium IV

    1.4

    17-19

    Crematorium IV

    0.0

    20

    Crematorium IV

    1.4

    21

    Crematorium V

    4.4

    22

    Crematorium V

    1.7

    23,24

    Crematorium V

    0.0

    25

    Crematorium I, morgue

    3.8

    26

    Crematorium I, morgue

    1.3

    27

    Crematorium I, morgue

    1.4

    28

    Crematorium I, wash room

    1.3

    29

    Crematorium I, morgue

    7.9

    30

    Crematorium I, morgue

    1.1

    31

    Crematorium I, morgue

    0.0

    32

    Disinfestation chamber 1

    1,050.0

    The morgue of crematorium I and morgue 1 of crematorium II are alleged to have been homicidal 'gas chambers'.

    According to Bailer, the high cyanide content of the control samples taken by Leuchter in the disinfestation wing is to be attributed either to an artifact, an error in the sample taking, or an analytical error. He understands an artifact to mean that the wall of the disinfestation wing was painted with blue paint, precisely, an Iron Blue paint, at an earlier time. Bailer further expresses the opinion that no Iron Blue could form in the masonry material due to the alkaline environment. In addition, the high cyanide content of 1,050 mg per kg is said to mean that the walls consist 0.1% of pigment, which in his opinion could not possibly be true.[505]

    As shown in chapter 6.5., the environment is only alkaline in the non-carbonated masonry. It was also established that an alkaline environment even supports the accumulation of cyanide and certain other steps in the reaction towards the formation of Iron Blue. If one assumes, as an extreme case, a complete conversion of all iron compounds contained in the masonry into pigment (1 to 2% iron content), the values found by Leuchter are even rather low. Whether the walls of the disinfestation wing were painted blue, i.e., whether a high cyanide content can only be found on the upper, i.e., the paint layer of the wall, will be discussed at a later time.

    Pressac opines that the low cyanide traces in the masonry of the crematoria are the final proof of the existence of the 'gas chambers,' since they are still detectable today after what was, in his opinion, a short exposition time and low reactivity of hydrogen cyanide on cool masonry and despite corrosion and erosion.[506] He furthermore expresses the opinion that warm walls would be necessary for the formation of the pigment.[507] Just how unrealistic this opinion really is, has already been shown: Firstly, the pigment formed is durable (chapter 6.6.); secondly, cool and moist walls have a higher reactivity to pigment formation than dry and warm walls (chapter 6.5.); thirdly, Leuchter's Sample no. 28 proves that the cyanide traces are not caused by homicidal gassings.

    8.3.2. Institute for Forensic Research, Cracow

    The analytical values shown in Table 18 were never published by the Jan Sehn Institute. They only became public knowledge due to an act of indiscretion. The results appear to suggest that the alleged 'gas chambers' exhibit either no cyanide residues at all or values which are clearly lower than those found in samples taken from the disinfestation chambers. The scientist responsible, Prof. Markiewicz, writes about the chemistry involved:[56]

    "Hydrogen cyanide is a weak acid, which has the result that its salts decompose slightly in the presence of stronger acids. One of these stronger acids is carbonic acid, which arises from the reaction between carbon dioxide and water. [Even] stronger acids, such as, for example, sulfuric acid, decompose cyanide even more easily. Complex compounds with cyanide ions with heavy metals are more durable. Among such compounds is the already mentioned 'Prussian Blue' [=Iron Blue], but even this decomposes slowly in an acid environment.

    One could hardly expect, therefore, that building materials (plaster, brick) exposed to environmental influences (precipitation, acid oxides, especially sulfuric and nitric monoxide) would contain derivative compounds of cyanides after a period of 45 years."

    This contradicts the facts established above, and so to repeat:

    1. Carbon dioxide is only slightly soluble in water and hardly forms carbonic acid in water at all, and therefore the cyanide salts cannot "decompose" (see chapter 6.5.4.1. and note 349; actually, the water is responsible for the decomposition);
    2. Iron Blue (Prussian Blue) is extraordinarily stable in acids and is not destroyed by the influences of weathering, even over decades (chapter 6.6.).

    Table 18: Cyanide concentrations in the masonry of 'gas chambers'/ disinfestation chambers

    According to the Jan Sehn Institute for Forensic Research, Department for Toxicology, Cracow, Poland, data in mg per kg

    No.

    Building

    Sample taking location and -depth

    Material

    CN-

    1

    Disinfestation Block 3

    Room 4, around the ventilator opening, 2 mm

    Plaster

    0.068

    2

    Disinfestation Block 3

    Room 4, next to doors to Room 3, 2 mm

    Plaster

    0.036

    7

    Disinfestation Block 3

    Room 3, below window, opposite, 2 mm

    Plaster

    0.076

    8

    Disinfestation Block 3

    Door opening between Room 2 and 1, 2 mm upper left

    Plaster

    0.140

    9

    Disinfestation Block 3

    Like Nr. 8, lower left

    Plaster

    0.404

    10

    Disinfestation Block 3

    Room 1, Ventilator opening, 2 mm

    Plaster

    0.528

    11

    Disinfestation Block 3

    Like 10, light blue

    Plaster

    0.588

    15

    Crematorium II, morgue 1

    Concrete support columns

    Plaster (?)

    0.024

    4 additional samples from crematorium II, 1 from crematorium I, 1 from crematorium V, in each case an alleged 'gas chamber', and 2 control samples contained demonstrable traces of CN-.

    In a private exchange of correspondence with Werner Wegner, Prof. Markiewicz displayed his ignorance once again:[508]

    "VIII. Water activates many chemical processes. The chambers were certainly moist. What kind of influence this exerts upon the binding of HCN by cement (wall plaster)-is unknown to us. [...]

    IX. The blue stains on the exterior walls of Building 5a are not easily explained. Above all, we must examine whether or not it is actual Berlin Blue [=Iron Blue...]"

    In a later study, these authors published additional analysis results of samples taken later, using the same analytic method. According to these analyses, the cyanide concentration of samples taken in a disinfestation chamber and in alleged homicidal 'gas chambers' were in the range of 0.0 to 0.8 and 0.0 to 0.6 mg/kg, respectively. This study also discussed the selection of the analytical method.[57] This was said to have been selected because the authors could not imagine how blue iron cyanide compounds could form in the masonry:

    "It is hard to imagine the chemical reactions and physicochemical processes that could have led to the formation of Prussian blue in that place."

    They furthermore assume, together with J. Bailer,[52],[54] that the blue pigmentation of the disinfestation chamber walls could be due to a coat of paint. To exclude this pigmentation from the analysis, they decided to apply a method which is insensitive to iron cyanides.

    An exchange of correspondence with myself in 1995 once again revealed the general incompetence with which the Polish researchers approached this set of problems.[58],[59]

    A more detailed discussion of the Polish findings appears in chapter 8.4.2.

    8.3.3. G. Rudolf/Fresenius Institute

    Only a few samples were taken from the alleged homicidal 'gas chambers.' Care was taken to ensure that samples were only taken from material not exposed to weathering. Only a few places in morgue 1 (the alleged 'gas chamber') in crematorium II at Birkenau, where a pillar supports the roof even today and has therefore visibly protected both the underside of the roof and parts of the wall from all influence of weathering, exemplified by the deposition of spider webs many years old and the absence of any trace of lime precipitation on the concrete or mortar, which would be caused by rain water.

    Many samples have already been taken from the alleged 'gas chambers' by the Cracow team and Leuchter, all with at least nearly negative results. Since it was above all a matter of clarifying the question of which circumstances favor the formation of pigment and since clearly positive findings were not to be expected according to the analyses performed in the alleged 'gas chambers' thus far, the sample gathering took place chiefly in the disinfestation chambers of Buildings 5a and 5b in construction section Ia and/or Ib. It is known that their walls not only contain large quantities of pigment, but that their age also corresponds approximately to that of the crematoria on the same location, which cannot be said of the buildings in the main camp. The age can, but need not, have an influence on the chemistry of the wall materials. Furthermore, these buildings are not so much in the spotlight of the museum activity as those in the main camp, and therefore rather permit hope of an absence of subsequent building alterations.

    Finally, samples were taken from a few inmate barracks to examine Leuchter's argument that low cyanide traces could also result from a few fumigations for pest control. The numbering of the barracks corresponds to those found on the barracks today.[509] See also, in this regard, Fig. 12.

    8.3.3.1. Samples 1-4: Crematorium II, Morgue 1

    On the taking of samples 1 to 3, see Figure 26 (page 92). An extremely high concentration of cyanide on the surface of the material must generally be expected. To investigate this, sample 1 contains, principally, concrete prongs from the ceiling/underside of the roof (caused by wooden planking), that is, the most exposed part of the concrete, as well as material from the uppermost layer of concrete, 1 to 2 cm thick, including a piece up to a depth of approximately 3 mm.

    Sample 2 contains concrete to a depth of 5 mm, taken from the place at which the piece extending inward up to a depth of 3 mm was obtained in sample 1.

    Separation between material from the topmost layer (Sample 1) and lower layers (Sample 2) was not entirely possible due to the extreme hardness of the concrete.

    Sample 3 is a harder plaster, obviously rich in cement, extending to the first row of bricks.

    Sample 4 originates from the plaster of the concrete beam in the chimney wing (rubbish incineration) of crematorium II. It is only interesting as a blind sample in addition to the others.

    The results lie in the same order of magnitude as Leuchter's positive findings from other alleged 'gas chambers', although Leuchter had no positive results in samples from morgue 1 ('gas chamber') of crematorium II. The difference between Samples 1 and 2 may indicate that a depth profile is actually prevalent in the concrete. Table 20 shows a list of control analyses. Sample 3 mentioned above with a low positive result of 6.7 mg/kg now has a value below the detectable threshold (0.5 mg per kg). This confirms the statement made in chapter 8.2. that values near the detectable threshold are not reproducible.

    Table 19: Cyanide concentrations in masonry of 'gas chambers' / delousing chambers
    Concentration values in mg per kg; %Fe: Portion of total iron content converted to Iron Blue, assuming that all detected cyanide was present as Iron Blue.
    According to G. Rudolf/Institut Fresenius, Taunusstein, Hessen, Germany

    No

    Building

    Sampling location and depth

    Material

    c[CN-]

    c[Fe]

    %Fe

    1

    Crema II

    Morgue 1, ceiling, between 2. and 3. supporting pillar from the south, removal of material from a broad area, concrete drips incl. a small piece of deeper material, 0-3 mm.

    Concrete

    7.2

    13,000

    -

    2

    Crema II

    as 1, 1-5 mm.

    Concrete

    0.6

    20,000

    -

    3

    Crema II

    Inner side of western wall of morgue 1, 0-1,5 cm, see Figure 43 (page 119).

    Plaster

    6.7

    10,000

    -

    4

    Crema II

    Inner side of the northern wall of the chimney wing, garbage incineration, 0-1 cm.

    Plaster

    0.1

    11,000

    -

    5

    B1b Barrack 20

    Wall separating berth, underneath the crossing beam of one bed in the large room, 2nd row of berths from the entrance, first berth to the right (separating wall), ca. 5 · 5 · 5 cm3 big.

    Plaster

    0.6

    9,400

    -

    6

    B1b Barrack 20

    Separate room in the west, interior wall, mortar between bricks, 0-1 cm.

    Mortar

    <0.1

    4,400

    -

    7

    B1b Barrack 20

    as 6, at the entrance directly to the right, 0-1 cm.

    Plaster

    03

    19,000

    -

    8

    B1b Barrack 13

    as 5, behind beam rest.

    Plaster

    27

    11,000

    -

    9

    B1a BW 5a

    Inside of external wall (West), 120 cm from northern wall, 155 cm from the floor, 0-2 mm.

    Plaster

    11,0000

    12,000

    75

    10

    B1a BW 5a

    Internal wall (south), 240 cm from western wall, 170 cm from the floor, 0-2 mm.

    Plaster

    36

    10,000

    -

    11

    B1a BW 5a

    as 9, 1-10 mm.

    Plaster

    2,640.0

    6,000

    36

    12

    B1a BW 5a

    Eastern wall (inside), 170 cm from northern wall, 170 cm from floor, (eastern hot air chamber), 0-2 mm.

    Plaster

    2,900.0

    8,500

    28

    13

    B1a BW 5a

    as 12, 2-10 mm.

    Plaster

    3,000.0

    9,000

    27

    14

    B1a BW 5a

    Outside western wall, 40 cm from southern wall, 160 cm from the ground, 0-5 mm.

    Brick

    1,035.0

    25,000

    3.5

    15a

    B1a BW 5a

    Outside southern wall, 40 cm from western wall, 210 cm from the ground, 0-3 mm.

    Mortar

    1,560.0

    10,000

    13

    15b

    B1a BW 5a

    as a, > 0-5 mm, with pigment layer removed.

    Brick

    56.0

    n.b.

    -

    15c

    B1a BW 5a

    as b, removed pigment layer, < 1 mm.

    Brick

    2,400.0

    n.b.

    -

    16

    B1b BW 5b

    Outside southern wall, 2 m from entrance door, 1 m from the ground, 0-7 mm.

    Brick

    10,000.0

    47,000

    17

    17

    B1b BW 5b

    Inside southern wall, 130 cm from eastern wall, 130 cm from the floor, 4-10 mm.

    Plaster

    13,500,0

    15,000

    74

    18

    B1a BW 5a

    Floor area of door post of hot air delousing chamber, eastern chamber, pointing to the main wing, 0-5 mm.

    Wood

    7,150.0

    n.b.

    -

    19a

    B1b BW 5b

    Inside northern wall, 230 cm from eastern wall, 90 cm from the floor, 0-4 mm.

    Plaster

    1,860.0

    4,300

    35

    19b

    B1b BW 5b

    as 19a, 4-8 mm.

    Plaster

    3,880.0

    9,500

    33

    20

    B1a BW 5a

    Inside exterior wall (west), 40 cm from southern wall, 210 cm from the floor, 0-3 mm.

    Plaster

    7,850.0

    11,000

    59

    21

    B1a BW 5a

    Interior wall (east) from western wall, 30 cm from door, 190 cm from the floor, 10-50 mm.

    Mortar

    0.3

    18,000

    -

    22

    B1a BW 5a

    Inside of exterior wall (south), 40 cm from western wall 155 cm from the floor, 3-10 mm.

    Plaster

    4,530.0

    11,000

    34

    23

    B1a Barrack 3

    Special room northwest, inside exterior wall (north), 0-5 mm.

    Plaster

    0.3

    8,100

    -

    24

    B1a Barrack 3

    Main room inside exterior wall, (north), 0-5 mm.

    Mortar

    0.1

    13,000

    -

    25

    Experiment

    Untreated brick, 0-5 mm.

    Brick

    9.6

    35,000*

    -

    26

    Experiment

    16 h in 0.3 vol.% HCN, 0-5 mm, see text.

    Brick

    0.1

    35,000*

    -

    27

    Experiment

    24 ¾ h in 2 vol.% HCN, +1 g H2O, 20 mm, 100 g.

    Cement Mortar

    109**

    8,800*

    1.0

    28

    Experiment

    as 27, without added H2O, 108 g.

    Cement Mortar

    94**

    8,800*

    0.9

    29

    Experiment

    as 28, 94 g.

    Lime Mortar

    53**

    4,500*

    1.0

    30

    Experiment

    as 28, + 2g H2O, 96 g.

    Lime Mortar

    58**

    4,500*

    1.1

    CN- values between 0.1 and 0.5 mg/kg are considered uncertain (NN); n.d.=not determined; *=own analyses; **= Institut für Umweltanalytik, Stuttgart (IUS).

    Original analyses results of Institut Fresenius. Click to enlarge.

    8.3.3.2. Samples 5 to 8 and 23, 24: Inmate Barracks

    Table 20: Analysis results from the Institut Fresenius and the Institut für Umweltanalytik, Stuttgart (IUS)

    In both cases the cyanide demonstration took place according to DIN 38405/D13. Data in mg CN- per kg.

    Sample

    Sample taking location

    Fresenius

    IUS

    3

    Morgue 1 ('gas chamber'), crematorium II, wall plaster 0-1.5 cm

    6.7

    < NG

    8

    1b barracks 13, partition wall of berth, 3-5 cm

    2.7

    < NG

    11

    B1a, building 5a, interior side of exterior wall (west), 1-10 mm

    2,640.0

    1,430*

    25

    Untreated brick

    9.6

    9.6

    26

    3 additional samples of fumigated brick

    -

    <NG*

    * This sample was examined according to DIN 35 405/D14. Here in contrast to D13 no cadmium salt was added. Nothing is known as to the effects on the results. Demonstrable threshold (NG) in each case 0.5 mg per kg.

    Samples 5 and 8 are from a large lump of plaster a few centimeters thick taken from the large room of the respective barracks (see Table 19, p. 254). A depth profile was not drawn up; the values must therefore be viewed as average values. Samples 6 and 7 are from the special room located at the west end of these barracks. Samples 23 and 24 are from the exterior wall of the large room of a third barrack.

    Quantities of cyanide on the order of magnitude of those found by Leuchter in the alleged 'gas chambers' can apparently also be found in the wall material of the inmate barracks. This is indicated by the results of Sample 8. All others are also positive, but notably lower. In this case as well, the control analysis (Table 20, p. 258) failed to yield reproducible results.

    8.3.3.3. Samples 9 to 22: Disinfestation Building

    With regards to the sample taking locations of the individual samples, see Figs. 17f. Judging from the consistency, the material used to build the brick walls of buildings 5a and 5b is a mortar rich in sand but extremely poor in cement (extremely crumbly), covered with a lime mortar plaster.

    Building 5a: What is remarkable about the outside of the exterior walls of the disinfestation chamber of BW 5a is that, in places, it exhibits blue bricks and mortar joints (see 68, above). Sample 14 is a loose fragment of brick which is clearly dark blue at all points facing outwards and therefore exposed to weathering. Sample 15a is mortar from the south wall, only the topmost layer of which was blue to a depth of approximately 1 mm. The cyanide value at this point must have been above the average value of the first approximately 3 mm. Sample 15b is a fragment of brick, the blue layer of which was separated with a spatula (Sample 15c). The mass of the remaining fragment amounted to approximately twenty times the layer scratched off; only slight cyanide concentrations are detectable here. The average concentration here must have been around 120 mg/kg. On the brick as well, the pigment has only formed in perceptible quantities on the outermost side, that which is exposed to weathering (in this regard, see the exterior wall of the disinfestation chamber in Stutthof concentration camp, Fig. 65).

    Fig. 68: The outside of the external wall of hydrogen cyanide delousing wing of building 5a in August 1991. Small amounts of cyanide which diffused through the walls are discoloring them at places still today. 50 years of the most detrimental environmental influences did not change this fact.

    Fig. 69: Picture of a room located in the northwest of the disinfestation wing of building 5a (see Figure 18). The exterior walls are located in the background and to the right, showing intensive blue discolorations caused by iron Blue. Taking locations of samples 9 and 11 are visible. On the left in the picture is the interior wall, erected during the conversion to a hot air disinfestation chamber. Sample 10, with a slightly positive cyanide content, was taken from this wall.

    Fig. 70: Picture of the door frame in disinfestation wing of building 5a. the lower, rusty hinge has developed Iron Blue under the influence of hydrogen cyanide. Sample taking location of sample no. 18.

    Fig. 71: In contrast to building 5a (see Fig. 68), the disinfestation wing of building 5b was used as a hydrogen cyanide delousing chamber for a longer period of time. Subsequently, the outside of its walls are covered with blue spots, unimpressed by 50 years of weathering here as well.

    Very important is the confirmation of the fact that the pigment actually possesses an enormous environmental resistance, since Samples 14 to 15c were exposed to intensive sunshine, wind, rain, etc. for more than 40 years. But how did the pigment arise in such high concentrations at this precise location, although the outside of the exterior walls were not exposed to any direct fumigation? The low quantities of cyanide which diffused through the masonry are apparently sufficient to enable the formation of pigment on the outside of the wall, which was moist, especially during rainy weather, and its iron compounds were certainly massively activated by environmental influences.

    The inside of the exterior walls of the disinfestation wing of Building 5a are almost completely blue, even dark blue (see Fig. 69, below). Interestingly, the pattern of the brick structure located below the plaster has made an imprint on the intensity of Iron Blue formation in the upper layer of the plaster. Such a phenomenon is similar to, e.g., the well known condensation of excessive atmospheric humidity on cool walls (for example, in large groups of sweating human beings, such as at rock concerts, in discotheques, or, generally, in poorly heated rooms), which also leads to the formation of patterns exhibiting the underlying brick structure of such walls. Differently-baked bricks have a different tendency towards accumulation through condensation due to their differing heat conductivity. Differing reactivity to the formation of cyanides due to differing moisture contents and temperatures may therefore be the cause of this effect, but also differing transport capacities for migrating cyanide salts due to differing moisture contents.

    Underneath the first layer of wall plaster, only approximately 1 mm thick, the material appears, by contrast, pale blue, just like the entire east wall of the wing, which is an interior wall of the original disinfestation chamber and whose discoloration is much less intensive (samples 12 and 13).

    The interior walls of the same room, which were incorporated at a later time, i.e., those belonging to the hot air disinfestation chamber (see Fig. 18), exhibit, as expected, no trace of blue.

    The results of samples 9 and 11, and 20 and 22, resp., confirm the first impression. The topmost layer of plaster on the inside of the exterior walls has a very high cyanide concentration; underneath, the concentration decreases. The high cyanide concentration of Sample 11 could not, however, be exactly reproduced. The results of the control analysis lies at only 54% of the first value. The slightly different analytical procedure may be responsible for (see footnote in Table 20).

    In pure Iron Blue, 1 g of cyanide contains approximately 0.82 g iron. The iron analysis, assuming that the cyanide is present completely in the form of Iron Blue, shows that, in Sample 9, approximately 3/4 of all iron was converted to pigment. If one considers that not all iron can be reached by the hydrogen cyanide, then one can speak of a near-saturation of the upper layer of material with the pigment. The drop in the concentration from the topmost layer to the lower layers is explained, for one thing, by the linear gradient which must be expected in not isolated walls (see chapter 7.3.2.3.). Furthermore, as with the blue pigmentation of the exterior of the walls, the effect of accumulation of cyanides on the surface through evaporation of water carrying soluble cyanide compounds must be considered, even though this effect was certainly smaller on inside walls than on outside walls due to lack of air exchange in these rooms after the war (high relative humidity of the air, no wind), and due to the lack of sun activity in the room equipped with windows facing northwards only, see in Fig. 69.

    Samples 12 and 13 correspond to Samples 9 and 11, taken from the interior wall only, from the east wall, near one of the hot air chambers. The surface concentration is considerably lower than on the inside of the exterior walls, there is no recognizable concentration profile. The reason for this may be that the dry walls allow the hydrogen cyanide to diffuse more easily into the masonry, while the hydrogen cyanide more readily reacts superficially on the moist exterior walls. It is more probable, however, that no migration of soluble cyanide salts to the surface took place in the interior wall due to dryness. These samples are also interesting insofar as they prove that high quantities of cyanide compounds, highly-resistant for long periods of time, can form on warm and dry interior walls. Due to the high ground water table in Birkenau, as well as due to the lack of an effective heat insulation, the exterior walls must be expected to have been quite cool and moist even when the interior was heated, particularly during the cool seasons.

    The samples from the walls added during the conversion to hot air disinfestation should exhibit no cyanide residues. Accordingly, sample no. 10 from the interior wall incorporated at a later time exhibits only a very low cyanide concentration near the detectable threshold. Sample 21 was taken from the mortar between the bricks of the wall installed later, at a depth of 1 cm to 5 cm into the masonry. There is a crack in the masonry of the interior wall at this location. The analysis shows minimal but hardly interpretable traces of cyanide below the detectable threshold in this interior wall as well. This finding may indicate disinfestation of these rooms after the conversion to hot disinfestation, if the slight quantities have not in any case lost all probative value, like the control analysis of the other samples have shown.

    Sample 18, finally, was taken from the door frame which was only incorporated after the conversion to hot air disinfestation. Below the lower hinge, the wood exhibits a visibly blue pigmentation (see Fig. 70, p. 261). The pigment was able to form here due to the moisture in the floor, in connection with the rusting iron. This is assuming that the rooms were either charged with hydrogen cyanide after the conversion of the installation or that the floor of the installation continued to give off cyanide over longer periods of time. In the first case, the cyanide traces in the walls added later (Samples 10 and 21) could actually be explained by fumigation of the rooms. However, during the conversion of this wing to a hot air disinfestation facility, this gas-tight door may have been removed from the access way to this wing and re-used here, so that the cyanide would result from earlier fumigations. The analytical results should only be conditionally considered as qualitative, since organic material can be a disturbing factor during analysis. In any case, the high reactivity of moist iron oxide mixtures (rust) is confirmed.

    Building 5b: The exterior walls of disinfestation wing BW 5b are not only blue in places, as in the case of BW 5a, but rather, almost completely so, even below the ground (see Fig. 71, below). An exception here is the east wall, which hardly exhibits any blue pigmentation (see Fig. 19, p. 76). The analysis of a fragment of brick from the south side (Sample 16) therefore shows an extremely high value. Here, the pigment extends further into the masonry. Here as well, weathering has had no visible or measurable effect on the pigment concentration. Approximately 17% of the iron in the fragment of brick has been transformed into pigment, despite the only slight concentration in cyanides able to reach the exterior of the masonry wall here as well. The conspicuous difference between Building BW 5b and 5a, which is only blue in places, is explained by the longer period of use of the 5b wing as a Zyklon B disinfestation chamber. The reason for the perceptibly lesser blue pigmentation of the east side of the exterior wall of this wing can be explained by the lesser influence of weathering on this side (east winds are mostly accompanied by dry weather in eastern Europe).

    When examining the interior of this wing, one is surprised by the walls which are mostly white. Pale green stains are visible only in a few places. The analysis of the green-colored plaster underneath the upper layer, Sample 17, however, shows the highest value found anywhere, despite the thick layer of plaster consisting of a compact, very hard material, 3 to 4 mm thick. With relation to the transformation of the iron, what was said of the upper layer of plaster in BW 5a only, is true here: near saturation. The color of the material, here only greenish, is apparently not directly meaningful with regards to the cyanide concentration. Because even in the presence of maximum values, the proportion of pigment in the plaster only amounts to 1.5 %, the intense blue color in places on the surface of the inside of exterior walls of BW 5a cannot moreover be explained in this manner. Rather, the dark blue colors result from a still higher concentration of pigment in the uppermost layers in the micro-meter range of magnitude caused by the accumulation processes of migrating, soluble cyanide salts as described above.

    That these accumulation processes did not occur on the surface of the inside of Building 5b may be explained by the different type of material and its preparation. The hard, iron-poor interior plaster of lime mortar adheres very poorly to the wall and is already falling off in some places. The contact between plaster and wall is so poor in places, that when one knocks on the wall, one hears that there is a hollow space beneath. Such weak contact between wall and plaster, however, prevents moisture in the wall from diffusing through to the surface plaster and carrying soluble cyanide compounds (for example, iron(II)-cyanide) with it.

    Sample 19 was divided in two, since the upper layer of plaster in this room is visibly different from the layer lying beneath: The first 4 mm of plaster consists of a white, brittle, hard material (sand-poor lime plaster), while the layer underneath consists of an ochre-colored, sand-rich lime plaster. The separation was not completely successful; parts of the sand-rich mortar remain in Sample 19a. The analysis for iron, which might possibly have been even lower in the presence of complete separation, confirms the assumption that the upper layer is an iron-poor lime plaster. This explains the deficient formation of blue spots of pigment on the surface of the plaster in this room, since there is too little iron available for the formation of pigment. Nevertheless, even the upper layer of plaster exhibits quite high cyanide values. This shows that the layer of plaster was not applied after termination of the disinfestation actions.

    8.3.3.4. Samples 25-30: Tests

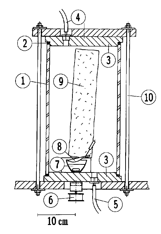
    Fig. 72: Construction drawing of the experimental container for the fumigation of material samples with hydrogen cyanide.

  • Glass cylinder
  • O-sealing ring
  • PVC lid and floor plate
  • Gas outlet and pressure gauge
  • Gas ventilation outlet
  • Magnet mixer motor
  • Porcelain dish with 16 Vol.% H2SO4 and magnet mixer
  • Spoon with KCN fixed axle, capable of tipping over magnet from exterior
  • Sample material (here brick)
  • Bolts
  • For an evaluation of the reactivity of hydrogen cyanide with building materials, a series of tests was undertaken; during the first series, only brick was fumigated with hydrogen cyanide, generated from a defined quantity of KCN+H2SO4 in a gas-tight container. Over the course of the tests, it became apparent by means of sensitive differential pressure measurements that only a part of the hydrogen cyanide added to 16% sulfuric acid was released as gas. Hydrogen cyanide is so easily soluble, even in this acid, that only a portion of it is actually released into the gas room. The actual quantity of gas in the reaction container therefore lay far below the mathematically calculated 3.7% by volume, while the pressure measurements consequently lay around 2 % by volume.

    On the construction of a reaction container from a glass cylinder, sealed above and below by PVC plates with gas qualities and O-rings, see Fig. 72. 16% H2SO4 was placed in a crucible, KCN was added by means of a magnetic lever mechanism with the container sealed. The mixing was performed by means of a magnetic stirrer.

    The samples listed in Table 21 were analyzed. The following parameters were kept constant:

    Exceptions from these conditions are listed in the right column of Table 21 (p. 267). Following fumigation, the topmost layers of the sealed surfaces of samples 27 to 30 were removed, and hence the sealing layer of paraffin. The additionally moistened samples 27 and 30 made themselves perceptible by an intense odor of hydrogen cyanide during storage at room temperature, in contrast to samples 28 and 29 which were only moist by nature. The odor of hydrogen cyanide disappeared suddenly upon additional moistening. In the case of the cement mortar sample, the odor was no longer perceptible after a week, while in the case of the lime mortar sample, it was no longer perceptible after two weeks. Storage of the samples for more than two months at room temperature therefore perceptibly reduced the hydrogen cyanide content, while the drying of the samples strongly hindered the conversion to iron cyanide.

    Table 21: Test sample preparation and fumigation

    Nr.

    Material

    Conditions

    25/26

    Brick from demolished building from Bavaria; only sample 26 was fumigated!

    16 h fumigation with 0.3 Vol.%, Storage after fumigation for 120 days at room temperature. No sealing with paraffin

    27

    Cement mortar: 1 part sand, 1 part Portland cement, 1/2 part lime. Sample measurements: 55×60×20 mm, 100 g (ca. 1.5 g/cm3)

    addition of 1 g water

    28

    Cement mortar: 1 part sand, 1 part Portland cement, 1/2 part chalk. Sample measurements: 55×60×20 mm, 108 g (approx.. 1.6 g/cm3)

     

    29

    Lime mortar: 2 1/2 parts sand, 1 part lime. Sample measurements: 55×60×20 mm, 94 g (ca. 1.4 g/cm3)

     

    30

    Lime mortar: 2 1/2 parts sand, 1 part lime. Sample measurements: 52×58×20 mm, 96 g
    (ca. 1.6 g/cm3)

    addition of 2 g water

    The analytical results relating to the brick samples (Table 19, p. 254, Sample no. 25 and 26) are surprising for their values, which appear paradoxical: the fumigated sample, in contrast to the unfumigated sample, exhibited no traces of cyanide. The value of the unfumigated sample could be exactly reproduced (Table 20). Further analyses of the fumigated brick likewise resulted in no demonstrable cyanide concentrations. These findings prove that cyanide values up to 10 mg per kg have only very limited probative value, since these can be attributed to traces which occur everywhere.[510]

    The interpretation of the analytical results of samples 27 to 30 resulted in the following data:

    8.3.4. John C. Ball

    All samples taken from alleged homicidal 'gas chambers' are around or well under the detection threshold and must therefore be considered zero. Ball's samples from the delousing wings of buildings 5a and 5b do represent a fairly good average of my own and confirm my results.

    Table 22: Cyanide concentrations in the masonry of 'gas chambers'/disinfestation chambers according to John C. Ball[511]

    No.

    Location

    c(CN-) [mg/kg]

    1
    2

    Delousing Room B1b BW 5b, inside and outside
    Delousing Room B1b BW 5a, inside and outside

    3,170.0
    2,780.0

    3
    4
    5
    6

    Crematorium II, morgue 1 ('gas chamber')
    Crematorium III, morgue 1 ('gas chamber')
    White Farm House, remnants of foundation
    Crematorium V, remnants of foundation wall

    0.4
    1.2
    0.07
    0.1

    8.4. Discussion of the Analysis Results

    8.4.1. Blue Wall Paint?

    The hypothesis expressed by J. Bailer,[52],[54] that blue paint could be responsible for the high cyanide values in the disinfestation chambers, does not correspond to the facts:

    1. Iron Blue is not sold as wall paint at all, since it lacks sufficiently high lime fastness (see chapter 6.6.1.).
    2. If this argument were correct, it would be remarkable that the SS, of all the rooms in the Third Reich, would apply blue paint only to their disinfestation chambers where no one could admire it; and, strangely, always the same blue. All other rooms were whitewashed. Were the SS practitioners of 'blue magic'?
    3. The disinfestation chambers themselves already had a coat of lime paint. Why would they cover this coat of lime paint with another paint which, in addition, is not even lime fast? They would therefore have had to wait until the lime paint and plaster had set before one could paint the walls. And then it would have been by no means certain that the paint would not furthermore have become stained as a result of chemical reactions.
    4. A coat of paint on the interior of the room would not explain the patchy pattern of the blue stains on the interior of the exterior walls of the disinfestation wing of Building 5a.
    5. Neither would a coat of paint on the interior of the room explain the absence of blue coloration on the interior walls added to the disinfestation wing at a later time. Or are the SS supposed to have painted only certain walls, and then, not evenly, with paint brushes, but, perhaps, soiling the wall statistically by throwing and spattering?
    6. Bailer's argument is refuted by the fact that none of the colored walls shows any pattern of brush marks, and no identifiable coat of paint, since wall paint consists not only of pigment, but also of a not inconsiderable proportion of binding agents and other chemicals. The blue pigment is, however, simply one component of the lime paint and plaster.
    7. Bailer's argument furthermore fails to explain how the artistic skills of the painters could have succeeded in imitating the brick structure lying beneath the plaster. Or did they not only practice 'blue magic,' but were equipped with X-ray eyes as well?
    8. Bailer's argument does not explain the only pale blue tint of the interior south walls of the original disinfestation wing of Building 5a.
    9. Neither does Bailer's argument explain the high cyanide concentration in the superficially white, iron-poor material of the walls of the disinfestation wing of Building 5b. Or is it his opinion that these rooms were, perhaps, painted with an 'iron white,' a paint color that does not even exist?
    10. Bailer's argument furthermore fails to explain the still higher cyanide concentration of deeper, greenish-bluish coats of material in the walls of the disinfestation wing of Building 5b; or does he perhaps intend to argue that the SS even applied iron-blue paint to wall plaster and wall mortar where no one could ever admire it? There, it would in addition have certainly have been decomposed into its component parts due to the alkaline pH value of fresh mortar and would have lost its color at least temporarily.
    11. Finally, Bailer's argument cannot explain why even the exterior walls of the disinfestation rooms, exposed to weathering, have a notable cyanide content and are discolored with blue stains. Or did the SS employ the technique of statistically throwing and splashing paint about here as well, paying particular attention to the structure of the brick, resisting at all times the temptation to apply the coats of paint which are so typical of ordinary painting, simply because blotchy blue-stained brick is so sexy? Or was the Iron Blue applied to the bricks upon manufacture, resisting the baking process of the brick in a magical fashion known only to the blue-magic SS?

    The Polish scientists, as indicated above, adopted Bailer's argument and therefore preferred simply not to prove the presence of Iron Blue at all. Honni soit qui mal y pense... (a rogue who thinks evil about it)

    8.4.2. False Method of Analysis

    Many people, both experts and laymen, rely good-naturedly upon the findings of the Jan Sehn Institute for Forensic Research in Cracow, i.e., the study published in 1994 by Prof. Markiewicz and colleagues. These Polish scientists, however, tested their samples with analytical methods that were unable to detect stable iron cyanide compounds. They did this because they could not imagine how such stable iron cyanide compounds could form. It is, of course, no shame to fail to understand something initially. Anyone, however, who makes a claim to scientific reliability must, before making statements upon the subject, at least attempt to investigate and understand. But not so the Polish scientists. They assert their lack of understanding as a justification for their failure to act. Has anyone ever heard that failure to understand a phenomenon was any reason for scientists not to study it? To the Polish scientists, this was obviously the case. It would only be permissible to exclude Iron Blue from the study if it were possible to exclude, with practical certainty, that the effects of hydrogen cyanide on masonry could result in the formation of iron cyanide, and, consequently, Iron Blue, and if there were at least some indication that these rooms had been painted with Iron Blue. The Polish scientists completely neglected to do this. And even worse: they did not even attempt to refute my arguments on the formation of stable iron cyanide compounds which I published in early 1993.[512] They were familiar with this publication, because they quoted it, but not, for example, in order to discuss my arguments, but simply to condemn it flatly as an example of the allegedly diabolical deeds of the 'deniers' and the 'whitewashers' of Hitler, who Prof. Markiewicz and his colleagues intended to refute-so their own words. This should suffice to show that the Polish actions were ideologically motivated, to a high degree. If they had been neutral scientists, they would have applied the correct and interpretable method of analysis and would have discussed my publications in a scholarly manner instead of worrying about Hitler's dirty laundry.

    Prof. Markiewicz and his colleagues did not even attempt to find any explanation for the high iron cyanide concentration in the walls of the disinfestation chambers and their blotchy-blue surfaces.

    Although they had sought out an analytical method able to produce the results desired by them, the results of their first series of tests were obviously so disturbing that they decided to suppress them and never published them. These data only became public knowledge through an act of indiscretion in 1991 (see chapter 8.3.2.).[513]

    The Polish scientists therefore rejected the undesired results of their first series of tests and took even more samples, until they finally produced the results that fitted in with their preconception: this time, both the samples from the disinfestation chamber and the alleged 'gas chambers' showed cyanide residues on the same order of magnitude.[57]

    But even Prof. Markiewicz and his colleagues, during the test fumigations performed by them, at least confirmed that moist cement mortar (as was used in the morgues of crematoria II and III) absorbs at least ten times more hydrogen cyanide than dry lime mortar (as used in the disinfestation chambers), as I had assumed for my calculations in this work.

    Table 24 shows the analysis results of Prof. Markiewicz and his colleagues compared to those of Fred Leuchter, John C. Ball, and mine.

    I will spare myself further analysis since analysis results obtained in a methodically incorrect manner cannot be corrected even by correct interpretation. Any attempt at interpretation is therefore a waste of time.[514]

    Table 23: Orders of magnitude of analytical results
    of various samples, in mg CN-/kg

    Author:

    Markiewicz et al.

    Leuchter

    Rudolf

    Ball

    Results from:

    Cyanide without iron cyanide

    ---- Total cyanide ----

    delousing chambers:

    0-0.8

    1,025

    1,000-13,000

    2,780-3,170

    'gas chambers':

    0-0.6

    0-8

    0-7

    0-1.2

    Even a direct comparison with my arguments and the open expression of suspected fraud could not move Prof. Markiewicz and his colleagues to justify or correct their unscientific manner of behavior.[58],[59] The director of this group, Dr. Jan Markiewicz, who is not a chemist, but rather, a "Technical Testing Specialist", died in 1997. Both the other authors have remained silent.

    One can after all understand that these Polish authors made their careers in Communist Poland, and, as Polish patriots, can under no circumstances permit the undermining of 'Auschwitz' as a moral justification for the Polish ethnic cleansing of the East Prussians, East Pomeranians, and Silesians after the end of World War Two, as a result of which some three million Germans lost their lives, as well as it being the greatest land robbery of modern history. Many Poles fear in their hearts that the post-war state of Poland stands and falls with Auschwitz. This may explain Prof. Markiewicz's and his colleagues' scientific contortions, but it fails to be a justification for them. Even the possible circumstance that the scientists assigned to the topic were not and are not chemists and that their laboratory was perhaps not equipped up to Western standards, cannot explain this, since an analysis of the total cyanide concentration is not expensive in terms of laboratory equipment and the chemistry involved is anything but complicated.

    The manner with which the Polish scientists approached the problem, however, gives rise to serious suspicion that this was an attempt at scientific fraud, a suspicion which is also supported by the fact that they were unable to justify their incorrect methods of measurement except through their incompetence and ignorance.

    The conclusions to be drawn from the above is clear: the only 'scientific' attempt to refute Fredrick A. Leuchter's sensational argument proves, upon closer examination, to be one of the greatest scientific falsifications of the 20th century.

    How desperate must one really be, if it is believed necessary to stoop to such methods in an attempt to defend the established version of the Holocaust, i.e., the alleged systematic extermination of the Jews in homicidal 'gas chambers'?

    8.4.3. The Memory Hole

    At the end of chapter 6.6.5., I already referred to the bold lies of Albert Meinecke from the German press agency dpa regarding the alleged short life term of hydrogen cyanide in masonry. A new corny joke was recently added to this debate by Prof. James Roth from the Alpha Analytic Laboratories, Ashland, Massachusetts. I discuss this event here because Prof. Roth's allegations were widely publicized by the international media in connection with the libel case of British historian David Irving against Deborah E. Lipstadt.[515]

    For his documentary movie Mr. Death on Fredrick A. Leuchter, Errol Morris also interviewed Prof. Dr. James Roth. In 1988, Roth's laboratory had analyzed the masonry samples from the alleged 'gas chambers' taken by Leuchter in Auschwitz for their cyanide content. During the trial against Ernst Zündel in Toronto that same year, for which the Leuchter report had been produced, Prof. Dr. Roth himself was interrogated as an expert witness. Ten years later, Errol Morris interviewed Roth about this event. During this interview, Prof. Roth did all he possibly could to distance himself from the possible consequences of the analyses performed by his company. His interview gained importance only due to the fact that the Dutch architectural Historian Prof. Robert van Pelt quoted Roth in his 1999 expert report prepared for the Irving trial. In it, van Pelt wrote about Roth's statements in Morris' movie:[516]

    "Roth explained that cyanide will react on the surface of brick or plaster, penetrating the material not more than 10 microns, or 0.01 mm, or one tenth the thickness of a human hair [...]. In other words, if one wants to analyze the cyanide concentration in a brick sample, one should take a representative sample of the surface, 10 microns thick, and no more."

    It can be shown that Prof. Dr. James Roth is wrong for the following reasons:

    1. It is a fact that the walls of the disinfestation chambers in Auschwitz, Birkenau, Stutthof, and Majdanek are saturated with cyanide compounds, and this not only superficially, but into the depth of the masonry, as I have proved by taking samples from different depths of the wall, compare in this regard especially my samples no. 11, 13, 17, 19b, and 23 in Table 19. They prove that hydrogen cyanide can rather easily reach deep layers of plaster and mortar. But even the other samples taken from the surface prove that Prof. Roth's allegation is wrong: Provided that most of the cyanide detectable today is present in the form of iron cyanide (Iron Blue and other cyanoferrates), as Prof. Roth assumes himself, his thesis would mean that 10% to 75% of the iron content of these samples are located in the upper 10 micrometer of my samples (0.010 mm), i.e., they are located in less then 1% of the entire sample mass, and the rest of the sample would have been massively deprived of iron. How this migration of a major portion of iron to a thin surface layer would have happened is inexplicable to me.
    2. Furthermore, expert literature is detailed in that
      1. hydrogen cyanide is a extremely mobile chemical compound with physical properties comparable to water,[322]
      2. which can quite easily penetrate through thick, porous layers like walls.[409]

    3. In addition, it is generally known that cement and lime mortar are highly porous materials, comparable for instance with sponges.[517] In such materials, there does not exist something like a defined layer of 0.01 mm beyond which hydrogen cyanide could not diffuse, as there can also be no reason, why water could not penetrate a sponge deeper than a millimeter. Steam, for example, which behaves physically comparable to hydrogen cyanide, can very easily penetrate walls.
    4. Finally, the massive discolorations of the outside walls of the disinfestation chambers in Birkenau and Stutthof, as shown in this expert report, are clearly visible and conclusive evidence for the fact how easily hydrogen cyanide and its soluble derivatives can penetrate such walls.

    As a professor of analytical chemistry, Prof. Roth must know this, so one can only wonder why he spreads such outrageous nonsense. That Prof. Roth is indeed a competent chemist can be seen from what he said during his testimony under oath as an expert witness during the above mentioned Zündel trial:[518]

    "In porous materials such as brick or mortar, the Prussian blue [recte: hydrogen cyanide] could go fairly deep as long as the surface stayed open, but as the Prussian blue formed, it was possible that it would seal the porous material and stop the penetration."

    Prof. Roth might have felt obligated to attack Leuchter in order to avoid becoming himself a target of certain lobby groups who already managed to destroy Leuchter's career. That would explain why the truth temporarily dropped into a hole in Prof. Roth's memory while being interview by Errol Morris. It is also revealing that Prof. Roth mentioned during this interview, if he had known where Leuchter's samples originated from, his analytical results would have been different. Does that mean that Prof. Roth manipulates his result according to whether or not he likes the origin of certain samples? Such an attitude is exactly the reason why one should never tell an 'independent' laboratory about the origin of the samples to be analyzed, simply because 'independence' is a very flexible term when it comes to controversial topics. What Prof. Dr. Roth has demonstrated here is only his lack of professional honesty.

    8.4.4. The Moon is Made of Pizza

    Another strange story is that of Richard Green, a PhD Chemist with quite similar educational background as I have.[63]-[65] The layman would expect two experts, with similar educational background, to come to similar conclusions in questions relating to their expert knowledge. But this is only partly the case. The reason for this is that Dr. Green ignores many facts that are either supported by documentary evidence-like the performance of the ventilation installed in crematoria II and III, or the speed of executions in U.S. execution chambers-or by expert literature-like the higher tendency of cold, moist walls to adsorb HCN, and the longer lasting alkalinity of cement mortar compared to lime mortar.

    However, Dr. Green makes some concessions which are important to note:

    1. He agrees that basically all witnesses attest to very short execution times, indicating a rather high concentration of HCN used.
    2. He also agrees "that Rudolf is correct or nearly correct regarding the formation of blue staining in the delousing chambers."

    What he does challenge, though, is the possibility of formation of any noticeable quantities of Iron Blue in the homicidal 'gas chambers.' One of his flawed and deficient arguments to support his thesis is that in his view, no noticeable amounts of cyanide could have accumulated in the walls of the morgues ('gas chambers'). According to Dr. Green, one major factor for this is supposed to be the fact that masonry has a neutral pH value which does not allow the protolysis of hydrogen cyanide and thus the formation of cyanide salts. But if that were true, how come huge amounts of cyanides did accumulate in the walls of the disinfestation chambers?

    My argument in this regard is that particularly cement plasters and concretes, as used in morgues 1 of crematoria II and III, are noticeably alkaline for many weeks, months, or even years, which I documented thoroughly with expert literature on the chemistry of building materials (see chapter 6.7.2.). Hence, I concluded that these walls would have been very much inclined to accumulate cyanide salts and to form Iron Blue, even more so than the lime plaster of the disinfestation chambers, which in turn provoked the following answer by Dr. Green:

    "[In 1993] The IFRC [Institute for Forensic Research, Cracow], on the other hand measured the pH [of mortar samples from the alleged gas chambers] to be between 6 and 7 [i.e. neutral]."

    Dr. Green obviously did not consult any literature on the chemistry of building materials, as he quotes none. He solely relies on the findings of the Cracow institute. In order to make the reader see how flawed Dr. Green's way of arguing is, let me say it in a parable:

    By referring to a couple of Italian expert pizza baking instructions, I showed that a pizza, when taken out of the oven, is hot or warm for quite a while (one hour). Now, Dr. Green comes along claiming that I am wrong because a Polish friend of his has just now measured the temperature of a pizza which was baked a week ago, and which has been lying around somewhere since. And the Polish scientists found out that this pizza is indeed cold right now. Surprise, surprise!

    Of course, samples taken from the surface of walls erected 50 years ago or more are now pH neutral! Even this I have proved by showing how the front of neutralization slowly migrates into concrete and mortar (see chapter 6.7.2.2.). But what does the pH value of samples taken 50 years after the erection of these building prove regarding their pH value shortly after they were built? Dr. Green's way of arguing is childish to the highest degree.

    When it comes to intellectual honesty, Dr. Green reveals some other very strange behavioral patterns, one of which I want to address here.

    Dr. Green agrees with me that the Iron Blue found in delousing chambers is the result of gassings with hydrogen cyanide. Hence he disagrees with the opinion of Markiewicz and others that this Iron Blue has its origin for different reasons, like residual paint. Consequently, Dr. Green should refuse the approach of the Cracow team to exclude Iron Blue from the analysis, because this would most likely exclude the major parts of the cyanide residues formed by gassings with HCN in general (not just in case of delousing chambers). Subsequently, Dr. Green should furthermore criticize Markiewicz for having chosen a method of analysis which must lead to faulty and misleading result, as I did. Additionally and more generally, he should say that the Polish scientists neither tried to understand what they claimed not to have understood, nor discussed the attempts to understand as made by others, which were known to them. No matter which results the Polish scientists produced and what their scientific opinion might have been: their behavior is extremely unscientific, as the most important task of a scientist is to try to understand what has not been understood so far, and to discuss the attempts of others to make understandable. The Polish scientists did just the opposite: they decided to ignore and exclude what they did not understand. Finally, in their article as well as in a letter to me, the Polish scientists themselves stated that the purpose of their paper was to refute the "Holocaust Deniers" and to prevent Hitler and National Socialism from being whitewashed, i.e., their purpose was not to find out the truth! Thus, by their own confession, they used unscientific methods in order to produce desired results for the purpose of achieving certain political goals.

    Let me quote Prof. A.R. Butz in this connection, who stated another appropriate metaphor to emphasize the degree of intellectual dishonesty revealed by Markiewicz and his colleagues:[519]

    "The argument [of Markiewicz et al. for excluding Iron Blue from their analyses], to the extent that it was intelligible enough to be summarized at all, was that they did not understand how the iron-cyanide compounds got to be there, so they decided to ignore them in reaching their conclusions. I don't understand how the moon got there, so I will ignore all effects associated with it, such as tides. I hope I don't drown."

    And the amazing thing about Dr. Green is that he-and with him Prof. van Pelt, who relies on Green[69]-does not only defend Prof. Markiewicz's behavior in every regard, but he attacks me for my critique against the Polish scientists, while omitting all the reasons I gave for doing so. To crown this, Dr. Green even defends the fact that Prof. Markiewicz never even bothered to address any of my critique, even though addressing critiques is paramount for scientists. Dr. Green argues:

    "Rudolf complains that Markiewicz et al. have not responded to his queries. Why should they do so? What credibility does Rudolf have, that demands they answer his every objection no matter how ill-founded?"

    However, since Dr. Green agrees that the Iron Blue detectable in disinfestation walls is the result of gassings with Zyklon B, he himself has indirectly admitted that all my objections against Markiewicz's method of analysis are well-founded, i.e., just the opposite of "ill-founded".

    And why does Dr. Green think I bear no credibility demanding a discussion of any of my arguments? Not because I lack scientific qualifications. No, he thinks I am an abomination because of my views, and because I have been subject to social persecution and political prosecution, leading to the total destruction of my social existence, my reputation, and finally my freedom. Dr. Green even resorts to calling me a "liar," "obfuscator," and "hater" because of my different well-founded opinions.

    The scheme is as follows: first, people like Dr. Green attempt to do everything to destroy my reputation by name-calling, persecution, and prosecution, and when they succeed, they claim that there is no need to discuss anything with me anymore, since I do not have any reputation and credibility anyway. This way they can nicely ignore any argument refuting their flawed thesis. And they have the chutzpah to call themselves righteous scientists and to call me a pseudo-scientific liar and obfuscator of the truth.

    Dr. Green unconditionally defends the scientific frauds from the Cracow institute, and both get away with it, because in the eyes of the public, both have the 'politically correct' 'scientific' opinion about Auschwitz. Birds of the same feather flock together.

    8.4.5. Anticipated Values

    The only case of the formation of Iron Blue through fumigation with hydrogen cyanide, which is fairly well documented, is the case of damage to a church in Lower Bavaria as cited above.[22] Even today, buildings are fumigated with hydrogen cyanide, yet Iron Blue is rarely formed. The reason for this, however, is quite obvious. Fumigation with hydrogen cyanide is used to kill vermin, such as woodworm, meal moths, corn beetles, or lice. However, a massive case of vermin infestation requiring the use of hydrogen cyanide occurs, in practice, only in buildings which have already been in use for relatively long periods of time, i.e., many years. It is therefore to be expected that the interior plaster of such buildings has long since become thoroughly carbonized. Furthermore, the rooms to be fumigated are, as a rule, heated in order to enhance the effectiveness of the hydrogen cyanide (faster evaporation, slower adsorption losses, stimulated metabolism of vermin). Since it is not to be expected, according to the findings presented here, that a perceptible accumulation of cyanides, let alone the formation of Iron Blue, would occur after only one fumigation in warm, dry, and chemically set wall materials, one cannot be surprised that such building damage is the exception rather than the rule.

    The damage to the building in Bavaria is a typical exception here, since the unheated church, notorious for its humid walls, had been plastered with cement mortar, which is known to remain alkaline for many months, only a few weeks before. These are exactly the conditions which in my view were favorable to the formation of Iron Blue. With increasing setting of the cement plaster over the course of months, the pH value of the masonry in the church finally dropped, so that the final reaction led to the formation of Iron Blue, which is stable for long periods of time. This final reaction of the adsorbed cyanide into Iron Blue was only completed after approximately two years. The prior stage of this reaction, the formation of considerably paler iron cyanides, could already have been completed or well progressed prior to this.[520]

    A comparison with the probable conditions of the disinfestation chambers and alleged homicidal 'gas chambers' of the Third Reich is quite informative (see Table 24). The following assumes that both installations (tacitly assuming the existence of the homicidal 'gas chambers') were put into use more or less immediately after their construction, i.e., at a time when the concrete, mortar, and plaster was still not entirely set. In addition, they were in near-constant use for one to two years.

    Table 24: Comparison between cases of building damage, morgue and disinfestation chamber

    Location

    Property

    Plastering of church

    Crematorium II/III
    morgue 1

    Disinfestation
    BW 5a/b

    Iron Content

    > 1 Weight.-%

    1-2 Weight -%

    0.5-5 Weight.-%

    Type of plaster

    Lime + Cement

    Cement (+lime?)

    Lime

    Alkalinity

    Medium-term high

    Medium-to-long-term high

    Short-term high

    Moisture

    Moderately high (hydrophobic plaster, cool, moist church)

    High (unheated cellar below ground water table, condensing sweat*)

    Moderate (exterior wall) to low (interior room) (heated room)

    Time elapsed between plastering and fumigation

    A few weeks

    Between a few weeks and three months*

    (a few weeks?)

    Number of fumigations

    1

    Allegedly ³ 400*, in each case at least one hour

    Probably < 400, in each case many hours

    Proof of cyanide

    Clear

    Negative

    Clear (0.1-1 weight-%)

    * = assuming the correctness of the alleged mass gassing scenarios

    That the entire plaster job on the wall of the church referred to above turned blue even after only one fumigation is explained by the especially (un)favorable circumstances. The alleged 'gas chambers' of crematoria II and III in Birkenau show a striking similarity to this case. These cool and moist cellar rooms were only completed shortly before they were put into service and are then said to have been exposed to hydrogen cyanide on a constant basis in contrast to the church mentioned above, which was only fumigated once.

    Finally, the interesting question of which analytical values were really to be expected, if the reported mass gassings with Zyklon B really occurred in the 'gas chambers' at Auschwitz, must now be examined.

    First, consideration will be restricted to the morgues 1 of crematoria II and III, since sufficient data are only available for these buildings and because it is only here that meaningful samples can be taken, since it is certain that the material is in its original condition.

    As a comparative value, let us take two of the samples taken by myself from the interior wall of Building 5a: Samples no. 12 and 13, with a total cyanide concentration of 2,900 and 3,000 mg/kg, respectively.

    The following is a list of individual properties which exert an influence upon the formation of Iron Blue.

    1. Properties, which were approximately the same in both installations:
    2. Properties that were advantageous to the formation of Iron Blue in the disinfestation chamber:
    3. Properties which were advantageous to the formation of Iron Blue in the homicidal 'gas chambers':

    According to these considerations, the factors indicating that rather more iron cyanide would have had to form in the homicidal 'gas chambers' than on the interior walls of the disinfestation chamber in question (8×2÷(2 to 19) » 0.4-8) weigh more heavily. In actual fact, however, the homicidal 'gas chambers' contain such low cyanide concentrations that they are neither capable of reproducible detection nor of adequate interpretation, but in any case at least some 150 to 10,000 times lower than those detectable in the walls of the disinfestation chambers.

    Or in plain English: When analyzing wall samples from the alleged 'gas chambers' of crematoria II and III, we ought to expect results which are in the same order of magnitude as the results of samples taken from the walls of the delousing chambers of BW 5a and 5b. What we do find in those 'gas chamber' samples, however, is practically nothing.

    8.4.6. Limits of the Chemical Method

    The most recent development in the official school of thought tends to modify the marginal conditions for the homicidal mass gassings, even when this stands in shattering contradiction to the statements of eyewitnesses or the technical data.

    Whereas it was still the rule, until a few years ago, for the eyewitness testimonies to allege daily, or even continuous, gassings,[528] today it is occasionally assumed, as a result of the drastic reduction in the number of victims to a maximum of 630,000,[458] 470,000 to 550,000,[459] or even 356,000 gassing victims,[460] that there were considerably fewer homicidal gassings per 'gas chamber' than hitherto believed.

    There is furthermore a tendency towards a strong reduction in the alleged quantity of hydrogen cyanide utilized as compared, for example, to the quantities alleged by the eyewitnesses.[49],[54],[55]

    There is much unfounded fantasizing as to the existence of any ominous Zyklon B introduction devices, which would have permitted the toxic gas to be released through holes in the ceiling into the chamber-holes which, unfortunately, did not and do not exist-and to be removed again following conclusion of the gassings.[529]

    Furthermore, the opinion is occasionally expressed that the homicidal 'gas chamber' was sprayed with a water hose after every gassing. This assertion forgets that it would have lasted many hours until the 'gas chamber' could have been cleared of bodies (they had to be cremated, which is time-consuming, after all) that the hydrogen cyanide does not merely sit on the surface of the wall, but rather, due to its extremely high diffusion capacity, penetrates deeply into the wall within a few hours, and that a water hose would be of no assistance in this regard, quite apart from the fact that such an action would have had the effect of causing the consequently extremely damp walls to adsorb even more hydrogen cyanide during the next hypothetical gassing. In addition, the samples taken from the ceiling, which was certainly not hosed down, likewise show no reproducible cyanide concentrations.

    Yet there are also physical-chemical boundary conditions which can influence the analytical results. It is, for example, not inconceivable that, for whatever reason remaining unknown until the present time, the masonry of the alleged 'gas chambers' was not, or more slightly, inclined to the formation of Iron Blue, or that possible residues were destroyed for unknown reasons.

    The assumptions made in relation to the boundary conditions relating to hypothetical homicidal gassings were naturally subject to particular reserves, since no empirical data were available in this regard. Thus the question of how quickly the hydrogen cyanide contained in Zyklon B could diffuse in hypothetical 'gas chambers' and how quickly it could have resulted in death for all the victims, cannot be answered with absolute certainty. The assumptions made here are, of course, generally well-founded, but are not infallible.

    All of the above makes prediction with certainty of the quantities of cyanide which one might have expected to find in the masonry of the alleged 'gas chambers' impossible. The anticipated cyanide values indicated above and the subsequently following, summarized conclusions are therefore only the well-founded conclusions of an expert; under no circumstances do they constitute dogmatic truth. An extensive series of tests, for which neither the time, nor the equipment, nor the money are available to me, would have been necessary under the most varied conditions for a better prediction of the expected values. In view of the importance of the topic, it would perhaps have been proper, after 55 years, for some renowned institute to begin with such investigations at long last.

    Matters are different, however, when coming to conclusions based upon architectural and engineering questions. Because the structural fabric of some of the buildings under discussion has remained in its original condition, and due to the extensive documentation available about them, we are able to arrive at concrete statements, especially regarding the absence of alleged Zyklon B introduction holes in crematoria I, II, and III.


    Notes

    [499]C. Mattogno (Rome) has also taken samples from some of the installations ('gas chambers') at Birkenau and has had them analyzed; the findings concur with those of F.A. Leuchter and G. Rudolf. C. Mattogno, letter to the author, Rome, May 26, 1992.
    [500]The video documentation on Leuchter's investigations at Auschwitz can be ordered from: Samisdat Publishers Ltd., 206 Carlton Street, Toronto Canada, M5A 2L1 (E-mail: ezundel@cts.com).
    [501]The iron content was also determined by means of ICP spectrometer. The values lay between 6 and 7.5 g per kg.
    [502]In this procedure, the sample is to semi-concentrated sulfuric acid for 24 hours. The gases released are only collected by means of diffusion in a KOH collector.
    [503]Driving out the hydrogen cyanide by boiling the sample for one hour in aqueous HCl in a slightly reductive medium (SnCl2), Driving out in the continuous stream of air, collection in the aqueous KOH collector. Finally, photometric or titrimetric testing depending on the concentration in each case. Proof of iron was achieved here by the ICP spectrometer.
    [504]F.A. Leuchter, press release, Boston, 13. February 1990.
    [505]J. Bailer, op. cit. (note 52); similar to ibid., in B. Bailer-Galanda, et al. (ed.), op. cit. (note 54), pp. 112-118
    [506]Op. cit.(note 45); ibid., op. cit. (note 67), p. 133.
    [507]J.-C. Pressac, op. cit. (note 67), p. 53.
    [508] Letter from the Prof. Dr. Jan Sehn Institute for Forensic Expert Opinions, Department for Forensic Toxicology, Cracow, to W. Wegner, undated (winter 91/92), (illegible signature) unpublished.
    [509]J.-C. Pressac, op. cit. (note 67), p. 514, plan of Birkenau camp with barracks numbering.
    [510] It is also conceivable that the unfumigated samples were contaminated during preparation for analysis, perhaps through an improperly cleaned ball mill, in which samples with a high cyanide content had previously been crushed. The reason for the good reproducibility may be that there is hardly any carbonate in brick, since it acts as a disturbance ion.
    [511]John Clive Ball, The Ball Report, Ball Resource Services Ltd., Delta, BC, Canada, 1993.
    [512]E. Gauss, Vorlesungen..., op. cit. (note 43), pp. 163-170; 290-294.
    [513]The first series of studies, undertaken by J. Markiewicz, W. Gubala, J. Labedz, and B. Trzcinska, were never published by the authors of the studies. Only the revisionists have published their findings, after the article was smuggled out of the Jan Sehn Institute by unknown persons in 1991; see also note 56; for further remarks on this example of 'political science', see G. Rudolf, op. cit. (note 58).
    [514]A word on the HCN-CO2 mixture used by the Poles for their fumigation experiments. In their view, CO2 has a negative influence on the adsorption of HCN in the masonry. Their own test results are, however, in contradiction to this view; they are also incorrect in assuming that CO2 could have a negative influence on the absorption of HCN; see also note 349, p. 165.
    [515]This claim played a role in the verdict which should not be underestimated, cf. judgment Gray, op. cit. (note 66), §13.79; cf. note 68.
    [516]Pelt Report, op. cit. (note 66), p. 307.
    [517]DIN 4108, part 3 to 5, deals with diffusion of steam into building materials. The most important coefficient for building materials is the so-called coefficient of diffusion resistance; this is a dimensionless number indicating, how much longer the diffusion of steam takes to penetrate a layer of certain materials compared to the time it takes to diffuse through the same layer of still air. This coefficient is valid not only for water vapor, but also for gaseous hydrogen cyanide as well as for any other gas. In the list of 100 different building materials compiled in DIN 4108 part 4, one can find lime and cement mortar with diffusion resistances from 15 to 35, in which case the resistance grows with increasing cement content, for gypsum plaster, the coefficient is 10, for brick walls 5 to 10, for glass wool mats it is 1. That means, if a gas diffuses through a layer of still air with a speed of 1 cm per second, it does take 15 to 35 seconds to diffuse through a 1 cm thick layer of lime or cement mortar and 5 to 10 seconds to diffuse just as deep into a brick wall. (I am grateful to Mr. C.H. Christmann for this reference.) In this regard, compare also the analysis about the porosity of masonry, graph 7, p. 183.
    [518]B. Kulaszka (ed.), op. cit. (note 25), p. 363 (protocol p. 33-9291).
    [519]Arthur R. Butz, "Historical Past vs. Political Present", JHR , 19(6) (2000), pp. 12ff. (online: www.ihr.org/jhr/v19/v19n6p12_Butz.html).
    [520]Incidentally, all the plaster in the church had be to knocked off the walls and replaced, since there was no other way to get rid of the Iron Blue. Communication from Konrad Fischer, head architect during the renovation of the church at that time.
    [521]With regards to the homicidal 'gas chambers', the period between March 1943 and the fall of 1944 is 'attested to'. Building 5a was completed in the fall of 1942 (TCIDK, 502-1-214; acc. to 502-1-22-19, it was completed already by June 20, 1942), but converted to operate with hot air in the summer of 1943 (J.-C. Pressac, op. cit.. (note 67), pp. 55-58; acc. to TCIDK, 502-1-24, equipment of BW 5a and 5b with hot air disinfestation facility started on Nov. 1, 1942).
    [522]For the homicidal 'gas chambers', this follows from the alleged victim totals of several hundred thousand victims per chamber; for the delousing installations, this follows from the maximum number of days available in 3/4 of a year (approximately 270 days).
    [523]See also chapters 7.1. and 7.3.1.3.
    [524]Crematorium II was completed in February/March, after which the gassings are alleged to have begun in mid-March or the end of March. With relation to the delousing installations, we have no data, but one may assume that the building was used as soon as it was completed, even if it must be expected that the delousing chambers could not be used for a while, since, for delousing, it was necessary first to install all the equipment after completion of the building, i.e., undressing rooms, showers, saunas, heating, etc. The same applies, of course, to the crematoria/morgues.
    [525]See also chapters 7.3.2.2.f.
    [526]See also chapters 6.5.1., 6.5.3., 6.7.2.f.
    [527]See also chapters 6.5.2., 6.7.2.f.
    [528]According, for example to the testimony of M. Buki in the Frankfurt Auschwitz Trial; see H. Langbein, Der Auschwitz-Prozeß, op. cit. (note 465), p. 96.
    [529]Pressac (note 67) and van Pelt (note 69) are true masters in the composition of such inventions. The court historians either fail to notice or deliberately ingore the fact that these fairy tales are not based upon documents or physical reality.

    Next Chapter
    Previous Chapter
    Back to Table of Contents