| GBPPR Special Collection Service |
| You thought your secrets were safe. You were wrong. |
Shown above is the NSA's Special Collection Service (F6) EINSTEIN/CASTANET hardware. They're located on the top floor or roof of the U.S. embassy in Berlin, and elsewhere, operating under the STATEROOM program. This is not normally a transmitting system, though it can be used for RF illumination, RF flooding, active fault injection, lulz, etc. when operating in "close access" operations.
This is primarily used as a wideband microwave SIGINT (bug repeater, telco microwave backhauls, Wi-Fi, GSM/cellular, satellite/VSAT up & downlinks, etc.) collection system.
Note the dual wideband log-periodic antenna feeds (horizontal/vertical polarization, 0.5-18 GHz, probably with switchable pre-amplifiers/filters) and the precision (fraction of a degree - Az/El) stepper motor dish positioning system. Additional electronics can be mounted onto the back of the dish.
The "curtain" in the background is made of conductive fabric (Flectron) to knock down stray or compromising radio frequency energy - and to block the setup from nosey diplomatic staff.
The four-foot parabolic dish is designed to be broken down (without tools) into several smaller sections for concealment and transportation. Pacific Radomes is a manufacture of high-quality portable segmented parabolic reflectors.
EINSTEIN(?) is the antenna setup's codename.
CASTANET(?) is the handheld positional controller's codename and is based around a Qlarity QTERM G55/G56 data terminal (Qlarity Foundry Software Manual, Qlarity Programmer's Reference Manual).
The "US-968U" SIGINT Activity Designator (SIGAD) in this INTERQUAKE screenshot refers to a SCS collection site in Beijing, most likely operating out of the U.S. embassy. The listed frequencies, baud rates, bandwidths, and modulations (FSK/QAM) indicate they are intercepting the point-to-point microwave links between telephone/cellular sites and/or private commercial wireless networks. "SNR" is signal-to-noise ratio, and indication of received signal quality. "Az" and "El" are the azimuth and elevation angles to which the antenna system should be pointed to. "Pol" is the feed antenna polarity, either horizontal or vertical. The "STM1" payload reference is to the STM-1 network transmission standard.
STATEROOM sites are covert SIGINT collection sites located in diplomatic facilities (embassies, consulates, hotel rooms, etc.) abroad. SIGINT agencies hosting such sites include SCS (at U.S. diplomatic facilities), Government Communications Headquarters or GCHQ (at British diplomatic facilities), Communication Security Establishments or CSE (at Canadian diplomatic facilities), and Defense Signals Directorate or DSD (at Australian diplomatic facilities). These sites are small in size and in number of personnel staffing them. They are covert, and their true mission is not known by the majority of the diplomatic staff at the facility where they are assigned. The antennas are sometimes hidden in false architectural features or Roof Maintenance Sheds (RMS).
"Survey Sites" are short-term collection efforts to determine the volume and types of signals which can be intercepted at the site. If the site turns out to be productive, a permanent collection site may subsequently be established.
From SIDtoday:
For such cases, the Special Collection Service is always looking for ways to pack the maximum amount of collection capability into the minimum amount of space. SCS's Access and Analysis Division (AAD) recently developed a new, user-friendly collection suite called the SIGINT Optimization and Analysis Platform, or "SOAP." It packs a variety of important collection capabilities into a single Pelican Container, using off-the-shelf hardware and custom SIGINT-related software.
In its current form, SOAP comprises all of the following capabilities, which add up to a versatile package:
- Dual-processor server class "lunchbox" computer
- SCIATICA computer-assisted RF search tool
- Repackaged compact microwave receiver
- SHARKTAIL PCI receiver
- MARMOT demodulator
- HALFLEX radio processor
- DIA DEM (diagnosis and demodulation) software
- BLACKMAGIC modem analyzer
- TAROTCARD and HOBGOBLIN payload analysis tools
- JUGGERNAUT GSM processor
- Other applications as required for the tasked mission
"EINSTEIN/CASTANET hardware has nothing to do with satellite signal interception - although in theory there is no reason why it could not be configured for such use.
EINSTEIN/CASTANET is an SCS developed product which has been around for quite a while in one form or another. It is typically used in local/close-up intercept situations where surreptitious penetration of a target location is not been possible. (e.g. secure office, cipher room, diplomatic premise, etc, etc...).
Specific to its ability is very very precise and accurate dish positioning (fractions of a degree) and control of polarization. Phase angle can also be exploited in certain situations. It is able to function as both a receiver as well as transmitter - the transmitter been used to transmit modulation which when 'received' by a target is it's self then re-modulated and reflected back to the dish. It is from this reflected & re-modulated carrier that target data/intelligence is extracted ..... and that, sadly, is pretty much all I can share with you regards its function and capability." --- Electrospaces.net comment from "Anonymous".
"As a former employee of the Special Collection Service (SCS) for over 15 years, and traveling to all corners of the globe to perform intelligence gathering on behalf of the United States government; there were never any 'black bag' missions tasked upon the SCS. This is a myth that may have grown out of the SCS's close working association with the Central Intelligence Agency (CIA). While employees of the SCS may have supported such operations usually conducted by the CIA, the SCS had no requirement under its charter to conduct such operations on its own. The information referenced in your article should be corrected/deleted." --- Comment from "Maroonarcher" on the Special Collection Service's Wikipedia entry.
"I have a fun little anecdote here: I have snuck up to the rooftop of the Habana Libre Hotel several times since 2015, in order to take photos. The view is great, and dodging security is simple (tip the elevator girl, and make a quick run to the fire escape stairs on the top floor when nobody's looking).
On one occasion, probably in late 2015, I stumbled upon a sheet metal shed and a uniformed, armed guard sleeping in a chair next to it, on the north-west corner of the building. There also was an array of what looked like a bit like satellite dishes and those laser data transmitters I had seen at my university at home, but I'm not an expert on this kind of stuff. It was a whole bunch of different devices on temporary tripods, apparently not a permanent installation. I distinctly remember finding it odd that all the stuff was angled downwards though. I assumed that it was for espionage/surveillance purposes, as Internet was basically non-existent in Havana back then, and it didn't look like cell phone transmitters at all. The things were all aimed into the general Vedado residential area direction, which is where a whole bunch of embassies are located (not the current U.S. one though).
I didn't investigate any further, and proceeded to the other side of the roof in order to avoid detection. You'll probably want to call bullshit on this right away. Here's a pic of the elevator engines on the top floor that I posted 2 years ago, and another one from the roof, although from a different year. There's even a chance I'll get back there in a few weeks; I might try and check it out once more." --- Comment from "instantpancake on Reddit.
"I'll have to comment on this: Ten years ago I pulled an old radar door opener from the trash pile of an 80's super market. It was the old Gunn diode kind in an aluminum housing. I also wasn't satisfied with its range of 30 so feet, so I made a proper horn feed for it and put it in the center of an offset TV dish. I also tapped the audio intermodulation frequency and routed it to an amp. I could hear a car 3/4 mile away and listen in on their car stereo 100 ft away because of the reverberating sheet metal cars are made off. Most interesting were joggers, They wear thin enough clothes and have less body fat so when they waited for the lights to change their pulse were clearly audible from 45 ft away, so I could easily access their physical shape by how fast their heart rate settled!! Another use was to 'look' through walls. Pointing the dish on the building across the street, and moving it in increments, I could hear where there were occupied rooms with people, I have no idea how deep this sensing capability was, but I could detect people through walls where there no windows. I did try to integrate the audio output with a Fourier transform filter and the some pattern recognition to automatically identify different targets, like a modern metal detector does, but my programming skill are much to be desired so that was only a partial success. I managed to distinguish between cyclists pedestrians and cars, but the quality of the signal was so high that it could have been used to recognize individuals." --- Comment from Tore Lund on a Hack-a-Day.
Alleged surveillance of Julian Assange while he was in the Ecuadorian embassy in London with a microwave or laser bounce listening device from a nearby hotel.
They apparently installed retro-reflective stickers on the embassy's windows in order to get a better reflection for the laser in order to help defeat the ANG-2200 acoustic jammer.
Thermal infrared imaging show how activity in the U.S. embassy's roof maintenance shed spying nest significantly reduced from October 24 (top picture) to October 25, after it emerged that the U.S. bugged Chancellor Merkel's phone (ARD Panorama, via The Independent)
The radar unit (CTX4000/PHOTOANGLO) generates an unmodulated, continuous wave (CW) signal. The oscillator is either generated internally, or externally through a signal generator or cavity oscillator. The unit amplifies the signal and sends it out to a RF connector, where it is directed to some form of transmission antenna (horn, parabolic dish, log-periodic antenna, spiral).
The signal illuminates the target system (RF flooding) or implant (back-scatter modulation) and is re-radiated. The receive antenna picks up the re-radiated signal and directs the signal to the receive input.
The signal is amplified, filtered, and mixed with the transmit antenna. The result is a homodyne receiver in which the RF signal is mixed directly to baseband. The baseband video signal is ported to an external BNC connector. This connects to a processing system, such as NIGHTWATCH, an LFS-2, or VIEWPLATE, to process the signal and provide the intelligence.
The CTX4000/PHOTOANGLO provides the means to collect signals that otherwise would not be collectible, or would be extremely difficult to collect and process.
The CTX4000/PHOTOANGLO may require the installation of ANGRYNEIGHBOR hardware implants to act as back-scatter modulators (retro-reflectors) for the required target data:
Closeup view of the TAWDRYYARD retro-reflector. The 6-pin device is the square wave oscillator (microcontroller - PIC10F20x-series, tinyAVR, etc.) This feeds the gate of a FET, located on the back of the device. The red wire is +3V from a lithium coin cell and the black wire is ground. The oscillator frequency is chosen to be unique and can even be pulsed to reduce power consumption.
Closeup view of a RAGEMASTER retro-reflector inserted in a VGA monitor cable. The red thing is an enameled air-core inductor (connecting isolated cable shields, couples H&V sync via ground spikes to FET's drain antenna), the thing with the "U" label is the NEC NE33284A FET, the black thing with numbers (left) is a 1 MΩ bias resistor (gate to source tied to left shield ground), the black rectangle (right) is a diode (DC restore clamp) on the FET's gate to source (ground), the brown rectangle (top) is a capacitor (AC coupled red video to gate, 0.1 µF). The short little wire on the FET's drain to (right) cable shield is the antenna. The yellow film is Kapton tape. A fake plastic molded ferrite bead covers the implanted FET circuit. A TAWDRYYARD beacon is required to identify the general location of a RAGEMASTER implant. An external processing unit (LFS-2, NIGHTWATCH, GOTHAM, VIEWPLATE) is used to analyze/detect/filter and reinsert the H&V sync signals and display the target video signal.
Closeup view of a LOUDAUTO retro-reflector. The Knowles EK/EY-series microphone is on the left, the little black rectangles with numbers are resistors, the brown rectangles are capacitors (filtering and blocking DC bias), the 6-pin device is the PPM (ultrasonic) clock generator (microcontroller - PIC10F20x-series, tinyAVR, etc.), the white circle thing with the "Ax" label is the (MGF1302) FET. Top of the "A" is the gate. The red wire is +3V from a lithium coin cell and the black wire is ground. The vertical wire at 1-15/32" is the antenna on the FET's drain.
- JAMESPIERCE - Logging P25 Control Channel Data Using Linux
- JERRYCONVERSE - Counter-Audio Masking Device - ALPHA
- JAMESLENAU - Passive Radiometric Surveillance - ALPHA
- JOHNSPICHER - Single Frequency Repeater - ALPHA
- DUANEMARGGRAF - Fiber Optic Microphone - ALPHA
- RICHARDKEENE - RF Downconverter - 19-32 GHz
- DAVIDSKOLAK - Laser Audio Surveillance Device - ALPHA
- THOMASTHORNTON - Laser Audio Surveillance Device - BRAVO
- JACKRAPER - Laser Audio Surveillance Device - CHARLIE
- FRANCISBROWN - Microwave Audio Surveillance Device - ALPHA
- CARLNYGREN Microwave Audio Surveillance Device - BRAVO
- CURTISGRAVES - Audio Implant - ALPHA
- LAWRENCEHAYDEN - Audio Implant - BRAVO
- JOHNSMITH - Audio Implant - CHARLIE
Project Codename: JAMESPIERCE
0.) This assumes your RadioShack PRO-651/PRO-652 scanner if properly programmed to the P25 trunked radio system you want to monitor and the scanner is set to output Control Channel data on the PC/IF jack. This can be done using the PSREdit500 program and selecting Enable CC Dump under Other Options.
From the PSREdit500/Pro96Com FAQ:
Q.) How do I get the PSR-500, PSR-600, PRO-106 or PRO-197 to output control channel data to decode? A.) The PSR-500, PSR-600, PRO-106, and PRO-197 have the capability to send control channel data to the PC/IF port anytime the scanner is monitoring a control channel. While this data may be decoded by Pro96Com, this data stream will be lost by Pro96Com whenever a voice channel becomes active, or conventional, search, or sweeper objects are being scanned. In addition, if you are monitoring a multi-site system, Pro96Com will constantly reload the data each time it finds a new site. To get a steady stream of data, these radios need to be placed into analyze mode on an active control channel. There are two ways to get into analyze mode. In manual mode, locate a talkgroup that's a member of the system you want to monitor. Once located, Press the F2 (TSYS) key, then the F3 (Analyz) key. Using the up or down arrows, locate an active control channel. When you see the decoded information on the screen, the scanner is ready to send the control channel data. In scan mode, you can wait for a talkgroup on the system to become active, at which point you can follow the same procedure (F2/F3) to place the scanner in Analyze mode. Pro96Com User Manual1.) Connect a RadioShack USB-to-PC Scanner Programming Cable (Cat. No. 20-546) between your RadioShack PRO-651/PRO-652 scanner's PC/IF jack and an open USB jack on your Linux computer. Do a dmesg and you should see something like this:
[5016365.583628] usb 1-1.3: new full-speed USB device number 4 using ehci-pci [5016365.687311] usb 1-1.3: New USB device found, idVendor=0403, idProduct=6001, bcdDevice= 6.00 [5016365.687319] usb 1-1.3: New USB device strings: Mfr=1, Product=2, SerialNumber=3 [5016365.687323] usb 1-1.3: Product: USB <-> Radio Scanner Cable [5016365.687326] usb 1-1.3: Manufacturer: GRE [5016365.687330] usb 1-1.3: SerialNumber: 20-546 [5016365.691477] ftdi_sio 1-1.3:1.0: FTDI USB Serial Device converter detected [5016365.691552] usb 1-1.3: Detected FT232R [5016365.692258] usb 1-1.3: FTDI USB Serial Device converter now attached to ttyUSB0Note the ttyUSB0 entry. This is the serial device we'll be using in minicom.
2.) Run minicom -s and go to Serial port setup. Change the Serial Device to /dev/ttyUSB0, or whatever the dmesg showed. Go back to the menu and choose Exit.
3.) If everything worked out, you should see something like this:
Welcome to minicom 2.10 OPTIONS: I18n Port /dev/ttyUSB0, 23:00:13 [U] Press CTRL-A Z for help on special keys P25:T0731:2C0004A7570B56570B56C9BC: **** CRC Error **** P25:T0731:300000042A32B1205E3CB309 P25:T0731:2800006450645B570B564898 P25:T0731:BA000034A7010115087025BA: **** CRC Error **** P25:T0731:0090648A63D963D963D9277D: **** CRC Error **** P25:T0731:09901040000000000000D6E5 P25:T0731:300000042A32B1205E6468F4 P25:T0731:BA000034A7010116A47011B8: SysID:4A7 RFSSID:01 SiteID:01 P25:T0731:3D0010E5E0335D149F35CCEB: **** CRC Error **** (LOL Video)Don't mind the "**** CRC Error ****" messages. That's RadioShack's fault, not yours.
4.) Hit Ctrl+A L (hold down Ctrl and A, then hit L). This will bring up a menu asking Capture to what file?. Type anything you want, but it helps to name/number them so you remember what they are, LOL. The output from minicom will now be displayed in the terminal window and captured in a text file.
5.) This is the raw Control Channel data. Look for lines like this:
P25:T0731:800004158063D957345E8B14: TGID-25561 RId-57345E VC- 770.806250 P25:T0731:80000415B864BF57CBC940E4: TGID-25791 RId-57CBC9 VC- 771.156250In this example, the first line means Radio ID (RId) 57345E (in hexadecimal) used Talkgroup ID 25561 (in decimal). Converting the RId from hex, we get Radio ID 5715038, which is a portable unit with the Oneida Nation Police Dept., using the "Oneida Nation Police - Main Dispatch" talkgroup on the Brown County SIREN 700 MHz public safety radio system (Voice Channel at 770.80625 MHz).
For the second line, Radio ID (RId) 57CBC9 (in hexadecimal) used Talkgroup ID 25791 (in decimal). Converting the RId from hex, we get Radio ID 5753801, which is the base station radio for NEW Water (Green Bay Metro Sewer & Water), using the "NEW Water - District 1" talkgroup on the Brown County SIREN 700 MHz public safety radio system (Voice Channel at 771.15625 MHz).
You can now Find, Fix, and Finish (or jam) an individual user on the radio system via their unique Radio ID.
extractIDs.sh This is a simple shell script to extract new Radio and Talkgroup IDs from Control Channel data dumps made via the above described method. Read the source for more info.
Usage: ./extractIDs.sh [log filename]
A much better method is to use SDRTrunk by Denny Sheirer.
This is a cross-platform Java application for decoding, monitoring, recording and streaming trunked mobile and related radio protocols using Software Defined Radios (SDR). It runs beautifully under Linux using a SDRplay RSP1B.
To get it running under Linux, follow these steps:
(Note #1: You may need to install RTL and/or USB support libraries. This will vary on your particular Linux distribution.)
(Note #2: Please make sure the RSP/SDR is not connected to the computer's USB port just yet.)
$ sudo apt-get install rtl-sdr $ sudo apt-get install librtlsdr-dev $ sudo apt-get install libusb-dev $ sudo ldconfig $ mkdir SDRTrunk $ cd SDRTrunk $ wget https://github.com/DSheirer/sdrtrunk/releases/download/v0.6.1/sdr-trunk-linux-x86_64-v0.6.1.zip $ unzip sdr-trunk-linux-x86_64-v0.6.1.zip $ cd sdr-trunk-linux-x86_64-v0.6.1/bin $ ./sdr-trunk WARNING: Using incubator modules: jdk.incubator.vector 2026-01-04 20:17:48.042 INFO i.g.d.icon.IconModel - loading icons file [/home/example/SDRTrunk/settings/icons.xml] [5MB/248MB 2%] 2026-01-04 20:17:48.046 INFO i.g.d.icon.IconModel - Icons file not found at [/home/example/SDRTrunk/settings/icons.xml] [5MB/248MB 2%] 2026-01-04 20:17:48.223 INFO i.g.d.p.d.DirectoryPreference - Created directory [/home/example/SDRTrunk/logs] [13MB/248MB 5%] 2026-01-04 20:17:48.224 INFO i.g.d.log.ApplicationLog - Application Log File: /home/example/SDRTrunk/logs/sdrtrunk_app.log [13MB/248MB 5%] 2026-01-04 20:17:48.267 INFO i.g.d.log.ApplicationLog - SDRTrunk Version : 0.6.1 [7MB/28MB 28%] 2026-01-04 20:17:48.268 INFO i.g.d.log.ApplicationLog - Gradle Version : Gradle 8.10 [7MB/28MB 28%] 2026-01-04 20:17:48.268 INFO i.g.d.log.ApplicationLog - Build Timestamp : 2024-12-03T16:31:53.486-0500 [7MB/28MB 28%] 2026-01-04 20:17:48.268 INFO i.g.d.log.ApplicationLog - Build-JDK : 23 (BellSoft 23+38 [7MB/28MB 28%] 2026-01-04 20:17:48.269 INFO i.g.d.log.ApplicationLog - Build OS : Linux (amd64 6.8.0-49-generic [7MB/28MB 28%] 2026-01-04 20:17:48.269 INFO i.g.d.log.ApplicationLog - [7MB/28MB 28%] 2026-01-04 20:17:48.269 INFO i.g.d.log.ApplicationLog - ******************************************************************* [7MB/28MB 28%] 2026-01-04 20:17:48.269 INFO i.g.d.log.ApplicationLog - **** sdrtrunk: a trunked radio and digital decoding application *** [7MB/28MB 28%] 2026-01-04 20:17:48.269 INFO i.g.d.log.ApplicationLog - **** website: https://github.com/dsheirer/sdrtrunk *** [7MB/28MB 28%] 2026-01-04 20:17:48.269 INFO i.g.d.log.ApplicationLog - ******************************************************************* [7MB/28MB 28%] 2026-01-04 20:17:48.269 INFO i.g.d.log.ApplicationLog - Memory Logging Format: [Used/Allocated PercentUsed%] [7MB/28MB 28%] 2026-01-04 20:17:48.270 INFO i.g.d.log.ApplicationLog - Host OS Name: Linux [7MB/28MB 28%] 2026-01-04 20:17:48.270 INFO i.g.d.log.ApplicationLog - Host OS Arch: amd64 [7MB/28MB 28%] 2026-01-04 20:17:48.270 INFO i.g.d.log.ApplicationLog - Host OS Version: 6.12.38+kali-amd64 [7MB/28MB 28%] 2026-01-04 20:17:48.270 INFO i.g.d.log.ApplicationLog - Host CPU Cores: 4 [7MB/28MB 28%] 2026-01-04 20:17:48.270 INFO i.g.d.log.ApplicationLog - Host Max Java Memory: 3 GB [7MB/28MB 28%] 2026-01-04 20:17:48.271 INFO i.g.d.log.ApplicationLog - Storage Directories: [7MB/28MB 28%] 2026-01-04 20:17:48.271 INFO i.g.d.log.ApplicationLog - Application Root: /home/example/SDRTrunk [7MB/28MB 28%] 2026-01-04 20:17:48.271 INFO i.g.d.log.ApplicationLog - Application Log: /home/example/SDRTrunk/logs [7MB/28MB 28%] 2026-01-04 20:17:48.271 INFO i.g.d.p.d.DirectoryPreference - Created directory [/home/example/SDRTrunk/event_logs] [7MB/28MB 28%] 2026-01-04 20:17:48.271 INFO i.g.d.log.ApplicationLog - Event Log: /home/example/SDRTrunk/event_logs [7MB/28MB 28%] 2026-01-04 20:17:48.272 INFO i.g.d.p.d.DirectoryPreference - Created directory [/home/example/SDRTrunk/playlist] [7MB/28MB 28%] 2026-01-04 20:17:48.272 INFO i.g.d.log.ApplicationLog - Playlist: /home/example/SDRTrunk/playlist [8MB/28MB 29%] 2026-01-04 20:17:48.272 INFO i.g.d.p.d.DirectoryPreference - Created directory [/home/example/SDRTrunk/recordings] [8MB/28MB 29%] 2026-01-04 20:17:48.273 INFO i.g.d.log.ApplicationLog - Recordings: /home/example/SDRTrunk/recordings [8MB/28MB 29%] 2026-01-04 20:17:48.287 INFO i.g.d.s.t.s.a.SDRPlayLibraryHelper - SDRPlay API native library not found at: /usr/local/lib/libsdrplay_api.so [8MB/28MB 30%] 2026-01-04 20:17:48.365 INFO i.g.d.util.ThreadPool - Application thread pool created SCHEDULED and CACHED executors threads [11MB/28MB 40%] 2026-01-04 20:17:48.365 INFO i.g.dsheirer.gui.SDRTrunk - SDRTrunk - creating application properties file [/home/example/SDRTrunk/SDRTrunk.properties] [11MB/28MB 40%] 2026-01-04 20:17:48.366 INFO i.g.d.p.SystemProperties - SystemProperties - loaded [/home/example/SDRTrunk/SDRTrunk.properties] [11MB/28MB 40%] 2026-01-04 20:17:48.394 INFO i.g.d.p.d.DirectoryPreference - Created directory [/home/example/SDRTrunk/configuration] [12MB/28MB 43%] 2026-01-04 20:17:48.395 INFO i.g.d.s.t.m.TunerManager - Discovering tuners ... [12MB/28MB 43%] 2026-01-04 20:17:48.401 INFO i.g.d.s.t.m.TunerManager - LibUsb API Version: 1.0.262 [12MB/28MB 44%] 2026-01-04 20:17:48.402 INFO i.g.d.s.t.m.TunerManager - LibUsb Version: 1.0.22.11312 [12MB/28MB 44%] 2026-01-04 20:17:48.409 INFO i.g.d.s.t.m.TunerManager - LibUsb - discovered [9] potential usb devices [12MB/28MB 44%] 2026-01-04 20:17:48.411 INFO i.g.d.s.t.m.TunerManager - LibUsb - starting HotPlug detection [12MB/28MB 45%] 2026-01-04 20:17:48.415 INFO i.g.d.s.t.s.api.SDRplay - API library is not available - unsupported version: 0.0 [12MB/28MB 45%] 2026-01-04 20:17:48.426 INFO i.g.d.s.SettingsManager - SettingsManager - settings does not exist [/home/example/SDRTrunk/settings/settings.xml] [13MB/28MB 48%] 2026-01-04 20:17:48.445 INFO i.g.d.m.DiagnosticMonitor - Diagnostic monitoring enabled running every 30 seconds [14MB/28MB 52%] 2026-01-04 20:17:48.692 WARN i.g.d.v.VectorUtilities - CPU supports maximum SIMD instructions of Species[float, 8, S_256_BIT] [19MB/28MB 71%] 2026-01-04 20:17:49.492 INFO i.g.d.p.PlaylistManager - PlaylistManager - playlist not found at [/home/example/SDRTrunk/playlist/default.xml] - creating new (empty) playlist [18MB/28MB 64%] 2026-01-04 20:17:49.493 INFO i.g.dsheirer.gui.SDRTrunk - starting main application gui [18MB/28MB 65%]You should get a "Perform CPU Calibration?" pop-up. Select Calibrate and wait a few minutes.
The first thing you need to do is install the Java Multi-Band Excitation (JMBE) library which is required for decoding APCO25 Phase 1/2 and DMR digital audio. This library can be downloaded and compiled within the SDRTrunk application. Go to: View -> User Preferences -> and select JMBE Audio Library under Decoder.
Click Create Library. Click Yes if there is an update pop-up. Then click Create Library again. Click Yes on "Do you want to continue?"
After downloading and installing the library you should get a "Success!" window. Click OK. And go to File -> Exit.
Next, you'll need to install the SDRplay API. This can be downloaded from: www.sdrplay.com/api
Select and download the Linux x64 SDRplay API. It should have a name like: SDRplay_RSP_API-Linux-3.15.2.run
$ chmod +x SDRplay_RSP_API-Linux-3.15.2.run $ sudo ./SDRplay_RSP_API-Linux-3.15.2.run Verifying archive integrity... All good. Uncompressing SDRplay RSP API Install Package V3.15 (installer v2) SDRplay API 3.15 Installation ============================= This installation requires to either be run as root, or it will request root access through the sudo program. This is required to install the daemon into the system files. Press RETURN to view the license agreementFollow the displayed instructions. You'll need to hit y and Enter a few times.
Cleaning old API files...Done. Installing /usr/local/lib/libsdrplay_api.so.3.15...Done Installing header files in /usr/local/include...Done Installing API Service in /opt/sdrplay_api...Done Installing Service scripts and starting daemon...Created symlink '/etc/systemd/system/multi-user.target.wants/sdrplay.service' -> '/etc/systemd/system/sdrplay.service'. Done The API Service has been installed and started. After the installation has finished, please reboot this device. To start and stop the API service, use the following commands... sudo systemctl start sdrplay sudo systemctl stop sdrplay If supported on your system, lsusb will now show the RSP name SDRplay API 3.15 Installation FinishedMight was well reboot right now...
Next, we'll do a quick check to make sure the API was installed properly:
$ sudo ldconfig $ ldconfig -p | grep sdrplay libsdrplay_api.so.3 (libc6,x86-64) => /usr/local/lib/libsdrplay_api.so.3 libsdrplay_api.so (libc6,x86-64) => /usr/local/lib/libsdrplay_api.soLooks good... We can plug the SDRplay RSP1B into a USB 3.x port now and fire up SDRTrunk:
$ cd ~/SDRTrunk/sdr-trunk-linux-x86_64-v0.6.1/bin $ ./sdr-trunk WARNING: Using incubator modules: jdk.incubator.vector 2026-01-04 21:10:12.925 INFO i.g.d.icon.IconModel - loading icons file [/home/example/SDRTrunk/settings/icons.xml] [5MB/248MB 2%] 2026-01-04 21:10:12.929 INFO i.g.d.icon.IconModel - Icons file not found at [/home/example/SDRTrunk/settings/icons.xml] [5MB/248MB 2%] 2026-01-04 21:10:13.117 INFO i.g.d.log.ApplicationLog - Application Log File: /home/example/SDRTrunk/logs/sdrtrunk_app.log [13MB/248MB 5%] 2026-01-04 21:10:13.160 INFO i.g.d.log.ApplicationLog - SDRTrunk Version : 0.6.1 [7MB/28MB 27%] 2026-01-04 21:10:13.160 INFO i.g.d.log.ApplicationLog - Gradle Version : Gradle 8.10 [7MB/28MB 27%] 2026-01-04 21:10:13.160 INFO i.g.d.log.ApplicationLog - Build Timestamp : 2024-12-03T16:31:53.486-0500 [7MB/28MB 27%] 2026-01-04 21:10:13.161 INFO i.g.d.log.ApplicationLog - Build-JDK : 23 (BellSoft 23+38 [7MB/28MB 27%] 2026-01-04 21:10:13.161 INFO i.g.d.log.ApplicationLog - Build OS : Linux (amd64 6.8.0-49-generic [7MB/28MB 27%] 2026-01-04 21:10:13.161 INFO i.g.d.log.ApplicationLog - [7MB/28MB 27%] 2026-01-04 21:10:13.161 INFO i.g.d.log.ApplicationLog - ******************************************************************* [7MB/28MB 27%] 2026-01-04 21:10:13.161 INFO i.g.d.log.ApplicationLog - **** sdrtrunk: a trunked radio and digital decoding application *** [7MB/28MB 27%] 2026-01-04 21:10:13.161 INFO i.g.d.log.ApplicationLog - **** website: https://github.com/dsheirer/sdrtrunk *** [7MB/28MB 27%] 2026-01-04 21:10:13.162 INFO i.g.d.log.ApplicationLog - ******************************************************************* [7MB/28MB 27%] 2026-01-04 21:10:13.162 INFO i.g.d.log.ApplicationLog - Memory Logging Format: [Used/Allocated PercentUsed%] [7MB/28MB 27%] 2026-01-04 21:10:13.162 INFO i.g.d.log.ApplicationLog - Host OS Name: Linux [7MB/28MB 27%] 2026-01-04 21:10:13.162 INFO i.g.d.log.ApplicationLog - Host OS Arch: amd64 [7MB/28MB 27%] 2026-01-04 21:10:13.162 INFO i.g.d.log.ApplicationLog - Host OS Version: 6.12.38+kali-amd64 [7MB/28MB 27%] 2026-01-04 21:10:13.163 INFO i.g.d.log.ApplicationLog - Host CPU Cores: 4 [7MB/28MB 27%] 2026-01-04 21:10:13.163 INFO i.g.d.log.ApplicationLog - Host Max Java Memory: 3 GB [7MB/28MB 27%] 2026-01-04 21:10:13.163 INFO i.g.d.log.ApplicationLog - Storage Directories: [7MB/28MB 27%] 2026-01-04 21:10:13.163 INFO i.g.d.log.ApplicationLog - Application Root: /home/example/SDRTrunk [7MB/28MB 27%] 2026-01-04 21:10:13.163 INFO i.g.d.log.ApplicationLog - Application Log: /home/example/SDRTrunk/logs [7MB/28MB 27%] 2026-01-04 21:10:13.163 INFO i.g.d.log.ApplicationLog - Event Log: /home/example/SDRTrunk/event_logs [7MB/28MB 27%] 2026-01-04 21:10:13.164 INFO i.g.d.log.ApplicationLog - Playlist: /home/example/SDRTrunk/playlist [7MB/28MB 27%] 2026-01-04 21:10:13.164 INFO i.g.d.log.ApplicationLog - Recordings: /home/example/SDRTrunk/recordings [7MB/28MB 27%] 2026-01-04 21:10:13.179 INFO i.g.d.s.t.s.a.SDRPlayLibraryHelper - SDRPLay API library loaded by path [/usr/local/lib/libsdrplay_api.so] [8MB/28MB 29%] 2026-01-04 21:10:13.180 INFO i.g.dsheirer.gui.SDRTrunk - SDRPlay API native library preemptively loaded [8MB/28MB 29%] 2026-01-04 21:10:13.256 INFO i.g.d.util.ThreadPool - Application thread pool created SCHEDULED and CACHED executors threads [10MB/28MB 39%] 2026-01-04 21:10:13.257 INFO i.g.d.p.SystemProperties - SystemProperties - loaded [/home/example/SDRTrunk/SDRTrunk.properties] [10MB/28MB 39%] 2026-01-04 21:10:13.285 INFO i.g.d.s.t.m.TunerManager - Discovering tuners ... [11MB/28MB 41%] 2026-01-04 21:10:13.292 INFO i.g.d.s.t.m.TunerManager - LibUsb API Version: 1.0.262 [11MB/28MB 42%] 2026-01-04 21:10:13.293 INFO i.g.d.s.t.m.TunerManager - LibUsb Version: 1.0.22.11312 [12MB/28MB 43%] 2026-01-04 21:10:13.295 INFO i.g.d.s.t.m.TunerManager - LibUsb - discovered [10] potential usb devices [12MB/28MB 43%] 2026-01-04 21:10:13.297 INFO i.g.d.s.t.m.TunerManager - LibUsb - starting HotPlug detection [12MB/28MB 43%] 2026-01-04 21:10:13.366 INFO i.g.d.s.t.s.api.SDRplay - API library v3.15 - loaded [15MB/28MB 54%] 2026-01-04 21:10:14.404 INFO i.g.d.s.t.m.TunerManager - Discovered [1] RSP devices from SDRplay API [16MB/28MB 59%] 2026-01-04 21:10:14.421 INFO i.g.d.s.t.m.TunerManager - Tuner: RSP1B SER#240107DA60 - Added / Starting ... [18MB/28MB 66%] 2026-01-04 21:10:14.480 INFO i.g.d.d.f.c.ComplexPolyphaseChannelizerM2 - Sample Rate [8000000.0] providing [320] channels at [25000.0] Hz each [9MB/28MB 33%] 2026-01-04 21:10:14.486 INFO i.g.d.s.SettingsManager - SettingsManager - loading settings file [/home/example/SDRTrunk/settings/settings.xml] [9MB/28MB 34%] 2026-01-04 21:10:14.703 INFO i.g.d.m.DiagnosticMonitor - Diagnostic monitoring enabled running every 30 seconds [9MB/28MB 35%] 2026-01-04 21:10:14.927 WARN i.g.d.v.VectorUtilities - CPU supports maximum SIMD instructions of Species[float, 8, S_256_BIT] [11MB/28MB 42%] 2026-01-04 21:10:16.788 INFO i.g.d.p.PlaylistManager - Loading playlist [/home/example/SDRTrunk/playlist/default.xml] [16MB/32MB 51%] 2026-01-04 21:10:16.834 INFO i.g.dsheirer.gui.SDRTrunk - starting main application gui [18MB/32MB 58%]You should see a screen like this if it detected your radio and everything is working properly:
Go under the Tuners tab. You should have an "Enabled" RSP1B. Click on the "Enabled" line and the right-side panel should open showing the status of the RSP1B. To a quick check by tuning in an active FM broadcast station by flipping the large numbers near the "Frequency (MHz):" selection and watching the waterfall display. Leave the other settings alone for now:
To setup a trunked system to monitor, click on the Now Playing tab and then on Playlist Editor.
default.xml should be selected. This will be for the default system when SDRTrunk is started.
Click on the Channels tab. On the right-side above the Clone tab is a pull-down menu. Choose the type system you want to listen to. For this example, we'll be choosing: P25 Phase 1
At the System input, enter: BC SIREN
At the Site input, enter: Green Bay, WI
At the Name input, enter: Brown Co. SIREN
Slide the Auto-Start tab to the right.
Find, then enter, primary control channel frequency (in MHz) for the system you wish to monitor. Ours will be: 772.63125
Under the Preferred Tuner choose the RSP1B.
Under the Modulation setting select LSM for Motorola Linear Simulcast Modulation (LSM) system, as this particular system is a simulcast system.
You can also slide the Ignore Data Calls tab to the right.
Leave the Logging and Recording sections alone for now. Click the Save button.
Cross your fingers and click the big green Play button. You should see something like this:
Look for the yellow "CONTROL" under Status. That means the RSP1B is tuned to our control channel and it is receiving data! Click on the Events tab for a history list of radio traffic and radio IDs.
You should also start hearing radio traffic if everything worked right. You can now tweak the User Preferences, Logging, Recording, etc. to your liking.
Other SDRs will also work (RTL-2832), but the SDRplay RSP1B, and other real U.K.-made SDRplay hardware, is much higher quality and worth the extra cost.
In the ~/SDRTrunk/event_logs directory you'll find a bunch of files named something like 20260105_170259.462_772631250_Hz_BC_SIREN_call_events.log. The layout of the files is:
TIMESTAMP,DURATION_MS,PROTOCOL,EVENT,FROM,TO,CHANNEL_NUMBER,FREQUENCY,TIMESLOT,DETAILS,EVENT_ID "2026:01:05:17:04:48","","APCO-25","Group Call","5700618","[GBPD - TTY D] (25593)","1-1464","771.156250","","PHASE 1 CHANNEL GRANT PRI4 CIRCUIT","1488762717"The "FROM" and "TO" fields will contain the Radio ID of the radio accessing the channel. It is 5700618 (decimal) in this example.
Project Codename: DAVIDSKOLAK
DAVIDSKOLAK Construction Notes
Based on U.S. Patent 6.714,306 "Sensor for Optically Sensing Airborne Acoustic Waves" by Lockheed Martin.
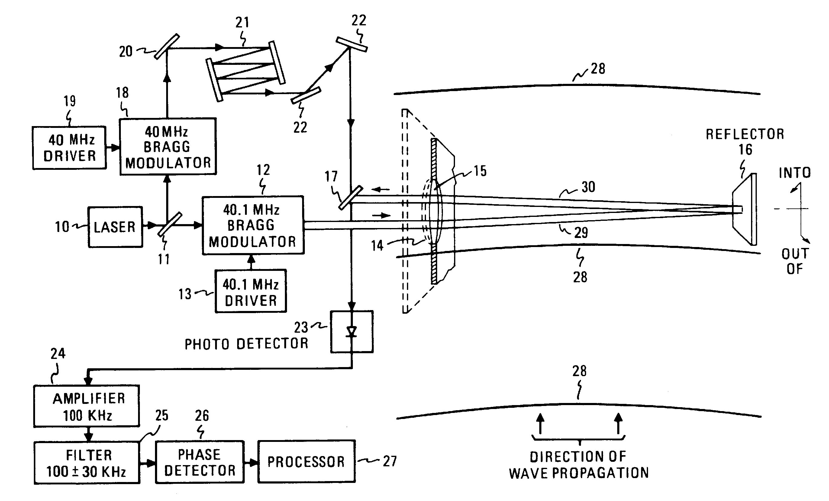
For convenience and simplicity, we'll be using a slightly modified Polytec LSV-065 Laser Surface Velocimeter, common Hewlett-Packard optic modules, and only one Bragg modulator. A standard 40 MHz RF receiver, like an Icom IC-R7100 will be used for velocity (FM) demodulation. A more complex demodulation scheme will be needed for phase (displacement) demodulation.
The present invention relates to an optical sensor of airborne acoustic waves. The sensor comprises means for producing mutually coherent optical sampling and reference beams, which may be combined to form an intermediate frequency carrier, the sampling beam being exposed to the acoustic field, in which acoustic wave induced density variations occur. These density variations produce a variation in the index of refraction and thereupon a phase modulation of the sampling beam. This phase modulation may be recovered by an optical detector and a phase detector as an electrical signal representative of the acoustic signal. The invention has application to security systems.
An optical acoustic sensor for optically sensing fluid borne acoustic waves is illustrated in Figure 1. The sensor has as its principal optical, or light handling, components, the elements 10 to 23, and as its principal electrical or electrical signal handling components, the elements 24 to 27. The fluid, for instance air, in which the acoustic waves to be optically detected occur, is portrayed in the righthand portion of Figure 1, with the acoustic wavefronts bearing the reference numeral 28. The source of acoustic wavefronts is not shown, being beyond the area of the illustration. (As will be explained, the features depicted in the right-hand position of Figure 1 are shown with substantial distortion in scale.)
The optical elements produce a coherent optical beam which is projected into the fluid in which the acoustic waves occur, and recover a reflected optical beam which is phase modulated by its exposure to the acoustic waves. The process entails formation of an optical heterodyne in which a sampling "beam" is projected into the fluid and recovered by reflection, while a reference beam at an offset frequency is prepared to form an optical heterodyne with the returning sampling beam. The acoustic wave induced optical phase modulation is recoverable from this heterodyne. The optical heterodyne frequency is set for convenient recovery in an electrical format of the phase modulation at the photodetector 23. The heterodyne frequency may not exceed the bandwidth of the photodetector. The electrical components, which operate upon the modulated optical signal after conversion to an electrical format, prepare the signal for display, aural reproduction, or other utilization.
The optical elements of the optical acoustic sensor, which enter into the formation and recovery of the sampling beam, include the laser 10, a first beamsplitter 11, a first (plus) 40.1 MHz Bragg modulator 12, with an accompanying 40.1 MHz driver 13, and optical means including an apertured barrier 14 and an optional collimating lens 15 at the interface with the air in which the acoustic waves occur. A remote reflector 16 is provided at a fixed distance from the optical means 14. The optical means 14, 15, also in the return path of the sampling beam, is followed by the beam splitter 17, and the photodetector 23, which is the last optical element of the system.
The optical elements which enter into the formation of the reference beam include the beam splitter 11, at which the reference beam is separated from the sampling beam at the output of the laser 10, a second plus (40 MHz) Bragg modulator 18, with an accompanying 40 MHz driver 19, a mirror 20, an optical delay 21 equal to the delay encountered in the sampling process, a pair of additional mirrors 22 for beam alignment purposes, a beam splitter 17 used for combining the reference beam with the returning sampling beam, (the actual optical heterodyne appearing at the surface of the photodetector 23), and the photodetector 23 the last optical element of the optical system, as noted above. The optical heterodyne, appearing at the photodetector 23, is an electrical signal phase modulated by the acoustic wave.
The electrical processing elements following the photodetector 23 consist of an amplifier 24, a narrow-band filter 25 (100 kHz +/-30 kHz), a phase detector for recovering phase and amplitude information from the acoustic wave, and a processor 27 in which further processing occurs prior to the final presentation of the information in a display or reproducer.
As previously noted, the acoustic waves of interest are illustrated in the right hand portion of Figure 1 in which the air environment is depicted between the apertured partition and the collimator (14, 15) on the one hand, and the mirror 16 on the other hand. In Figure 1, the sampling beam (29, 30) proceeds to the right in a horizontal plane, (the illustration being a plan view looking toward the ground from a position above the ground) the sampling beam continues until it impinges on the reflector 16 and then returns on a slightly displaced but still horizontal path to the collimator 15. (The outgoing portion of the sampling beam bears the reference numeral 29 and the reflected beam the reference numeral 30.)
The acoustic waves in the illustration are intended to represent waves originating from a source beyond the bottom limits of the illustration. The source of the waves is assumed to be in a horizontal plane, and the distance is sufficiently small that the wavefronts 28 have curvature. The wavefronts are also assumed to be tangential to the path of the laser beam implying that the azimuthal position of the remote source is orthogonal to the sampling beam path. The acoustic frequencies may extend over a range in excess of 300 to 1 (i.e., from below 50 Hz to above 15,000 Hz). Assuming that the speed of sound in air is 330 meters per second (1100 fps), the spacing between wavefronts varies from 22 millimeters or less at the highest frequencies (15 kHz) to 6.8 meters (3/4-inch to 20 feet) or more at the lower frequencies (50 Hz). A reasonable figure for the path length of the optical sampling beam between the aperture and the reflector is from 10 to 200 meters (30-600 feet), but depending upon application, may be much larger.
The scale distortion in Figure 1 requires some discussion. The relative scale as between the distance between maxima of the acoustic waves 28 and the sampling path length from 14, 15 to 16 may accordingly be undistorted at one wavelength within the 300 fold frequency range and distorted at all other wavelengths. The lens aperture dimension and the separation between outgoing and incoming sampling beams are both drawn substantially larger than to scale, for instance in relation to the sampling path length. In continuous wave (CW) of transmission, the beams 29 and 30 should be mutually displaced at the lens 15 to facilitate their separation, but not in the amount suggested by the scale. Each beam is typically 1-5 millimeters (1/4-inch) in cross-section, and the lens 15 may be 10 to 15 millimeters (1/2 to 3/4-inch) in diameter. The greatest separation of the two sampling beam paths would thus be in about 10 millimeters (1/2-inch). The beam separation is so extremely small in the scale of the drawing, as to be not readily depicted. (Assuming 1 meters equals 1 inch for depicting acoustic wavelengths, 10 millimeters would equal a fraction of an inch.) Thus from the practical point of view of sensing an acoustic wave at the same phase position, the wavefronts of the wave being 2 meters apart, the paths 29 and 30, which are separated at most by 10 millimeters and representing a phase error in the sonic wave of only two degrees, are practically co-incident. Even though displaced, the two parts of the sampling beam may properly be represented by a single narrow line, not treated as introducing any significant error into the phase detection process.
In the optical acoustic sensor so far described with relation to Figure 1 continuous wave (CW) laser operation is intended, and this is facilitated by displacing the outgoing from the incoming beams on the surface of the lens 15 so as to permit separation of the light in the processor. In the processor, the optical output of the Bragg modulator 12 goes through one portion of the lens 15 and the return beam enters through another portion of the lens 15 where it is intercepted by the beam splitter 17. The displacement of the beams permits the acoustic sensor to form the heterodyne continuously, without being pulsed.
The optimum orientation of the beam path to the acoustic wavefront for maximum sensitivity is the tangential relationship illustrated in Figure 1. It is assumed that the object is sufficiently close that the wavefronts 28 are curved, although tangential at some point along the sampling beam. Thus the sampling beam, which travels in a linear path across the curved acoustic wavefront, will be exposed at a substantial portion of the beam path to a acoustic wave in the same condition of compression or rarifaction. The result of exposure to the condition of a maximum compression is the production of a maximum integrated index of refraction, which results in a maximum amount of phase shift of the light beam. Similarly at some time earlier or later, the sampling beam will be similarly exposed to a fluid under the same minimum compression. Exposure to this condition produces a minimum integrated index of refraction, which results in a minimum amount of phase shift of the light beam.
The optimum orientation of the beam path for maximum sensitivity to a near-field source of acoustic waves is with beam path and wavefronts tangential. In principle, greater absolute sensitivity may exist in a far-field relationship in which the wavefronts are straight lines, impinging exactly parallel to the beam path. The effect of curvature of the wavefront results in a loss in sensitivity in that only a short segment of the beam path, wavelength dependent, and in the first Fresnel zone, is effective and uncancelled. This loss in absolute sensitivity is less than the increase in power density as the source approaches the beam path, and thus the detected signal level will increase as the reciprocal of the first power of the distance. In addition, the sound source need not be in the optimum azimuthal position orthogonal to the beam path at the center of the beam path. Sensitivity falls off only when the point of orthogonality between the optical beam and the acoustic beam comes close to the end of the optical beam. After this, the sensitivity falls off as the acoustic source is no longer orthogonal anywhere to the sampling beam path, and then the fall-off is gradual and wavelength dependent. As will be shown, the photon-noise-limited sensitivity is very good, so that if there is a reasonable (uncancelled) component of the acoustic wavefront in the sampling beam path, a substantial signal may usually be obtained.
The reflector 16 is arranged in the air in the acoustic field. It is arranged in the path of the sampling beam at a fixed distance from the lens aperture combination with an orientation set to reflect the sampling beam back almost upon itself, to the lens aperture. For efficiency, the reflector 16 may be a specular mirror, and in practice, if specular, it must be a retro-reflector, which can return the reflected beam to a position which must be exact to less than the beam width for super position with the reference beam. This accuracy is required since the reference and sampling beams must be superimposed at the photodetector. If the distances are small and the available power adequate, a non-specular reflective surface which reflects some fraction of the beam back for imaging on the photodetector surface may also be employed.
The phase modulation is recovered by the optical detector 23 at which the sampling and reference beams are coherently combined to form the phase modulated electrical heterodyne signal. Here the basic double-heterodyne approach of using a plus 40.1 MHz and a plus 40 MHz Bragg modulator produces a 100 kHz carrier at the photodetector output. The acoustic wave induced phase modulation of the light beam appears as a modulation upon this carrier.
The optical acoustic sensor, which includes the amplifier 24 and filter 25 following the photodetector, is completed by a phase detector 26 coupled to the output of the optical detector. The phase detector 26 produces an electrical signal which is responsive to and replicates the acoustic waves in the acoustic field. The electrical signal, while relatively low in frequency since it corresponds to the frequencies of the acoustic waves, may be seen to contain both the instantaneous amplitude of the wave and as the amplitude is being received as a function of time, the phase of the wave. Thus the optical acoustic sensor element is adaptable for use as an element of an array of like devices, should one desire greater sensitivity and greater accuracy in determining the azimuthal position of a remote source of sound.
Figure 2 is a perspective view of an optical acoustic sensor mounted upon a vehicle for optically sensing remote airborne acoustic waves, as for instance conversations, the sensor utilizing a non-specular optical reflector to return the laser beam back to the sensor.
Referring now to Figure 2, the laser transmitter/receiver is housed in an enclosure 41 on the roof of the van seen in the foreground of the picture. Conversations are presumably taking place between the two standing individuals shown in the foreground and the acoustic waves 42 produced by the conversation are propagating across the picture to the right where they intersect the path of a laser beam shown at 43. The laser beam 43, which is initiated at the housing 41, continues through the open air to the right of the standing individuals, and is exposed there to the sonic waves 42 propagating across the path of the laser beam. The laser beam continues until it impinges on the masonry base 44 surrounding the fountain. The laser beam, upon impinging on the base 44, is in fact reflected in a number of directions, but the reflection of interest, is the backward reflection which returns a portion of the beam along essentially the same path 43, where it is intercepted at the enclosure 41 on the roof of the van.
A similar opportunity for detecting remote conversations is illustrated in relation to the seated couple in the background of the picture and to the right. A laser beam 45 is shown passing adjacent the seated individuals, where it encounters the sonic waves, depicted at 46, and then after impingement on the wall 47, some portion of the laser beam returns along essentially the same path that the beam followed originally.
Because of the non-specular nature of the reflection, the power level of the laser beam which is returned to the enclosure 41 is low. Accordingly, the transmitted laser power should be relatively high. The power level and direction of the laser beam should be selected so as to avoid injury. (The monitoring of the conversations must of course be in accordance with the laws affecting privacy.)
- Polytec Laser Vibrometer Board Photos & Notes #1 Collection of images found on the Internet.
- Polytec Laser Vibrometer Board Photos & Notes #2 Collection of images and notes from parts I own.
- Collection of Polytec GmbH Files (OFFSITE)
Project Codename: THOMASTHORNTON
THOMASTHORNTON Construction Notes
This is an experiment idea for a differential laser audio surveillance device based around an old North Carolina State University ECE480 project from Glen A.Williamson.
The main principle is the differential measurement of glass movement (acoustic vibration) across a small section of the glass pane.
This has the advantages of approximate equal leg length for temporal coherence; common-mode rejection of gross window movements, and some rejection of common-mode path disturbances.
This idea is to use two laser beams for path coherence and demodulating their difference for the target modulation. This should, in theory, cancel out loud common-mode (external) sounds, while amplifying vibrations on the target surface.
There is a differential measurement between the beams. This tends to cancel the common mode sound waves, especially in the lower frequencies; caused by wind, elevator noise, heating and air conditioning, etc. Of course the wider the spacing of the beams, the lower the frequency response.
If constructed properly, you should be able to hold this device in a steady hand and aim it at the target surface. Any large movements (or external sounds) will tend to cancel out due to the receiver only amplifying the difference between the two beams. It also doesn't require any focusing optics. You can make the spacing between the beam bender and the beam splitter variable to target a specific frequency range.
The only major change to the Williamson Labs project is the addition of a polarizing filter and quarter-wave plate in front of the laser diode. This forms an "optical isolator." Light transmitted from the laser diode is first vertically polarized, then passes through a quarter-wave plate causing it to become shifted 45° (circularly polarized). Any reflected light will also undergo another 45° shift, making the polarization horizontal, which is then blocked at the vertically-polarized filter. This prevents any reflected light from re-entering the laser diode which can cause mixing products or "mode hopping" where the laser diode instantaneously changes frequency, effecting the temporal coherence (phase) of the emitted beam and increasing noise.
Project Codename: FRANCISBROWN
This is an experiment idea for a microwave audio surveillance device based around a "Remote Heart Rate Measurement System" from Glen A.Williamson.
The system is based around a Gunnplexer with varactor modulation and a differential IF/amplifier output in an effort to overcome the variations in signal strength due to SWR nulls. These variations are caused by target position verses wavelength of the incident microwave energy. In order for this differential system to work properly, it is important that both channel's gains be equal. This is done using dual sample & hold circuits and variable gain amplifiers.
A simple voltage-to-frequency converter can be used to "upconvert" the (sub-sonic) frequencies of a person's heart beat or breathing to something a human can hear. This covert detection of sub-sonic frequencies can be handy for a "remote lie detector" or technical casings to determine if there are any security personal or staff around before entering a location.
- Intersil HA-2425 Sample & Hold Amplifier (Nat. Semi. LH0043, LF398)
- Intersil ICL8038 Precision Waveform Generator/Voltage Controlled Oscillator (Maxim MAX038)
- Philips NE572 Programmable Analog Compandor
- Designing With the 74LS123 Retriggerable Monostable Multivibrator
- Applications for Compandors SA570/571 AN174
- M/A-Com MA-87728 Varactor Controlled Oscillator Transceiver 10 GHz
- M/A-Com MA-87729 Varactor Controlled Oscillator Transceiver 24 GHz
- M/A-Com MA-7802-S Varactor Controlled Oscillator Transceiver 24 GHz (DigiKey)
- M/A-Com MA-87127 Varactor Tuned Gunnplexer 10 GHz
- Transmitter ATV 10 GHz
- Low-Cost Gunnplexer ATV
- Hamming It Up on 24 GHz... Using Police Radars
- Apparatus and Methods for Remote Detection of Physiological Changes U.S. Patent 8,378,879
- Systems and Methods for Remote Long Standoff Biometric Identification Using Microwave Cardiac Signals U.S. Patent Application 2012/0068819
- Doppler Radar Architectures and Signal Processing for Heart Rate Extraction
- Non-Contact Measurement of Heart and Respiration Rates with a Single-Chip Microwave Doppler Radar by Amy D. Droitcour.
- Microwave Radar Techniques and Dedicated Signal Processing for Vital Signs Measurement by Fatima Sekak
- Building a Radar Gun That Detects Both Velocity and Spin Rate of a Baseball Cool!
- Development of an EM-Based Lifeform Detector Research Contract No. N00014-82-C-0390, Project A-3273 (AD-A153 504)
- Development of an EM-Based Lifeform Monitor
- Non-Contact Vital Signs Monitor U.S. Patent 4,958,638
- HLK-LK6002 Heart Rate Detection Using a Hi-Link HLK-6002 (60 GHz) or HLK-LD8001 (80 GHz) radar module
- How to Hook an LD8001B Arduino Forum
- ZLYRR04 80 GHz Water Level Sensor
- ANDAR ADT3102
- Infineon 77 GHz Automotive Radar
- FCC ID: 2BK46SK-R800N 80 GHz level sensor
- STMicroelectronics 77 GHz Radar
- MR60BHA1 60GHz mmWave Module - Respiratory Heartbeat Detection
- AgilSense DF100 K-Band Doppler RF Transceiver Module Rev. 1.0 (DF300) (DF390) (DF800)
- Fujitsu FWM7RAZ01 Doppler Radar Sensor User's Guide Rev 1.6
- The Gunnplexer Cookbook by Robert M. Richardson (W4UCH)
- Micro-Doppler Characteristics of Radar Targets
- Doppler Radar Physiological Sensing
- Micro-Doppler Radar and Its Applications
- Radar Micro-Doppler Signatures: Processing and Applications
- Several components don't have values in Glen A.Williamson's schematic. A good starting point would be:
Cx = 0.01 µF low-leakage film Cy = 470 pF Ry = 10 kΩ R1g = 10 kΩ Rt = 1 kΩ Rb = 1 kΩ 74123 R&C = S&H Timing = 470 pF and 20 kΩ (approx. 14 ms?) NE572 Input Res = 100Ω (not really needed?) NE572 Output Cap = 1000 pF low-leakage film LF353 Diff. Amp = All 10 kΩ (use external amp for audio gain/headphones) OA-1 Unmark Cap = 1 µF OA-1 Unmark Res = 1 kΩ Fader Pot = 100 kΩ (maybe put a high-val resistor on the wiper output)
Project Codename: JERRYCONVERSE
JERRYCONVERSE Construction Notes
Utilize a thin plastic placard or sign (rigid, but flexible) with a retro-reflective surface and mounted with a slight air gap in the upper-corner of a window to couple the noise modulation.
When illuminated with a remote laser surveillance device, such as DAVIDSKOLAK, the demodulated output signal will be strong reproduction of the noise source.
Because many audio masking devices utilize a common noise source, when recorded, this noise signal can be "subtracted" from a technical intercept from other devices (microwave, laser, RF, hardwire, etc.) to extract the desired target modulation.
Additional information provided by James M. Atkinson on his TSCM-L mailing list:
The patent is nothing special, and this "special" method of eavesdropping has been around for a number of years, and certainly before the early to mid 70's.
In fact the 2010A Doppler Stethoscope made by Marty Kaiser was an excellent example of this, and you could retrieve extremely clear audio by using it and bouncing the 10 GHz signal off the metallic content of a certificate or even a piece of paper hanging on the wall. The key was to find something in the room that with light enough to move with room vibration such as curtains, paper, pictures, etc, and then to "illuminate" it with signal that had a wavelength that was six times or more the thickness of the thing that was moving.
In practical usage a diploma, or certificate hanging on an executives wall could be turned into an excellent eavesdropping device, so could a few sheet of paper left laying on a table... anything that was light enough to move or vibrate with room air. A glass vase with a thin wall also works, and does lamps and other fixtures that are not a heavy solid mass.
A low frequency can be used, but you will start developing less than desirable results with low frequencies, but will receive better results with frequencies even higher that 10 GHz. Above 33 GHz you can actually start using the water in the air as the microphone, and you will have profound success with doing this when you get over 50-60 GHz.
At 10 GHz you only need a few mW of power to do this successfully from a few feet away, and 100 mW can get an eavesdropper a fairly respectable distance from the target. Some police radar guns will also let you do this with with minor mod where you simply point the radar gun and use it like a highly directional microphone that can shoot through walls. Prison escape teams have been using these for years to listen for escapees in the woods, or hiding in corn fields without actually entering the woods.
One of the more humorous eavesdropping vulnerabilities on Embassy Row in Washington, DC are the X-Band alarm sensors all the Embassies install in their more sensitive rooms, but which they neglect to turn off during sensitive/classified discussions their diplomats are having. An eavesdropping can simply tune in the frequency of the X-Band (or K-Band) alarm sensor and listen in to classified discussions. Even when they turn these sensors off during meetings, there is still enough loose items on the walls to provide a wealth of vibrating surfaces that a microwave signal can bounce off of.
With this is mind the TSCM specialist needs to always search for any signal with could be a source of illumination, and pay extremely close attention to any signal present in the area being inspected, but which may of may not be originating within the area being inspected, but which may provide a reflection of an external signal above a dangerous threshold. An example of this is building D of the Georgetown University Hospital complex which is only a short distance South of a diplomatic facility. Merely being near and above a nearby diplomatic facility isn't the biggest problem by itself, but because this diplomatic location is saturated with RF energy between 10 and 15 GHz it becomes extraordinarily easy for an eavesdropper to listen in to diplomats talking about classified matters. While the GUMC is not the optimal location for a listening post the mechanical room on the roof provides a cozy place for diplomatic mischief of an electronic variety. Let's not even talk about the "special species of trees" that grow in the parkway to the North of the facility, or the rather large "burrowing creatures" just to the east.
Don't start getting spun up about acoustic masking either, because it is not going to be of much value as it is generally only effective against solid masses of building materials, and not light weight pieces of paper of metal hung on a wall. Transducers mounted on glass may make the glass in the window vibrate, but it is not going to do much to that photograph which is mounted on the wall on the other side of the room.
The higher the frequency used for illumination the more dangerous this situation becomes, and when the eavesdropper can gain the high ground near the target he owns the facility on which he is running the technical surveillance. Frequencies used for local non-hostile microwave communications and satellite uplinks can be exploited as the illumination signal, so all the eavesdropper has to do is focus one antenna on the source of the illumination signal, and a second on the target, and then dial-up a delay and phase correction.
If you want to hear an earful of classified information leaking out of the Chancery, then spend some time on the roof of building D at GUMC with your dish pointed a little to the North to hear about the which wine goes best with fish between discussions on diplomatic maneuvering. ;-)
Project Codename: JAMESLENAU
An experimental idea utilizing a passive microwave radiometer to detect the natural millimeter-wave radiation emitted from the human body. This radiation is "modulated" by the body's internal noises (heartbeat, blood flow, farts, etc.), including "voicebox" audio. Detecting even higher millimeter waves allows for near pin-point accuracy, while the lower millimeter-wave frequencies will actually pass through walls or other solid barriers.
These millimeter waves, as you can imagine, are absorbed by the atmosphere making them very weak. This requires low-noise amplifiers/oscillators and highly directional antennas to minimize any additional noise caused by external signals. Mixing to a lower IF frequency is often used, mostly for cost convenience (and frequency selectivity) reasons. It is possible to just utilize a 95 GHz horn antenna, LNA, and diode detector feeding a audio amplifier stage for minimum size requirements.
For an even lower cost device, you can utilize a thermal radiation sensor (like in a non-contact thermometer), but these tend to be fairly slow in frequency response, usually less than 10 Hz.
Some good technical subjects to study for real-world operation of these devices are the Passive Millimeter-Wave Scanner security systems used at airports and other high-security places, and Cosmic Background Radiation sensors used by scientists.
Couple this with high-speed video of the target passed through an AI-based lip reading service for maximum error correction.
- Microwave Remote Sensing: Active and Passive - Vol. 1 Fundamentals and Radiometry
- Microwave Remote Sensing: Active and Passive - Vol. 2 Radar Remote Sensing and Surface Scattering and Emission Theory
- Microwave Remote Sensing: Active and Passive - Vol. 3 From Theory to Application
- Microwave and Millimeter-Wave Remote Sensing for Security Applications
- Introduction to Microwave Remote Sensing
- A Novel Passive Millimeter Imager for Broad-Area Search Final Report on Project PL09-NPMI-PD07 (PNNL-55180)
- Microwaves in Fire Detection
Project Codename: CURTISGRAVES
CURTISGRAVES Construction Notes
Simple audio (AM) retro-reflector using a waveguide-mounted diode.
You'll need to adjust the audio level input to the diode, or even add a bit of DC bias, for the best return signal. Since most microwave mixer diodes are anode-grounded, the DC bias voltage will need to be negative.
By utilizing a dynamic microphone (or speaker) with a high-ratio step-up transformer, it's possible to have a totally passive audio retro-reflector. No external DC power!
You can salvage very small electret microphones and amplifiers which run off 1.5 V button cell batteries from old hearing aids.
You can also used these devices to align dish antenna hardware and determine beamwidth or sidelobes. You inject them with a 1000 Hz audio tone and mount them some distance in front of the dish. This is very handy for determining the proper focal point when mounting your feed horn on a dish antenna.
You don't have to use an illumination frequency equal to what the horn/mixer assembly was designed for. You can use a 2 GHz illumination on a 10 GHz horn and it will still work surprisingly well. This allows for using physically small high-frequency horns and lower-frequency RF illumination to defeat shielding.
- More Microwave Test Equipment for 10 GHz by C. L. Houghton (WB6IGP)
- A Simple Signal Generator A 3 cm frequency marker using 1N23 diode, by Simone Terrando (IW1FYV)
- A Simple 10 GHZ WBFM RTX by Simone Terrando (IW1FYV)
- Counter-Detection System U.S. Patent 3,257,659
- Electromagnetic Transmission Through Dielectric Sheets by Jack H. Richmond
- Modulation Measurements for Microwave Mixers National Bureau of Standards, Special Publication 400-16
- Characterization of Microwave Silicon Mixer Diodes
- NERA VR-2 VR-2 or VR-2/B is a microwave receiver for a passive covert listening device (bug), developed around 1963 by NERA in Bergen (Norway) for use by NATO.
- EASYCHAIR CIA's program for passive covert listening devices.
Microphone Notes
- High-Performance, Low-Noise Studio Microphone with MEMS Microphones, Analog Beamforming, and Power Management
- Building an Acoustic Phased Array
- An Introduction to Beamforming with MEMS Microphones
- Design of Low-Voltage, Low-Power Analog Integrated Circuits for Hearing Aids
- Microphone Array Beamforming InvenSense AN-1140
- 555 Timer Low-Voltage Operation Useful for sub-carrier oscillators.
- Single Transistor Amplifier Revisited - Part 1
- Single Transistor Amplifier Revisited - Part 2
- Single Transistor Amplifier Revisited - Part 3
- Single Transistor Amplifier Revisited - Part 4
- Low-Voltage Audio Amplifier
Project Codename: JOHNSPICHER
JOHNSPICHER Construction Notes
This is simple one-way repeater to extend the range of a listening device, or any other target input frequency.
It consists of a bandpass filter and low-noise amplifier for the intended frequency range.
The input antenna's polarization is matched to that of the listening device, while the output antenna is at an orthogonal polarization. That is, if the input is vertical (or right-hand circular) polarization, the output is horizontal (or left-hand circular) polarization. This 90° polarization creates isolation to prevent the system from "oscillating" by feeding its output back into its input.
Both input and output antennas should be separated by some type of metal shielding for additional isolation. Mounting them on either side of a metal plate or screen will work. Optionally, line the metal shield with an RF absorption material.
The low-noise amplifier can optionally be controlled with remote power switch and a RF bypass switch when power is off.
- Single Frequency Repeater U.S. Patent 7,346,311
Project Codename: JACKRAPER
This is an attempt to turn a salvaged Kustom Signals, Inc. ProLaser III Infrared LIDAR into a remote audio listening device.
Will it work? I don't know...
- ProLaser III Brochure
- ProLaser III Reference Manual (KPN 006-0605-00, Rev. 4)
- Pulsed Time-of-Flight Laser Range Finder Techniques for Fast, High Precision Measurement Applications Academic Dissertation to be presented with the assent of the Faculty of Technology, University of Oulu, by Ari Kilpelä
- Laser Radar for Precise Vehicle Velocity Measurement by Mohammad Sohrab Hossan Monsi
- Optical Through-the-Air Communications Handbook by David A. Johnson (Book is backwards for some reason)
Project Codename: DUANEMARGGRAF
A device which once cost the taxpayer's tens of thousands of dollars can now be made for about $100 in surplus parts.
A DUANEMARGGRAF fiber optic microphone consists of a long piece of fiber optic cable with a small non-metallic audio reflector and one end. The other end is connected to an infrared laser diode with an internal photodiode.
Since there are no exposed metallic (or electronic) components, the microphone is very difficult to detect with a metal detector or non-linear junction detector. However, if unshielded optical fiber is used, some leakage of the laser diode's transmission will be detectable. Also, the laser drive electronics will have a strong thermal signature.
The laser diode can be run CW or pulsed for lower-power consumption. Attached to the laser diode's photodiode is a simple transimpedance amplifier circuit feeding and standard audio amplifier and processing/filtering circuit.
Laser diodes with separate laser and photodiode connections (4-pin) are the best. A good starting point is the Mitsubishi FU-627SDF, which is a 1550 nm laser module already connected to a single-mode fiber pigtail.
- Optical Microphone from Corning Glass/E-Systems Review by James M. Atkinson
- Endoacustica Fiber Optic Audio Transmission System
- Fiber Optic Microphone
- PKI Optical Microphone
- PLACID Optical Fiber Microphone Makes high-quality microphones for a large range of frequencies.
- The Optical Microphone: Introduction of a New Technology by Otto Kroymann
- Hiding an Ear in Plain Sight: On the Practicality and Implications of Acoustic Eavesdropping with Telecom Fiber Optic Cables
- Optical Microphone With Vibrating Optical Element U.S. Patent 5,262,884
- Fiber Optic Cables Can Act as Listening Devices AI reconstructs conversations from 50 meters away.
Project Codename: LAWRENCEHAYDEN
LAWRENCEHAYDEN Construction Notes
Turn in simple X-band (10.5 GHz) motion detector module into an audio (or data) surveillance transmitter.
This project will use Microwave Solutions MDU1100 X-Band Doppler Motion Detector module. They are made in the U.K. and are of a little higher quality than the cheaper Doppler modules found on eBay.
Some models (MDU1100T) have a varactor input for proper DRO frequency modulation, but unfortunately those models are difficult to find.
Modulation via "DC bias" is very sensitive, about 2 MHz per volt or 200 kHz per 0.1 volt.
- ST Electronics MSAN-001 X-Band Microwave Motion Sensor Module Application Note
- ST Electronics HB100 X-band Microwave Sensor Module
- HB100 Microwave Module Manual
- HB100 Microwave Doppler Sensor by N5BRG
- Teardown Tuesday: HB100 Doppler Radar Module Join us as we crack open an HB100 Doppler radar module and delve into the mysteries of RF component design.
- HB100 Microwave Motion Sensor Interfacing Arduino
- Inexpensive, Easy to Build Microwave Transceiver - The DROplexer by Walter Clark
Project Codename: RICHARDKEENE
Utilize a Hittite (Analog Devices) HMC264 RF mixer evaluation board to convert frequencies from 19-32 GHz down to lower frequencies for easier analysis.
The HMC264 includes and onboard LO amplifier and frequency doubler. It uses a LO frequency range of 10-16 GHz and only requires a -4 dBm input.
The IF output frequency range is DC to 6 GHz. The HMC264 can also be used for upconverter applications.
The HMC264 can be used slightly above 32 GHz with a significant increase in conversion loss. Proper 2.29 mm SMA-K connectors (and 30+ GHz-rated coaxial cable or waveguide) should also be used in the RF input chain for minimum loss.
The good news, it's possible to convert a salvaged Ka-band Doppler speed radar for use as a RF downconverter above 32 GHz.
Project Codename: JOHNSMITH
Experimental audio implant which improves on the security of CURTISGRAVES implants by using a simple Direct-Sequence Spread Spectrum technique to mask the target audio from unauthorized interception.
On Bruce Schneier's blog, there was a really cool comment from a poster named Clive Robinson, who clearly used to design (use?) government-level surveillance devices:
Back in the 80's when I was designing and manufacturing surveillance equipment I designed a similar device but slightly more sophisticated (and yes reading Peter Wright's book started me thinking). I used a triangle wave signal generator running at the top end of the audio band, this went into one input of an op-amp comparator, the other was driven by the output of an electret mic - with built in amp - the output from the op-amp went into one input of an XOR gate the other was driven by a LFSR running at a chip rate of around 455 KHz the resulting output drove the gate of the FET switch.
I later changed the design such that I ditched the triangle wave generator and comparator using instead the audio signal to NBFM the chip clock. Thus using less components and getting better operational stability etc.
The advantage of this "poorman's" DSSS system was that even when illuminated and operating the bug hunters of the time could not find it and a spectrum analyser display would just show the CW carrier from the illuminator with a rather high noise floor...
It's based around the idea of using a standard microphone and amplifier circuit to FM modulate a crystal oscillator based Linear-Feedback Shift Register circuit. This LFSR circuit is configured to generate a "psuedorandom" digital signal which is applied to the IF port of a double-balanced mixer. The RF and LO ports of the mixer are coupled through a circulator to direct the incoming RF illumination signal to the LO port and the new "slightly frequency-modulated psuedorandom" output signal from the mixer's RF port.
The receiver detects this "slightly frequency-modulated psuedorandom" output signal and attempts to recover the implant's clock signal used to initially generate the psuedorandom digital signal. If everything correlates, a new signal is produced at the implant's clock frequency and we can tune into that using a standard FM recevier to listen to the target audio.
Unfortunately, I'm not really sure how to build most of it.
- Direct-Sequence Spread Spectrum System - Thesis by James P. Stephens
- DSSS / BPSK Clock Recovery with the Abracon ABFT
- Closer Look at a Direct-Sequence Spread Spectrum Signal
- Correlation for Direct-Sequence Spread Spectrum The design of a simple data extraction circuit, using serial acquisition in conjunction with a Delay-Lock tracking loop.
- Spectrum Shaping and its Application: Spread Spectrum Clock Generator and Circuits for Ultra Wideband
- Voice Link Over Spread Spectrum Radio - Part 1 Electronics World + Wireless World, September 1993
- Voice Link Over Spread Spectrum Radio - Part 2 Electronics World + Wireless World, October 1993
- CML FX609 CVSD Modulator/Demodulator
- Motorola MC3418 CVSD Modulator/Demodulator
- Motorola MC34115 CVSD Modulator/Demodulator
- CML Continuously Variable Slope Delta Modulation - A Tutorial
- Design of Continously Variable Slope Delta Modulation Communication Systems Motorola Application Note AN1544
- Spread Spectrum Link
- Spread Spectrum - Direct-Sequence by Daniel Kraus
- Spread Spectrum Transmitter/Receiver by Walery Maksymiuk
- The Synchronous Oscillator Designed by Vasil Uzunoglu
- 16 kbp Full-Duplex Spread Spectrum RF Data Link Spread Spectrum Scene, Oct-Mar 1993
- A GPS Data Receiver ARRL's 9th Computer Networking Conference, 1990
- Correlation, Correlation Receivers, Sliding Correlator's and the PLL Correlator by Dan Doberstein
- Sliding Correlatiors, Delay Based Descriminators, Processing Gain and their Application in a GPS Reciever by Dan Doberstein
- Audio Compressor by Lawrence Mayes Wireless World, July 1978
- The Philips' Dynamic Noise Limiter A simple, but clever, circuit useful for improving the sound from noisy sources.
- 9600 Baud Packet Radio Modem Design by James Miller (G3RUH)
Project Codename: CARLNYGREN
Experimental microwave interferometer operating at 35 GHz for the remote detection (non-contact) of human speech. Using a "dual heterodyne" setup cures some of the problems of mixer DC offset and oscillator 1/f flicker noise interfering with the received target signal. Also, the tunable second LO allows for elimination of potential "range nulls" by changing the overall frequency (wavelength) of the system.
There are basically two types of demodulation schemes: I'll call them EASY and HARD. EASY is just taking the raw output from the final mixer and amplifing and filtering it using standard audio op-amp techniques. HARD involves creating and using a proper I/Q demodulation scheme for phase detection.
"[Above] shows a block diagram of the novel radar speech sensor. The system is composed of oscillators, transmitters, a superheterodyne receiver, and baseband circuits. The voltage-controlled oscillator (VCO made of GaAs Gunn) operates at 34.5 GHz. It has a low phase noise, and a high frequency stability of 10 ppm. Here the frequency stability is the amount of frequency deviation from the assigned value over a specified period of time. The crystal oscillator (CO) generates a very stable sine signal of 1 GHz. The merging of VCO and CO signals produces a microwave signal of 35.5 GHz, with the beams being radiated by the transmitting antenna. The transmitting and receiving antennas are both parabolic, with a maximum antenna gain of 38.5 dB at 35.5 GHz and an estimated beam width of 9°.
The antenna can reduce interferences from other directions and produce higher directivity gains against other antennas. The superheterodyne receiver receives echo wave signals, including speech information through a low-noise amplifier (LNA). It uses the principle of frequency mixing or heterodyning to convert the received signal to a lower intermediate frequency, which can be more conveniently processed than the original carrier frequency, thereby reducing DC offsets and 1/f noise. The superheterodyne receiver, includes two mixers, oscillators (VCO and CO), and amplifiers (LNA and intermediate frequency amplifier (IFA)). Speech signals exported from the superheterodyne receiver are processed by the baseband circuits, which consist of a traditional preamplifier, a band-pass filter (BPF, frequency from 100 Hz to 5,000 Hz) and audio amplifiers."
- A Ka-Band Low Power Doppler Radar System for Remote Detection of Cardiopulmonary Motion
- A Novel Radar Sensor for the Non-Contact Detection of Speech Signals
- Technique and Device for Through-the-Wall Audio Surveillance U.S. Patent Application 2005/0220310 by William R. McGrath
- A Robust Voice Activity Detector Using an Acoustic Doppler Radar
- A New Method for Identifying the Life Parameters via Radar
- Contact-Free Measurement of Heart Rate Variability via a Microwave Sensor
- Homodyne Demodulation Scheme for Fiber Optic Sensors Using Phase Generated Carrier
- Arctangent Demodulation With DC Offset Compensation in Quadrature Doppler Radar Receiver Systems
- Remote Sensing of Heart Rate and Patterns of Respiration on a Stationary Subject Using 94 GHz Millimeter-Wave Interferometry
- Synthetic-Heterodyne Interferometric Demodulation
Notes / Links
- Radio Scanner Modifications and Information
- Microwave Radio Path Analysis This is the new one I made based around SPLAT! v2.0-alpha.
- Microwave Radio Path Analysis Notes
- Security for Microwave Links Risks and mitigations for point-to-point microwave.
- Low-Cost Construction Using Surplus Satellite TV LNBs Good source for cheap microwave LNAs.
- 10 GHz Transverter, Dish-Feed, & Instrumentation by K5TRA
- Digital Microwave Corp. (DMC) Parts List Digital Microwave Corp. (DMC/Stratex) manufactures short-haul links for the microwave frequencies.
- Wavelab ODU SP+ 23 GHz Radio Link by YO4HFU
- Harris Stratex - Eclipse ODU300 - 11 GHz by YO4HFU
- Eclipse 23 GHz XCVR High-Band by YO4HFU
- Using a Surplus 1 Watt TBQ-3018 VSAT Amplifier Module for 10 GHz Amateur Band Operation
- Using Surplus VSAT Power Amplifier Modules on 10 GHz
- Building a 10 GHz Band Ham Transciever from Hughes VSAT Hardware
- All Your Keyboards are Belong to Us! Remote keyboard data interception with Federico Lucifredi at DEFCON 33.
- Electromagnetic Information Extortion from Electronic Devices Using Interceptor and Its Countermeasure
- On the Issue of Assessing the PEMIN of Analog Low Frequency Scattering Fields (Russian)
- A Little About Vibration, Vibration Velocity, and Vibration Acceleration (Russian)
- Testing Laboratory on the Issue of Assessing the PEMIN of Digital Signals #1 (Russian)
- Testing Laboratory on the Issue of Assessing the PEMIN of Digital Signals #2 Covers hard and optical disks. (Russian)
- On the Issue of Assessing the PEMIN of Analog-Digital Signals (Russian)
- The Physical Nature of PEMIN as the Basis for the Formation of Information Leakage Channels (Russian)
- Eavesdropping Using "RF Imposition" Methods (Russian)
- A Feasibility Study of Radio Frequency Retroreflector Attack
- Screaming Channels: When Electromagnetic Side-Channels Meet Radio Transceivers Retrieve the full key from the AES-128 implementation in tinyAES at a distance of 10 meters.
- Passive Binary-Modulated Backscatter in Microwave Networks With Applications to RFID by Daniel Gregory Kuester
- A Low-Power Backscatter Modulation System Communicating Across Tens of Meters With Standards-Compliant Wi-Fi Transceivers
- Collection of Digital Receiver Technology PDFs The NSA's "DRTBOX" is also by Digital Receiver Technology, now a wholly-owned subsidiary of Boeing Corp. They are used to intercept and breakout (decrypt) cellphones for the ONEROOF tactical SIGINT audio collection system.
- Collection of Argon ST PDFs Makers of various SIGINT tools, including multi-spectral camera systems.
- Collection of Dynamic Sciences International PDF Files Makers of high quality EMI/TEMPEST/surveillance receivers.
- General Dynamics Model 700-70TCK Torus Multiple-Band Antenna
- There is an NSA/CIA Hybrid Agency That may explain Snowden's involvement in SIGINT and HUMINT, by Wayne Madsen
- Back Channels - With National Security Reporter Vernon Loeb March 2001
Washington, D.C.: Since the disclosure of the tunnel under the Russian Embassy there has been less coverage of the Special Collection Service angle of the Hanssen by the media. Do you think this "tunnel story" was deliberately leaked by the government to divert media attention from the Special Collection Service?
Vernon Loeb: I do not believe the tunnel story was deliberately leaked by the government. I think the government would much prefer that it had not come out. If the government had leaked the story, presumably the "government" would have been more forthcoming with me about the tunnel, which I can assure you, it was not. My conversations with current government officials about the tunnel ended very quickly, indeed. And I don't believe they're trying to deflect attention from the Special Collection Service. I mean, it is basically known that the Special Collection Service exists as a means of combining human spies and techies - a means of getting up close and personal to targets by fusing HUMINT and SIGINT. Hanssen can't compromise the Special Collection Service - it's an agency, or unit. He could, and probably did, compromise some of its operations. But I've seen nothing specific on such a compromise.
- Inside the Secret World of America's Top Eavesdropping Spies Officially, the Special Collection Service doesn't exist. Unofficially, its snoops travel the world intercepting private messages and cracking high-tech encryptions. (Mirror)
- Friendly Spies: How America's Allies Are Using Economic Espionage to Steal Our Secrets Offers an account, based on interviews with intelligence officials, of the economic espionage perpetrated by the United States' allies against the nation's businesses and government to gain a competitive edge in the world economy, by Peter Schweizer
- Body of Secrets: Anatomy of the Ultra-Secret National Security Agency by James Bamford
In fact, the combination of human and machine spies may, in the end, save both. According to senior intelligence officials, in 1978 a covert joint intelligence organization was formed, which marries the clandestine skills of the CIA with the technical capabilities of the NSA. The purpose of this Special Collection Service (SCS) is to put sophisticated eavesdropping equipment - from bugs to parabolic antennas - in difficult-to-reach places and to target key foreign communications personnel for recruitment.
The SCS, whose headship alternates between NSA and CIA officials, is an outgrowth of the CIA's former Division D, established in the early 1950s by William F. Friedman's first employee, Frank Rowlett. Worried about competition from the upstart NSA, Allen Dulles hired Rowlett away to set up a mini-NSA within the CIA. At the time, Rowlett was upset because AFSA/NSA Director Ralph Canine wanted him to switch jobs, going from chief of SIGINT to that of COMSEC, the codemaking side of the business. 'As it happened,' recalled fellow pioneer Abraham Sinkov, 'Rowlett was made quite unhappy by this suggestion; he wasn't very keen about moving over to COMSEC, and he transferred to the CIA.' (After about five years, Rowlett transferred back to the NSA.)
Today, the SCS is the successor to Division D. As encryption, fiber optics, the Internet, and other new technologies make life increasingly difficult for NSA's intercept operators and codebreakers, the SCS has greatly expanded and become increasingly important. Its goal, like that of television's old Impossible Missions Force, is to find unique ways around problems. 'Yesterday's code clerk is today's systems administrator,' said one very senior CIA official. The easiest way to acquire many secrets is to get into foreign databases, and the best way to do that is to recruit - by bribery or otherwise - the people who manage the systems. Also, by bribing someone to plant bugs in the keyboards or other vulnerable parts of a computer network, NSA can intercept messages before cryptographic software has a chance to scramble them.
The SCS is headquartered in a heavily protected compound of modern buildings on Springfield Road in Beltsville, Maryland, a few miles south of NSA. There, in what is known as the live room, the electronic environment of target cities is re-created in order to test which antennas and receivers would be best for covert interception. Elsewhere, bugs, receivers, and antennas are fabricated into everyday objects so they can be smuggled into foreign countries. 'Sometimes that's a very small antenna and you try to sneak it in,' said former CIA director Stansfield Turner. 'Sometimes the signal you're intercepting is very small, narrow, [of] limited range, and getting your antenna there is going to be very difficult. I mean, under Mr. Gorbachev's bed is hard to get to, for instance.'
While on occasion NSA or SCS has compromised a nation's entire communications system by bribing an engineer or telecommunications official, often much of the necessary eavesdropping can be done from special rooms in U.S. embassies. But in difficult countries, clandestine SCS agents must sometimes fly in disguised as businesspeople. An agent might bring into the target country a parabolic antenna disguised as an umbrella. A receiver and satellite transmitter may seem to be a simple radio and laptop computer. The SCS official will camouflage and plant the equipment in a remote site somewhere along the microwave's narrow beam - maybe in a tree in a wooded area, or in the attic of a rented farmhouse. The signals captured by the equipment will be remotely retransmitted to a geostationary SIGINT satellite, which will relay them to NSA. At other times, no other solution is possible except climbing a telephone pole and hard-wiring an eavesdropping device.
The SCS will also play a key role in what is probably the most profound change in the history of signals intelligence - the eventual switch from focusing on information 'in motion' to information 'at rest.' Since the first trans-Atlantic intercept station was erected on Gillin Farm in Houlton, Maine, just before the close of World War I, SIGINT has concentrated on intercepting signals as they travel through the air or space. But as technology makes that increasingly difficult and prohibitively expensive, the tendency, say senior intelligence officials, will be to turn instead to the vast quantity of information at rest - stored on computer databases, disks, and hard drives. This may be done either remotely, through cyberspace, or physically, by the SCS.
- The Puzzle Palace: Inside the National Security Agency, America's Most Secret Intelligence Organization by James Bamford
- The Shadow Factory: The Ultra-Secret NSA from 9/11 to the Eavesdropping on America by James Bamford
Although tapping into underground fiber-optic lines is much more difficult than tapping into a copper cable, the technique has been perfected by the NSA. For cables buried in foreign countries, the task of gaining access to them was given to a unique covert organization named the Special Collection Service (SCS), which combined the clandestine skills of the CIA with the technical capabilities of the NSA. Its purpose is to put sophisticated eavesdropping equipment - from bugs to parabolic antennas - in difficult-to-reach places. It also attempts to target for recruitment key foreign communications personnel, such as database managers, systems administrators, and IT specialists.
The position of SCS chief alternates between NSA and CIA officials. The service is headquartered in a heavily protected, three-hundred-acre compound consisting of three boxy low-rise buildings with an odd, circular park walled in between them. Located at 11600 Springfield Road in Laurel, Maryland, nine miles south of the NSA, the facility is disguised as a tree-lined corporate campus. In front is a sign with the letters 'CSSG' that seems not to have any meaning. Inside, in what is known as 'the live room,' the electronic environment of target cities is re-created in order to test which antennas and receivers would be best for covert interception. Elsewhere, bugs, receivers, and antennas are incorporated into everyday objects so they can be smuggled into foreign countries. 'Sometimes that's a very small antenna and you try to sneak it in,' said former CIA director Stansfield Turner. 'Sometimes the signal you're intercepting is very small, narrow, limited range, and getting your antenna there is going to be very difficult.'
While in some places the NSA or SCS has compromised a nation's entire communications system by bribing an engineer or telecommunications official, in others much of the necessary eavesdropping can be done from special rooms in U.S. embassies. But in difficult countries clandestine SCS agents must sometimes fly in disguised as businesspeople and covertly implant the necessary eavesdropping equipment. The person might bring into the target country a parabolic antenna disguised as an umbrella. A receiver and satellite transmitter may be made to appear as a simple radio and laptop computer. The SCS official would then camouflage and plant the equipment in a remote site somewhere along the microwave's narrow beam - maybe in a tree in a wooded area or in the attic of a rented farm house. The signals captured by the equipment would be remotely retransmitted to a geostationary SIGINT satellite, which would then relay them to the NSA.
In order to obtain access to fiber-optic cables in non-cooperative or hostile foreign countries, the SCS would trace the cable to a remote area and then dig a trench to get access to it. Then the person would place an advanced 'clip-on coupler' onto the cable. These commercially available devices, used to test fiber-optic systems, produce a microbend in the cable that allows a small amount of light to leak through the polymer cladding shell. The light can then be captured by a photon detector, a transducer that converts the photons into an electrical signal. This then connects to an optical/electrical converter that is plugged into a port on a laptop fitted with software allowing for remote control. Packed with super-long-life batteries, the entire system can be reburied with a camouflaged line running up a tree to an antenna disguised as branches. Signals from the bug can then be transmitted to an NSA satellite while remote-control instructions are broadcast back down to the computer. All of the equipment needed is commercially available.
- The Wizards of Langley: Inside The CIA's Directorate of Science and Technology by Jeffrey T. Richelson
Details of the merger of embassy intercept operations were worked out between Vice-Adm. Bobby Inman, who became NSA director in July 1977, and OSO chief Barry Kelly. It was agreed that the joint enterprise, to be called the Special Collection Service (SCS), would be initially headed by a CIA official who would serve a two-year term. The deputy director of the SCS would be selected from NSA, and an NSA official would become director after the CIA official completed his term. The director's job would continue to alternate between CIA and NSA officials, with the director's deputy succeeding him.
Things did not get off to a smooth start. Many in OSO were not happy with the formation of the SCS and didn't want to be part of a group that would be managed by an NSA official half the time. Appointed to be the first head of the new service was Roy Burks. From NSA, Bill Black, a senior operations official, was selected to serve as deputy. Neither man, Burks later recalled, was involved in the bitter fighting that preceded the merger, a factor that gave them a better chance to make the new arrangement work.
According to Burks, there were people on both sides who seemed to want to make things difficult. Among the obstacles SCS faced was getting the CIA to courier documents to its College Park headquarters, forcing Burks to send a cleared secretary. The CIA did not want to send material to College Park because NSA people, at that time, were not polygraphed. Only when NSA began routinely giving polygraphs to its employees did the CIA feel comfortable in sending classified documents to SCS headquarters.
But by the end of 1983, joint CIA-NSA Special Collection Elements would be present in about a third of U.S. embassies abroad. The teams, which might consist of only two or three people, produced excellent intelligence, particularly if the embassy was located on high ground or near the foreign or defense ministries or other key offices in the capital. The sites were particularly effective in East European capitals.
In spring 1995, U.S. officials met the flag-draped coffin of Gary C. Durrell at Maryland's Andrews Air Force Base. Durrell, a forty-four-year-old father of two, had died shortly before in Pakistan, the victim of terrorist gunfire. His death was another reminder that, for some, working for the Directorate of Science and Technology could be just as dangerous as working for the Directorate of Operations; Durrell had been in Pakistan as part of the Special Collection Service's Karachi element.
The SCS had continued to pay significant intelligence dividends during the Hineman and Hirsch years. SCS elements could be found in embassies in Moscow, Beijing, Buenos Aires, Santiago, Tel Aviv, Tegucigalpa, and another forty capitals. In Tegucigalpa, the SCS element monitored the police and military as well as the terrorist activities of some of the forces opposing the government. The Tel Aviv outpost intercepted Israeli military and national police communications - allowing the State Department to be informed about, among other things, police activities directed at the Palestinians. Undoubtedly, during the abortive attempt to oust Mikhail Gorbachev in August 1991, the Moscow embassy listening post intercepted whatever communications of the coup plotters, including the KGB chairman and Minister of Defense, could be snatched from the airwaves.
Other SCS missions involved a closer approach to the target. An SCS operation might involve eavesdropping from a van outside the window of a foreign ministry official - which might make it possible for an analyst to read every message being written in the official's office at the time it was being written. Another project allegedly involved capturing pigeons that roosted outside the Soviet embassy in Washington and attaching small microphones to them. After returning to their perch outside an open office window, they produced "incredibly good results," according to a former Canadian intelligence officer.
One operation involved bugging the Chinese ambassador to Washington, who frequently talked about sensitive matters while sitting on a bench in the embassy compound. SCS technicians developed a fiberglass "twig," which contained a listening device. It was tossed into the compound near the bench. SCS bugging operations also involved crystal objects, mugs, porcelain roses, dried floral arrangements, a small totem pole, as well as an icon of the Virgin Mary holding the baby Jesus painted on a one-inch-thick piece of wood. All were planted in offices or offered to diplomats as gifts.
One SCS officer arrived in Kabul toward the end of 1984 and spent several hours a day pretending to be a diplomat, meeting with Afghanis who wanted to travel to the United States, visiting the Foreign Ministry, and attending receptions. But he spent most of his time, usually in twelve-hour stretches, in a windowless suite of three small rooms protected by an electronic lock. One room was a lounge; another served as a storage area for the eavesdropping equipment. In the third room, electronic devices were piled up to the ceiling - creating a wall of knobs, buttons, tape recorders, and glowing oscilloscopes. Relying on a massive guide labeled TEXTA (for Technical Extracts from Traffic Analysis), the eavesdroppers could find what frequencies their targets employed.
The SCS officer monitored Afghan troops as well as the military airport tower, noting on three-by-five index cards aircraft types, arrival and departure times, and destinations. A copy of each teletype message sent by an Afghan government official appeared on a printer in the room. The SCS element in Kabul was able to provide coverage across the country. Included was a grisly intercept reporting that the Afghan resistance had peeled off the skin of a captured Soviet soldier while he was still alive. According to a former Reagan administration Middle East expert, "They were plugged in on Afghanistan... We were soaking up everything."
In Pakistan, Gary Durrell and his SCS colleagues were undoubtedly soaking up as much information as they could. Durrell was a native of Alliance, Ohio. As a member of the Air Force Security Service, the Air Force component of NSA, he worked at eavesdropping sites in Texas andi Italy. In 1977, he joined NSA, and spent the next eight years in England at the RAF Chicksands eavesdropping site - which intercepted both Soviet and West European communications. In 1987, he "resigned" from NSA, ostensibly to join the State Department. In fact, he joined the SCS, which by then had moved into its new headquarters in Beltsville, Maryland. The sign outside those headquarters indicated the site housed the State Department's "Communications Systems Support Group."
Before heading overseas, Durrell trained at a site in Maryland that had the appearance of a high-tech company. At the "Maryland Field Site," as it is referred to in unclassified documents, Durrell and his fellow trainees were instructed on the use of sophisticated listening equipment, some of the equipment no bigger than a briefcase and some stacked like the stereo equipment one might find in a living room. They were trained to do their eavesdropping from locked rooms inside embassies and consulates.
When he left the Maryland Field Site, Durrell had a cover story, foreign currency, and business cards, with the phone number of a notional boss who would vouch for him. Durrell had also studied photographic albums showing the landmarks and intersections in what was to be his new neighborhood, so as to eliminate the need to ask directions or otherwise call attention to himself. To further enhance his State Department cover, he memorized his purported travel route to the department's Foggy Bottom headquarters, including the bus route and closest Metro stop. He probably, as was usually the case, had also been formally appointed to the United States Foreign Service, with a certificate signed by President Reagan and his Secretary of State as proof.
In the first five years after joining the SCS, Durrell worked under State Department cover in Bangkok, Bombay, and Djibouti. His reports were sent via satellite to a complex of antennae adjacent to the Maryland Field Site. Inside the consulate in Karachi, Durrell spent four months intercepting communications concerning narcotics trafficking, terrorism, and nuclear proliferation.
That mission came to an end on March 8, 1995. As he was riding in a consulate van on his way to work, terrorists leaped from a stolen taxi and fired their AK-47 assault rifles at the van. Sixteen bullets ripped into the van, killing Durrell and a consulate secretary and wounding another employee. The attack may have been a response to the arrest in Pakistan of Ramzi Ahmed Yousef, who would be convicted in the 1993 bombing of the World Trade Center in New York.
- Dark Mirror: Edward Snowden and the American Surveillance State by Barton Gellman
On the last day of training, Snowden and his classmates ranked their preferences for a first assignment. Snowden wanted a war zone. After Iraq or Afghanistan, his first choices, he asked for Geneva as a fallback. He had heard it was technically challenging, a big station with complex network infrastructure in a city with more spies per capita than most. That is where the agency sent him in March 2007. His bright red diplomatic badge featured a head shot of the baby-faced twenty-three-year-old in a blue suit, maroon dress shirt, and striped club tie. As far as the outside world was concerned, Snowden was a diplomatic attaché in the U.S. mission to the U.N. Geneva headquarters, State Department employee number 64554. Inside the embassy, he worked in the top-floor Information Technology Center. Alongside the CIA commo shop, each in its own gated space, were the State Department's communications team and the Special Collection Service personnel who eavesdropped on local targets for the NSA. In written communications, Snowden signed as 'Dave M. Churchyard.' That precaution, adopted after the sacking of the Tehran embassy in 1979, made it harder to identify him as an intelligence employee if someone broke into the classified records.
- Permanent Record by Edward Snowden
In the summer of 2008, the city [Geneva] celebrated its annual Fêtes de Genéve, a giant carnival that culminates in fireworks. I remember sitting on the left bank of Lake Geneva with the local personnel of the SCS, or Special Collection Service, a joint CIA-NSA program responsible for installing and operating the special surveillance equipment that allows U.S. embassies to spy on foreign signals. These guys worked down the hall from my vault at the embassy, but they were older than I was, and their work was not just way above my pay grade but way beyond my abilities - they had access to NSA tools that I didn't even know existed. Still, we were friendly: I looked up to them, and they looked out for me.
As the fireworks exploded overhead, I was talking about the banker's case, lamenting the disaster it had been, when one of the guys turned to me and said, "Next time you meet someone, Ed, don't bother with the COs [case officers] - just give us his email address and we'll take care of it." I remember nodding somberly to this, though at the time I barely had a clue of the full implications of what that comment meant.
- SpyWorld: Inside the Canadian and American Intelligence Establishments by Mike Frost (LibGen Entry)
He wonders what his NSA buddies are up to in 1994, and about the latest developments at College Park, the secret American 'special-collection' operation that is alternately run by an NSA and a CIA appointee. He chuckles when he thinks that, even within NSA, most people don't even have a clue College Park exists. He does. He was there. Several times. When Frost resigned, the CIA was technically in charge. But Frost knew that it didn't matter who had the top job at College Park: NSA ran the show, with orders coming directly from the White House - when they didn't make them up themselves.
By this time, NSA had also let the PILGRIM people in on their top-secret College Park installation where the Americans would set up strategies and invent and build more advanced technology for the sole purpose of doing intercept operations at home and abroad. College Park was also equipped with what NSA calls 'the live room.' This is a special room with antennas running around the ceiling, where American engineers actually re-create and radiate at very low power the electronic environment of any world city where an operation is planned. In this case, Frost and the two operators from CSE who went down to College Park for four days were actually able to 'hear' Caracas.
College Park, in particular, was a fascinating place. First of all because, if you weren't actually brought there, you would never guess it was the center of the highest technological espionage operation in the U.S. - perhaps the world. It wasn't at all like NSA headquarters, which blazons its name on a highway street sign. College Park actually looks like a strip mall when you first reach it. It is located in a relatively sparsely populated area near Washington, D.C., not too far from Laurel, Maryland, where Frost always overnighted when going down to NSA.
The first time Mike Frost was driven to the secret NSA-CIA installation, he went in through a restaurant that was part of the 'strip mall.' 'We walked through the restaurant and then went through a door at the back,' he remembers. The second time he entered after going through a dry-cleaning store. In other words, not only did the American espionage agencies have their covert operations installations hidden there, but they also owned, operated and manned all the little dinky businesses in the fake shopping-center.
You couldn't get to College Park, especially as a visitor from a foreign country, if they didn't know exactly who you were. You had to be driven there by an NSA or a CIA agent. What really struck Frost was how well the installations were camouflaged. To a trained eye like his, there was absolutely nothing like antennas or radomes that could give it away. 'I'm sure the people living in the area didn't know what was going on in their own backyard.'
Once there, you couldn't help but be overwhelmed by the feeling that here lay the real power in the intelligence-gathering universe. The person who ran College Park had enormous clout. One of the telephones on his desk was a direct link to the White House. It was, in Frost's mind, at the very least at Chief-of-Staff level if not direct to the President himself. Patrick O'Brien, although he had to go back and forth between the NSA headquarters in Fort Meade and his real base of operations, was in a certain way more powerful than the official director of NSA himself, if only because when he wanted something done, he didn't have to go through the bureaucratic motions other people at NSA had to deal with. The same went for O'Brien's successor from the CIA, Charles Clark. The directorship of College Park alternates every four years between the two spy agencies. Just the fact that NSA and the CIA accept an alternating directorship and the sharing of equipment and human resources within one facility gives an idea of how truly powerful and effective the 'strip mall' is. In fact it may just be what makes American counter-espionage and covert operations work, because without it the two giants would probably be constantly involved in self-destructive turf warfare.
Frost's best description of College Park is 'organized bedlam.' It is not the usual sanatorium-clean atmosphere you would expect to find in a top-secret installation. Wires everywhere, jerry-rigged gizmos everywhere, computers all over the place, some people buzzing around in three-piece suits and others in jeans and T-shirts. You could tell this was where things actually got done - there was little protocol and a lot of action.
It is a difficult place for Frost to describe, because its entrails are a maze of corridors and rooms - many of which had signs on them prohibiting access. 'It's just a fantastic place. It's a series of little compartments, all working independently on various projects, all of them covert operations.' None of the signs on the doors gave away the purpose of the locked room or what was going on inside. It was also impossible to figure out how many people actually work there. Unlike NSA headquarters, it doesn't have a gigantic parking lot to give it away. And the faces Frost saw there, with the exception of the top-level officials, seemed to change a lot from one visit to the next. Several people travel back and forth between there and NSA's or the CIA's main installations. Many are agents, working out in the field, on the move all the time.
Finally there was, of course, the 'live room,' so crucial for the preparation of PILGRIM agents. As far as Frost knows, there was only one 'live room' at College Park. The room was about 30 feet square, but was full of various types of equipment NSA and CIA agents used around the world. It was the basic training ground for covert intercept operators. If NSA had a certain kind of equipment being used in Moscow or a different gadget in Bucharest, it was also there.
Another feature of College Park is that it is located within the 'no-fly zone' that prevents any aircraft from flying over the White House.
I was asking Patrick one day if they couldn't be spied on from an airplane or a helicopter. He said: 'Don't worry about it. They can't fly over this place; we're too close to the White House.' That, in Frost's mind, is one of the main reasons for the location of the ultra-secret site."
- Intelligence Collection by Robert M. Clark
Since the 1940s, a technique called radio frequency flooding of installations has been used for intelligence collection. The flooding signals usually operate in the microwave range and are used to collect information remotely, much as a radar senses its target. Flooding depends on the fact that objects, especially metal ones, vibrate slightly in response to audio in a room. A beam of microwave energy striking the metal object will be reflected from it with some weak modulation imposed by the audio vibrations. If the reflected energy can be collected and demodulated, conversations in the area can be monitored. Innocuous signals such as those emanating from a television or radio station can be used successfully to flood an installation.
Perhaps the best known instance of radio frequency flooding was that conducted by the Soviets against the U.S. Embassy in Moscow early in the Cold War. The Soviets presented the U.S. ambassador with the great seal of the United States, which he subsequently used as décor in his study. The Soviets had concealed a passive sound pickup device in the seal. During George F. Kennan's ambassadorship in 1952, a routine security check discovered that the seal contained a metal strip that would vibrate slightly in response to sounds within the room. The Soviets illuminated the Great Seal with a strong RF signal from a nearby location, and the metal strip radiated a return signal that was modulated by any sounds in the ambassador's office.
...
Microwave vibrometers have been used to collect communications intelligence (COMINT) for decades. The concept is to transmit a strong coherent EM signal at a nearby target (on the order of a few hundred meters away). The target then reradiates the signal, modulated by the slight vibrations (usually acoustic vibrations) that it experiences. The reradiated signal is then recovered by a receiver antenna and demodulated to recover the acoustic signal. This technique was introduced in Chapter 4 and described as RF flooding there. It has been used to recover audio, as it did in the story of the U.S. ambassador's great seal. Chapter 4 also described how lasers use the same technique to exploit audio vibrations from windows or similar fixtures within a building for COMINT purposes.
Vibrometry can also be used to obtain nonliteral information about a target, the target area, or activity in the area. Vibrometry is used for target identification, for example; it can identify the unique signature created by RF signals reflected from moving parts of a target. It can sense vibrations from the surface of a building or the ground above an underground facility to identify processes going on in the facility or machines that are operating in the facility. The acoustic signatures generated by machinery often uniquely identify the machine, and both the machine identity and its pattern of operation over time can provide valuable intelligence insights. Lasers can be used for many of the same purposes - for example, to detect machine noise or a helicopter blade's rotation rate. Laser radar vibrometry was used to identify a helicopter at 5-kilometer range in the 1980s.
- The Hacker's Handbook by Hugo Cornwall
For the hacker with some knowledge of computer hardware and general electronics, and who is prepared to mess about with circuit diagrams, a soldering iron and perhaps a voltmeter, logic probe or oscilloscope, still further possibilities open up. One of the most useful bits of kit consists of a small cheap radio receiver (MW/AM band), a microphone and a tape recorder. Radios in the vicinity of computers, modems and telephone lines can readily pick up the chirp chirp of digital communications without the need of carrying out a physical phone 'tap.'
Alternatively, an inductive loop with a small low-gain amplifier in the vicinity of a telephone or line will give you a recording you can analyse later at your leisure.
- Spy Dust by Antonio and Jonna Mendez
I told [Joe] Muldoon that the power lines and the heavy-duty air handlers on the roof made our team think that the Sanctum was on the second floor of the center compound building and that the device they were after would be secured inside it. The over-head imagery from CIA satellites should help us confirm that, although I had learned the KGB took every precaution to disguise the exact location of such sensitive equipment. The entry team was conducting an electromagnetic-emanations survey this afternoon, hoping to zero in on the electronic noise of their target area. The team still needed a ground-level reconnaissance of the target compound courtyard, and I'd be helping handle the technical end of that.
- Spycatcher by Peter Wright
[John] Taylor's laboratory was also busy working on a new modification to SF (Special Facilities), called CABMAN. It was designed to activate a telephone without even entering the premises by radiating the telephone with a powerful radio beam. It worked, but only over short distances.
...
But early in my career I encountered a man whose experience at the hands of British Intelligence suddenly stripped the veneer of national importance away from the whole business. It arose out of the work I had been doing for [Frederick] Brundrett's committee on resonance. I had spent a lot of time researching ways in which innocuous objects, like ashtrays or ornaments, could be modified to respond to sound waves when radiated with microwaves of a certain frequency. If a system could be perfected, it promised enormous advantages. The object itself would carry no transmitter or receiver, so detection would be virtually impossible. By 1956 we had successfully developed prototypes, and decided to attempt an operation against the Russian Embassy in London.
- The Spy in Moscow Station by Eric Haseltine
The Russians used Doppler principle and other radio frequency principles such as nonlinear mixing ("parasitic and parametric" phenomena, according to Russian-language texts) to detect minute motions - including those triggered by acoustic energy from voices - of small metallic objects inside buildings upon which they wished to spy. Robert M. Clark, writing in the 2011 unclassified book The Technical Collection of Intelligence, states:
"Since at least the 1960's, radio frequency [microwave] flooding of installation has been used for intelligence data collection. The flooding signals are used to collect data remotely, much as a radar senses its target. The flooding was directed at devices [with moving metallic parts] such as typewriters. Signals directed at the typewriters were modulated by the keystrokes [e.g., by Doppler shift as keys moved toward and away from the radar] and the modulated signals received by other antennas, thereby compromising the information typed."
Thus, after raising the possibility of Thing-like implants for voice recovery, [Charles] Gandy probably informed Ambassador [Gus] Hathaway and Jon that the KGB could be using microwaves to read messages as they were typed on typewriters or other text input devices, without any implant or bugs whatsoever!
Having worked at many embassies worldwide, Gandy knew that embassy SCIFs were often left open, despite claims by local intelligence officers that such lapses never happened.
A recent translation of an account of a former KGB officer who claimed to have surveilled the U.S. embassy in Moscow described other things that the Soviets picked up using what they call RF imposition or high-frequency pumping (what Clark earlier referred to as radio frequency flooding):
"I saw with my own eyes and heard with my ears the information [conversations] not only from the phone disconnected from the automatic telephone exchange, but also the doorbells, electromagnetic starters, electric meters - in short everything that has inside at least a hint of an oscillatory circuit. [Back-and-forth movements of typewriter arms are mechanical oscillators.] This was achieved with the help of high frequency pumping. The secret pumping device at the time was called 'area 69.'"
A modern Russian textbook used in introductory information security courses at the college level describes in more detail how RF imposition with microwaves can recover voice information from any device containing a nonlinear element such as a transistor: in other words, any modern piece of electronics, including telephones, televisions, stereo systems, scanners, printers, and computers.
"Extraction of information by high frequency imposition is achieved as a result of remote action [microwaves beamed at a target facility] by a high frequency [microwave] electromagnetic field or electrical signals on elements capable of modulating their information parameters [voice or data] by primary electrical or acoustic signals with voice information... More often, a non-linear element is used as a modulation element [source of voice or digital data] including in the telephone system. In this case high frequency imposition is provided by bringing a high frequency harmonic signal to the telephone apparatus... The principle of operation here is similar to the operation of a radio mixer."
In simpler terms, the phenomena described in the Russian textbooks means that when a microwave signal hits a nonlinear device such as any transistor or diode, it will cause that device to radiate multiple frequencies different from the microwave signal itself in a process called mixing. These new radio frequencies, in turn, increase and decrease in volume as a transistor or diode changes electrical conductivity with voice signals, or change current with data signals, so that a sensitive microwave receiver located nearby can pick up unintended radiation of voice or data signals.
Yes, weird and magical as it seems - according to Russian textbooks - whenever you talk around any piece of electronics, your voice slightly vibrates that device, allowing a sensitive microwave to pick up and decode your voice. A similar principle allows microwave sensors to read data being processed in digital electronics.
The KGB (as evidenced by many Russian-language TSCM textbooks) was well aware of the dangers of unintended RF transmissions of voice signals and therefore, like other intelligence organizations, routinely shielded electronics in sensitive areas capable of radiating such signals or placed them in electrically shielded rooms (SCIFs), or both.
Here is a translated excerpt from a modern Russian TSCM primer:
"Acoustic energy arising during a conversation can cause acoustic (mechanical) oscillations of electronic equipment elements, which leads to the appearance of electromagnetic radiation [unintended RF transmissions] or to its change under certain circumstances. The most sensitive elements of radio electronic equipment for acoustic influences are the inductors and capacitors of variable capacity, piezo and optical converters."
- Electronics in Crime - Part 2 From Electronics Today International, August 1974
RF Flooding: This method amounts to flooding the telephone with high level RF energy and retrieving the signal which has been modulated by the carbon microphone inside the telephone handset.
The high level RF energy goes through the hook-switches and the phone does not have to be modified. It is very difficult to use against multi-line sets and is usually used only against single line sets.
A surveillance receiver or a telephone analyser with a built-in RF detector can be used to spot this device but only whilst it is in use.
Ashby & Associates TSS-101 Telephone Compromise Protection System Magnetically-induced white noise generator.
- The NSA's Secret Spy Hub in Berlin
- Germany Calls in Britain's Ambassador to Demand Explanation Over 'Secret Berlin Listening Post'
- PRISM: The Beacon Frame - Speculative NSA Forensics Equipment (Shutdown!)
NSA Targeting Record
The 'F666E' refers to the SCS
'Ropi' is Responsible Office of Primary Interest
'Topi' is Target Office of Primary Interest- How NSA Targeted Chancellor Merkel's Mobile Phone
- Channel Four: Capenhurst Tower Channel Four news report on the mysterious Capenhurst Tower. Go inside a former GCHQ monitoring site. (Additional Info)
- The Traitor: The Case Against (((Jonathan Pollard))) "The men and women of the National Security Agency live in a world of chaotic bleeps, buzzes, and whistles, and talk to each other about frequencies, spectrums, modulation, and bandwidth - the stuff of Tom Clancy novels. They often deal with signals intelligence, or SIGINT, and their world is kept in order by an in-house manual known as the RASIN an acronym for RAdio SIgnal Notations. The manual, which is classified 'TOP SECRET/UMBRA,' fills ten volumes, is constantly updated, and lists the physical parameters of every known signal. Pollard took it all. 'It's the Bible,' one former communications-intelligence officer told me. 'It tells how we collect signals anywhere in the world.' The site, frequency, and significant features of Israeli communications - those that were known and targeted by the N.S.A. - were in the RASIN; so were all the known communications links used by the Soviet Union."
- Feds to Offer FBI 'Mole' Sing-or-Die Deal "At the most damaging end of the spectrum, investigators are worried that Hanssen compromised the Special Collection Service program, a joint operation of the CIA and National Security Agency. The 'black budget' - or top-secret - program oversees the bugging of overseas embassies and government installations, using the most exotic technologies available."
- A Most Unusual Collection Agency How the U.S. undid UNSCOM through its empire of electronic ears.
- Weapons of the Secret War "That delicate and dangerous task is the forte of an unacknowledged U.S. intelligence agency bearing the innocuous name of Special Collections Service (SCS). The agency, housed in Beltsville, MD., a short freeway ride from NSA headquarters, is jointly staffed by the NSA and the CIA. Operating under cover from U.S. embassies around the world, the agency is known for Mission: Impossible-style operations - most famously, hiding bugs on pigeons that perched on windowsills of the Soviet embassy in Washington, D.C."
- Spy Suspect May Have Revealed U.S. Bugging "An affidavit outlining the government's case against Hanssen asserts that he 'compromised an entire technical program of enormous value, expense and importance to the United States.' It suggests obliquely that Hanssen gave the Russians information about a 'new technique' developed by the NSA and described to them a 'sensitive office' where an NSA employee worked. Although the affidavit does not mention the Special Collection Service by name, intelligence experts outside the government said that these and other references point to the global eavesdropping operation."
- Special Collection Service - Beltsville Site, Maryland The Center for Land Use Interpretation
- NSA-CIA Special Collection Service - Bird's Eye (Mirror from 2002)
- CIA-NSA Special Collection Service Facility College Park, Maryland (Source)
- FAS Intelligence Resource Program: Special Collection Service Beltsville, MD
- Interception Capabilities 2000 "63. A joint NSA/CIA 'Special Collection Service' manufactures equipment and trains personnel for covert collection activities. One major device is a suitcase-sized computer processing system. ORATORY. ORATORY is in effect a miniaturised version of the Dictionary computers described in the next section, capable of selecting non-verbal communications of interest from a wide range of inputs, according to pre-programmed selection criteria. One major NSA supplier ('The IDEAS Operation') now offers micro-miniature digital receivers which can simultaneously process SIGINT data from 8 independent channels. This radio receiver is the size of a credit card. It fits in a standard laptop computer. IDEAS claim, reasonably, that their tiny card 'performs functions that would have taken a rack full of equipment not long ago.'"
- Barton Gellman Interview "Now what the CIA did not tell UNSCOM is that the people that they sent to install these radio relays were also covert operatives. And they rigged this equipment to have a second purpose. It's actually a joint operation of the CIA and the National Security Agency. They operate a service called the Special Collection Service, and it's quite skilled at building hidden antennae and covert listening devices. And these are quite large mass, these antennas, and they're spaced throughout the Iraqi countryside and they beam signals. They're like repeater stations used in commercial radio transmissions."
- NSA Hid Spy Equipment at Embassies, Consulates "A covert arm of the U.S. National Security Agency (NSA) called the Special Collection Service (SCS) has been installing secret signals intelligence equipment within diplomatic buildings to spy while abroad."
- Tapping President Trumps Wires - A Spy Hunters Perspective
Another variable in this morass of political mischief is that there are several government entities whose mere existence is supposed to be classified. For example, there is an entity in the D.C. area, which is reputed to perform high level political burglaries, bugging and eavesdropping. This entity is a fusion between the NSA and CIA called the Specialized Collection Service or SCS in Beltsville, Maryland.
In the past this entity was reputed to have bugged Presidential candidates, merely because they were ordered to do so by the incumbent President. As an amusing aside, the employees of this entity are career intelligence officers and technicians. When provided liberal amounts of alcohol tongues wag. Many of them are very discontent in their positions and are "ETOH" vulnerable (ethanol alcohol), to say the least.
- The Unsettling Growth of Spying by Microwave by Ernest Volkman, July 197?
[XXXX] five years ago, a small [XXXX] of Army electronics intelligence experts set up shop in the [basement?] of the U.S. Embassy in [Moscow?]. In the process, they opened [XXXX] chapter in the espionage war [between] the United States and the [Soviet] Union that has led to a control-[XXXX] over whether U.S. domestic [communications] themselves are [XXXX from] outside snooping. [XXXX] named USM-2, the unit's [acronym] were so secret that only a few [American] officials were aware of [XXXX] it was doing. Basically, its [XXXX] was to utilize the newly [developed] are of intercepting communication signals, including telephone [XXXX] sent by microwave transmitters.
Around the clock, the Americans who were on loan to the National Security Agency, beamed their [monitoring] devices all of Moscow [hoping] to pick up top-secret [transmissions] by Kremlin leaders. [XXXX] early 1972, USM-2 struck pay [dirt]. By chance, American intelligence [XXXX] had discovered that the Kremlin leaders, as they rode to the [offices] in limousines, would discuss [XXXX] senstive matters over radio [telephones] in the cars, a communication system the Soviets considered secure from eavesdropping. But the Americans, beaming their monitors from the embassy, heard every word, intelligence that proved so valuable that it was sent directly to the White House under the code name VIPAR.
As with most such operations, it was only a matter of time before the Soviets figured out what was happening. And they reacted strongly, beaming heavy doses of radiation with microwave transmitters into the American Embassy to jam the monitoring devices. The beaming, which led to outbreaks of illness among U.S. diplomatic personnel was finally scaled down last year after strong protests from the White House.
- The Spy Among Us by Tad Szulc, Penthouse, July 1975
We discover there is literally no place within the United States safe from the illegal snooping of the CIA... One extraordinary example is the tiny laser beam transmitter embedded in the hall of the Oval Office at the White House. This transmitter picked up and relayed to a remote recording center every conversation between Richard M. Nixon and his aides, friends, and visitors during at least several months in 1970, the year the former president launched his secret intelligence program. Presidential telephone conversations, including those conducted over 'secure' scrambler lines, were also picked up by the laser transmitter...
The existence in the presidential office of this highly sophisticated device, known by the code name "Easy Chair," remains one of the most sensitive, closely guarded, and intriguing secrets of the Nixon period. This knowledge is restricted to about a dozen key past and present officials of the intelligence community. But the precise purpose of the operation, the exact identity of those who ordered the installation of the laser device under a coat of fresh paint on the Oval Office wall, and the ultimate disposition of the instrument remain unclear...
Highly reliable sources told Penthouse that one or more senior officials of the Secret Service and the Central Intelligence Agency are familiar with the "Easy Chair" situation in the White House, although they could not say whether they learned of it only when the laser device was discovered and removed early in August 1970, or whether they knew at some earlier date. The sources would not rule out that the late J. Edgar Hoover, then director of the Federal Bureau of Investigation, was also privy to "Easy Chair."
In any event, this super-bugging of the presidential office looms as one of the mast bizarre episodes in the still unfolding story of domestic spying carried out by six successive administrations, but climaxing most spectacularly during Nixon's tenure.
Penthouse learned of this bugging of the Oval Office as a result of a lengthy investigation. According to highly authoritative sources, the person who installed the laser transmitter, possibly on a second attempt when an original device did not function properly, is a foreign-born individual employed as a painter by the government and apparently controlled by one of the intelligence agencies. His name as well as a number of other relevant details are withheld from publication to avoid causing suffering and embarrassment to persons innocently involved in this operation.
- Big Brother is Listening by Ross Coulthart
- The National Security Agency: The Biggest Eavesdropper of Them All A Covert Action Information Bulletin Interview (December 1980)
Q. What kind of interception takes place at these points?
There are two kinds of interception operations. One would be a cooperative interception operation, where the communications common carrier, such as AT&T in the U.S. is cooperating with the intelligence operation. The other is the covert operation, where the communications common carrier is not cooperating with the intercepting agency. Many covert operations involve interception of microwave multi-channel telecommunications circuits by a hidden antenna - in fact two antennas, one aimed at teach link of microwave towers.
Microwave interception can be on terrestrial microwave circuits as well as microwave circuits passing from a satellite to an earth station. The technologies are essentially the same in both cases. Also, it is possible to intercept multiple communications circuits that are passing over a wire or coaxial cable, wherein microwaves are not involved. Sophisticated pickup loops are used in proximity to the cable to intercept bundles of communications as they pass over it.
- TEMPEST: A Signal Problem The story of the discovery of various compromising radiations from communications and COMSEC equipment, Cryptologic Spectrum, Vol. 2, No. 3, Summer 1972. The entire section under "Flooding" is censored. Hmmm...
- Re: The Tempest Surrounding Tempest [Debunking the Myth] by Rocco Rosano on James Atkinson's TSCM mailing list. This is a response to the August 10, 2000 "The Tempest Surrounding TEMPEST" article in Forbes.
The 30 year old RF flooding technique is an example of a one type Hi-Jack Operation. Not generally practices anymore, they are all variations of targeting a RED emanation with a very clean carrier. As the carrier passes through the target, an exploitable emanation modulates the carrier. Through an A-B subtraction (available on most S/As today) the RED signal is extracted. Again, the emanation (a TEMPEST issue) is the target; but, the Flooding carrier is a TSCM issue.
- A Photo History of the NSA, from Its Once-Secret Archives
- The Spies Next Door The top 10 Beltway intel centers hiding in plain sight.
One of the most secretive of the dozens of U.S. intelligence facilities in the Washington area is located about 16 miles northeast of Langley on the northern edge of the National Agriculture Research Center in Beltsville, Maryland. Here resides the headquarters of the joint CIA-National Security Agency (NSA) clandestine signals intelligence (SIGINT) unit called the Special Collection Service (SCS). Known colloquially by CIA and NSA SIGINTers as the "Maryland Field Site," the SCS is arguably one of the U.S. intelligence community's most important collection organizations, operating over 40 clandestine listening posts hidden away inside U.S. embassies and consulates throughout the world that have provided some of the best intelligence information available since the organization was created in 1979.
Located across the street from the campus of Capitol College, the 233-acre SCS complex is set well back from the road behind a heavily sensored perimeter fence. The complex consists of a multistory headquarters and operations building; a smaller two-story building containing the visitor control center, auditorium, and cafeteria; and a large warehouse and laboratory facility. The complex's four parking lots can hold approximately 400 to 450 cars at any time. The SCS headquarters are located next to the State Department's Beltsville Communications Center, which consists of two large parabolic satellite dishes. Satellite imagery from the 1990s shows that buried fiber optic cables linked the SCS headquarters complex with the Beltsville Communications Center, clearly indicating that the communications facility services the communications needs of the SCS next door.
- Revealed: Britain's 'Secret Listening Post in the Heart of Berlin'
- NSA Summaries by Christopher Parsons
- Lux Ex Umbra Monitoring Canadian signals intelligence (SIGINT) activities past and present.
- Tune In on Telephone Calls by Tom Kneitel (3rd Edition)
- Black Hills Information Security: Satellite Hacking
- Eavesdropping on Internal Networks via Unencrypted Satellites
- How GCHQ Prepares for Interception of Phone Calls From Satellite Links
- The Powerful Global Spy Alliance You Never Knew Existed Documents shine light on a secretive coalition that eavesdrops on communications in countries across the world.
- NSA & British GCHQ Hacked SIM Card Maker to Steal Encryption Keys to Spy on Billions of Cellphones
- 5 Myths About the National Security Agency
"Still, the agency does have men and women who work in the field. They belong to the NSA's Special Collection Service, a group of signals intelligence spies who work jointly with the CIA abroad to penetrate foreign communications networks.
Because the SCS is so secretive, what, precisely they do in the field is likely a moving target. When a hard drive needs to be stolen, that assignment is probably going to go to the CIA's National Clandestine Service. But things like plugging into embassies overseas, planting antennas to intercept communications, and using state-of-the-art technology in the field to acquire signals are almost certainly jobs for the SCS. Though techniques and procedures change, as of a few years ago, small teams called Special Collection Elements, made up of two-to-five members of the Special Collection Service and National Clandestine Service, rotated into foreign embassies and operated abroad under the guise of business persons.
- Listening for bin Laden
According to one story [John] Pike heard from his intelligence sources, American officials concluded there was one person at the compound who never ventured outside - presumably bin Laden. Pike described how he thinks agents might have reached that conclusion, saying it sounds like the work of the Special Collection Service, a joint NSA-CIA surveillance operation.
'I would do that by having a Special Collection Service team get an apartment a mile away and start shining laser beams on all the windows,' he said. 'The voice noise on the inside of the room is going to cause window glass to vibrate. A laser beam illuminates the window glass and detects the vibration.'
By analyzing the vibrations, he said, analysts could tease out the number of distinct voices. 'I can do voice identification to count how many people I'm listening to. If I count 22 people inside the building and 21 outside the building, I know I've got somebody who never goes outdoors.'"
- The SIGINT Satellites of Pine Gap: Conception, Development and in Orbit
- GRU "Close Access" Operation Against the OPCW Slides from a presentation the MIVD gave on its operation to disrupt a GRU operation in Holland against the Organisation for the Prohibition of Chemical Weapons (OPCW).
- Mirror of NSA Playset (www.nsaplayset.org) Mike Ossmann's awesome project to make open-source examples of the hardware & software tools found in the NSA's ANT catalog.
- CONGAFLOCK A general purpose FET based RF retroreflector. (Schematic)
- FLAMENCOFLOCK A retroreflector for PS/2 keyboard monitoring. (Schematic)
- RUMBAFLOCK A general purpose PIN diode based RF retroreflector. (Schematic)
- SALSAFLOCK A retroreflector for VGA monitoring. (Schematic)
- TANGOFLOCK A retroreflector for USB keyboard monitoring. (Schematic)
- DEFCON 22: Michael Ossmann - The NSA Playset: RF Retroreflectors (Slides)
- Black Hat 2015: Michael Ossmann - The NSA Playset: A Year of Toys And Tools
- Security Analyst Summit 2015: Joe FitzPatrick - Tools of the NSA Playset
- Darknet Diaries: Who Stole the NSA's Top Secret Hacking Tools? Ep. 53: Shadow Brokers (Notes)
- Exposing the NSA's Mass Surveillance of Americans VICE News
- ELVA-1 RVS-94 Microwave vibration sensor RVS-94 (94 GHz radar vibration sensor) is designed for non-contact vibration control of mechanisms and buildings. It is intended to measure vibro parameters at the conditions where it is difficult or impossible to do by traditional contact vibration sensors (so-called transducers), ultrasound or laser vibration sensors.
- Software Defined Toolkit A DIY radio reconnaissance device.
- Attack on a SIGINT Collector: The USS Liberty NSA's kosher version of events. (4.8M PDF)
- What really happened...
- The Man With the Israeli Accent USS Liberty survivor's life threatened by Mossad on American soil while Uncle Sam yawns.
- USS Liberty Memorial Mirror Archive of the old www.ussliberty.org website (including converted audio) which was easier to navigate.
- Collection of USS Liberty Memes/Vids/Info
- The Day Liberty Died (YouTube)
- Justice for Liberty
- USS Liberty Veterans Association
- The Men Killed in Israel's Attack on the USS Liberty
- USS Liberty Survivor Exposes What Really Happened Phil Tourney, Fight Back Podcast, Episode #10
- The Cover-Up of the Tragic USS Liberty Incident with Phillip F. Tourney Spycraft 101 Podcast, Episode #142
- The Not-So-Secret Life of Mathilde Krim
- Remember the Liberty! by Phillip F. Nelson (EPUB)
Millimeter Wave Links
- Philipp Prinz - DL2AM
- 122 GHz Transverter by OE2IGL
- From James Clerk Maxwell to Rectangular/Circular Waveguides and Cylindrical Cavity Filters by OE2IGL
- RF Test Lab Up to 20 GHz and Higher by OE2IGL
- 241 GHz - A New Challenge by Roger Ray (G8CUB) and Chris Whitmarsh (G0FDZ)
- 24 GHz Transverter Using DMC Microwave Components by F5DQK
- 95 GHz Instrumentation Radar Study by N. C. Currie, T. L. Lane, J. A. Scheer, E. F. Knott, and D. S. Ladd
- DECT (Phone) Interception Made Easy
- SigDigger A free digital signal analyzer for GNU/Linux and macOS, designed to extract information of unknown radio signals. It supports a variety of SDR devices through SoapySDR, and allows adjustable demodulation of FSK, PSK and ASK signals, decode analog video, analyze bursty signals and listen to analog voice channels (all in real time).
- RTL-ML: AI-Powered Radio Signal Classifier
- CUDA_spectrum GPU-accelerated spectrum analyzer. Reads interleaved float32 IQ samples from stdin, computes large FFTs on the GPU via cuFFT, outputs power spectrum to stdout and/or ZMQ. Built this for large FFT sizes and long integration times across saved datasets.
- SDR (Signals Intelligence) for Hackers: Capturing Aircraft Signals Airplanes constantly broadcast unencrypted ADS-B signals at 1090 MHz, see how we captured and interpreted that data with dump1090 and BladeRF.
- Mobile Hacking: How the Mexican Drug Cartels Built their Own Cellular Infrastructure to Avoid Surveillance
- SDR (Signals Intelligence) for Hackers: Building a Low-Cost, Private 4G LTE Network
- Automatic Signal Recognition With AI Machine Learning and RTL-SDR
- BrowSDR: Turn Your HackRF or RTL-SDR Into a Browser-Based Remote WebSDR
- HDD Firmware Hacking - Part 1 by Ryan Micell
SCS Related Video
- NSA Foreign Satellite (FORNSAT) Exploitation
- JUPITER/FARRAH SIGINT Collection Systems Really cool declassified pictures. (Additional Info)
- Watkins-Johnson WJ-8617B - Spook Radio of the 1980s
- Instruction Manual for Watkins-Johnson WJ-8618B VHF/UHF Receiver Includes schematics. (337M PDF)
- There's a Spy Plane Circling My Neighborhood by saveitforparts
- Is That Really a Government Spy Plane Over My Neighborhood? by saveitforparts
- Intercepting Satellite Data With Trash by Gabe Emerson - SecretCon 2025
- DIY Police Scanner With SDRs and Open-Source Software HOPE_16
CIA Documents Mentioning the SCS
- FY-80 Goals Program
- Transfer of Accountable Property From CIA to NSA
- SIGINT Operations
- Extracts from the Staff Meeting Minutes of 19 September 1979
- Staff Meeting Minutes of 7 March 1980
- Letter to the Honorable Edward P. Boland from John N. McMahon
- Report of Significant Activities During DCI's Absence
- Minutes of the 25 July 1985 CIA Occupational Safety and Health Committee
- SIS Pay
- Senior Training Courses
- Interagency SIGINT Agreement Noted by Stansfield Turner "In January of this year, the DCI, then George Bush, sent to you the interagency SIGINT agreement signed by the Director, NSA and the Deputy Director of Central Intelligence and approved by the Committee on Foreign Intelligence. This agreement provided a new policy framework for the closer integration and coordination of the CIA SIGINT Program with the National SIGINT Program planned and managed by the Director, NSA."
- American Cryptology During the Cold War, 1945-1989 The resulting CIA/NSA agreement was referred to as the "Peace Treaty."
NSA SIDtoday Articles Mentioning SCS
- SID and the Secret Service
- Generally Speaking: Back from the Front
- SID Support to SOUTHCOM - Update on U.S. Hostages
- NSA Support to NATO Summit
- InSIDer's View of History: 'Local Support' as Stress Management
- CIA's Directorates... Understanding More About Them
- InSIDer's View of History: The Adventure Continues - Evacuation from Belgrade
- SCS and Executive Protection
- Another Successful Olympics Story
- Doing SIGINT in Pakistan
- SCS Local Support Reporting to Evolve into 'First Instance' End Product Reporting
- SCS Site Foils Ambush on Coalition Convoy, Receives Praise from Task Force Commander
- A 'FIR-st' for SCS
- SID Mailbag - Intelligence Analysts at SCS Sites
- The Special Collection Service - Positioning for the Future
- From the SID Mailbag: When to Mark Things 'COMINT'
- Letter to the Editor: About Skype...
- Instant-Gratification SIGINT
- Temporary SCS Site Established for Presidential Visit to India
- SCS Baghdad Teams With Brits to Help Free Hostages
- Collaboration Tool is Used to Set Up a Collection at Distant Site
- Deployment of New System Improves Access to Iranian Communications
- Breakthrough: Previously 'Unfindable' Internet Cafes in Iraq Can Now Be Located
- Going on TDY to Help Protect a VIP
- The Wizards of OZ II: Looking Over the Shoulder of a Chinese C2C Operation
- SCS Mosul and Coalition Forces Team Up to Neutralize Major Insurgent Cell
- Improving Our Capability to Collect Against the Thuraya Satellite
- F6, NSA Texas, and Yakima Research Station Collaborate on Venezuela Survey
- What That a Mortar or a Grenade?
- The State of Covert Collection - An Interview with SCS Leaders - Part 1
- The State of Covert Collection - An Interview with SCS Leaders - Part 2
Schneier on Security
- DEITYBOUNCE: NSA Exploit of the Day
- RAGEMASTER: NSA Exploit of the Day
- FIREWALK: NSA Exploit of the Day
- COTTONMOUTH-III: NSA Exploit of the Day
- COTTONMOUTH-II: NSA Exploit of the Day
- COTTONMOUTH-I: NSA Exploit of the Day
- WATERWITCH: NSA Exploit of the Day
- TYPHON HX: NSA Exploit of the Day
- NEBULA: NSA Exploit of the Day
- GENESIS: NSA Exploit of the Day
- ENTOURAGE: NSA Exploit of the Day
- EBSR: NSA Exploit of the Day
- CYCLONE Hx9: NSA Exploit of the Day
- CROSSBEAM: NSA Exploit of the Day
- CANDYGRAM: NSA Exploit of the Day
- TOTEGHOSTLY 2.0: NSA Exploit of the Day
- TOTECHASER: NSA Exploit of the Day
- PICASSO: NSA Exploit of the Day
- MONKEYCALENDAR: NSA Exploit of the Day
- GOPHERSET: NSA Exploit of the Day
- DROPOUTJEEP: NSA Exploit of the Day
- SURLYSPAWN: NSA Exploit of the Day
- WISTFULTOLL: NSA Exploit of the Day
- TRINITY: NSA Exploit of the Day
- SWAP: NSA Exploit of the Day
- SOMBERKNAVE: NSA Exploit of the Day
- MAESTRO-II: NSA Exploit of the Day
- JUNIORMINT: NSA Exploit of the Day
- IRATEMONK: NSA Exploit of the Day
- HOWLERMONKEY: NSA Exploit of the Day
- GINSU: NSA Exploit of the Day
- TAWDRYYARD: NSA Exploit of the Day
- SPARROW II: NSA Exploit of the Day
- PHOTOANGLO: NSA Exploit of the Day
- NIGHTWATCH: NSA Exploit of the Day
- NIGHTSTAND: NSA Exploit of the Day
- LOUDAUTO: NSA Exploit of the Day
- CTX4000: NSA Exploit of the Day
- STUCCOMONTANA: NSA Exploit of the Day
- SIERRAMONTANA: NSA Exploit of the Day
- SCHOOLMONTANA: NSA Exploit of the Day
- HEADWATER: NSA Exploit of the Day
- SOUFFLETROUGH: NSA Exploit of the Day
- JETPLOW: NSA Exploit of the Day
- HALLUXWATER: NSA Exploit of the Day
- GOURMETTROUGH: NSA Exploit of the Day
- FEEDTROUGH: NSA Exploit of the Day
- IRONCHEF: NSA Exploit of the Day
- DEITYBOUNCE: NSA Exploit of the Day
Other Related GBPPR Projects
- GBPPR PHOTOANGLO Experiments
- Passive Resonant Cavity Technical Surveillance Devices
- GBPPR Interferometric Surveillance Device Experiments - Part 1
- GBPPR Interferometric Surveillance Device Experiments - Part 2
- van Eck-style Radiation Interception Experiments
- GBPPR Remote Telephone Surveillance Experiments
- Intercepting Older Digital Cordless Phones
- Doppler Stethoscope for E.O.D. Applications
- GBPPR Remote Respiration/Heart Beat Monitor Experiments
- GBPPR Homebrew Radar Experiments
- GBPPR Non-Linear Junction Detector
- GBPPR Drone Detection Technology
- GBPPR "Havana Syndrome" Experiments